7月24日,鸿博股份今日涨停,龙虎榜数据显示,上榜营业部席位全天成交4.85亿元,占当日总成交金额比例为20.12%。其中,买入金额为3.29亿元,卖出金额为1.55亿元,合计净买入1.74亿元。
具体来看,知名游资现身龙虎榜,章盟主(国泰君安证券上海江苏路证券营业部)、中泰证券湖北分公司分别买入6816.30万元、6043.67万元;深股通专用、东方财富证券拉萨东环路第一证券营业部分别卖出4062.57万元、3043.65万元。

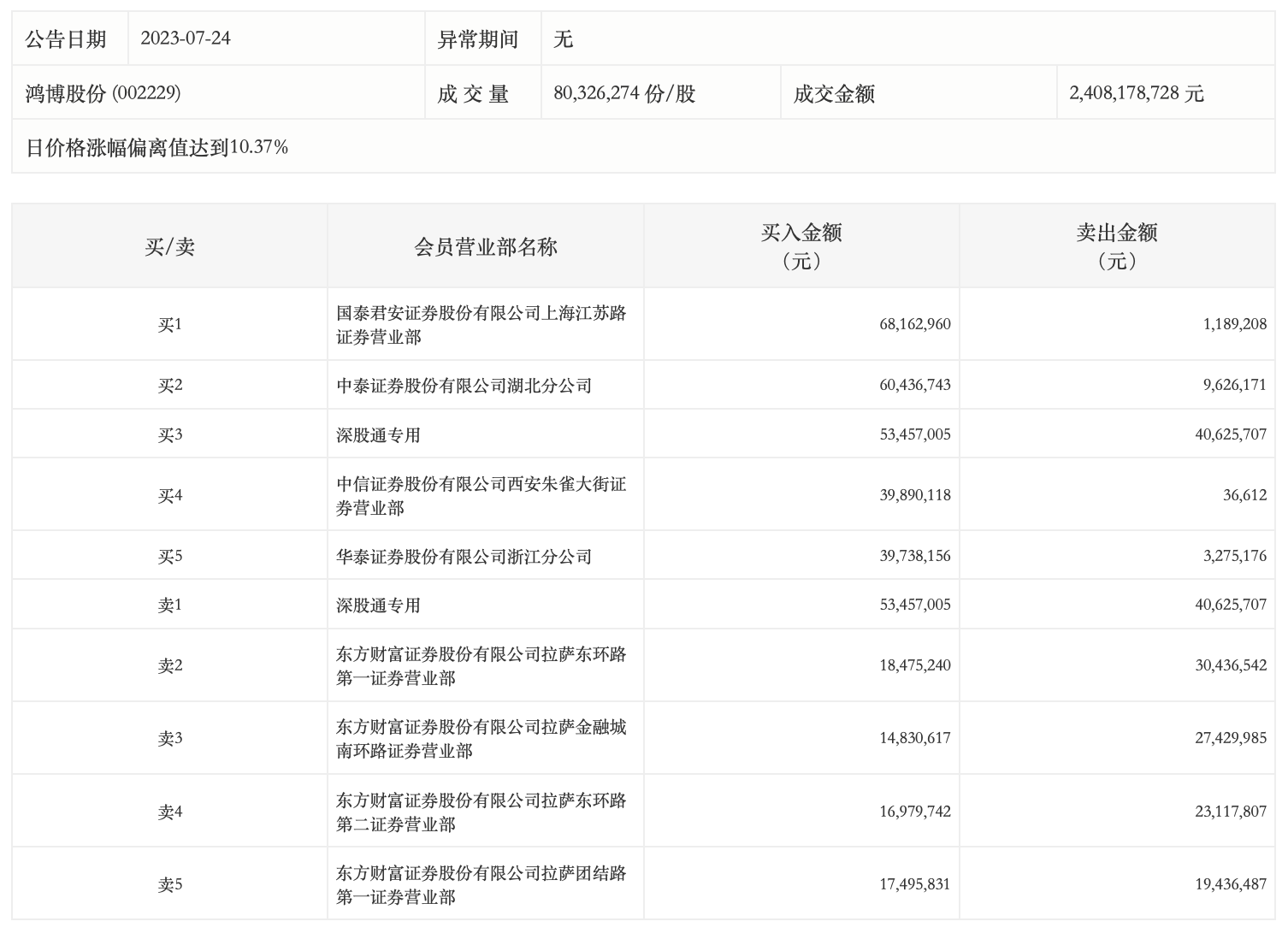
7月24日,鸿博股份今日涨停,龙虎榜数据显示,上榜营业部席位全天成交4.85亿元,占当日总成交金额比例为20.12%。其中,买入金额为3.29亿元,卖出金额为1.55亿元,合计净买入1.74亿元。
具体来看,知名游资现身龙虎榜,章盟主(国泰君安证券上海江苏路证券营业部)、中泰证券湖北分公司分别买入6816.30万元、6043.67万元;深股通专用、东方财富证券拉萨东环路第一证券营业部分别卖出4062.57万元、3043.65万元。

广告等商务合作,请点击这里
