界面新闻记者 |
一家智能锁头部企业要进军大热的保租房市场了。
近日,来自北京的智能锁企业鹿客科技(全称“鹿客科技(北京)股份有限公司”)在重庆发布了针对政府保障性住房(简称“保租房”)的智慧化解决方案——鹿客明智。
据鹿客科技CEO陈彬介绍,此方案是以智能门锁等物联网设备及智慧化解决方案为核心,连接企业、社区与居民,打造的租住运营网络。
保租房面向的主要群体是社会中低收入的住房困难家庭,有廉租住房、经济适用住房、公共租赁房、定向安置房等多个分类。其中,公共租赁房因不受户籍限制而受外来务工人员青睐。重庆作为四大直辖市之一,其公租房数量也一直位居前列。
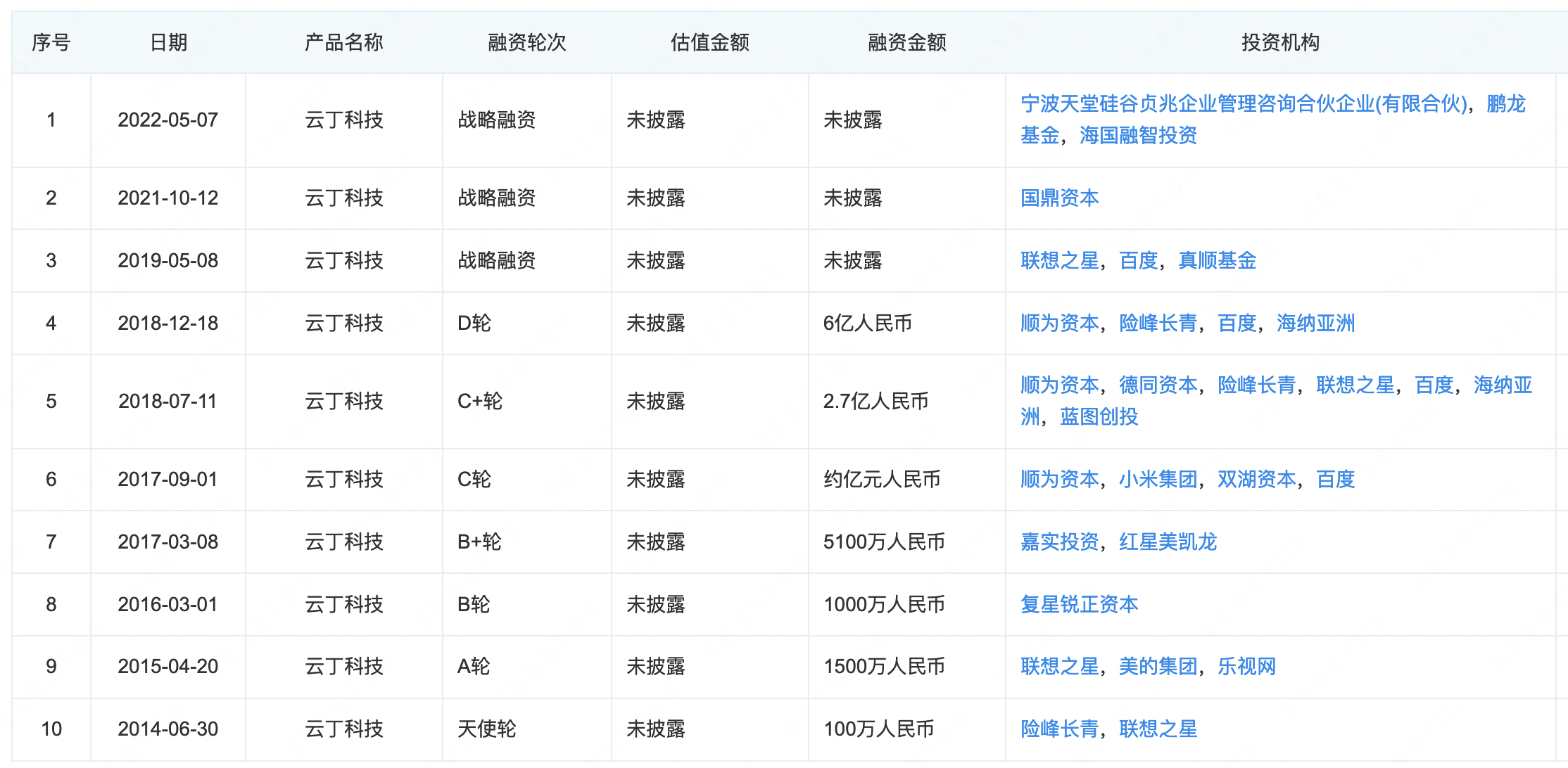
天眼查APP显示,鹿客科技成立于2014年,前身为云丁科技(全称“云丁网络技术(北京)有限公司”),注册资本为5109.38万元,目前已经完成了多轮融资。从目前透露的信息来看,融资金额已经超过10个亿,百度为第一大股东,持股比例为15.61%,第二大股东则为创始人陈彬,持股比例为11.93%。

从智能单品到整体方案的跨越
鹿客科技从创始之初就是冲着“智能门锁”这一细分市场,随后逐渐延伸至智能水表、智能电表等智能家居产品,再延伸至整体的智能安防系统以及方案服务商。
在智能家居的全产品系中,智能门锁作为入户的枢纽自然是重点组成部分,如今熟为人知的3D人脸技术、指静脉生物识别技术也均运用到智能门锁上。在此次鹿客发布的鹿客明智中,也有提到使用人脸门禁。
陈彬向界面家居介绍了鹿客明智中的两个具体应用场景。第一,围绕人脸识别方面,AI可以根据人脸画像调动摄像头分析行动轨迹,比如有个嫌疑犯进入小区,可以爬取他在小区的轨迹,“他在什么地方停留了多少秒,有没有做非法的动作。”
第二,系统可以自动巡更,“看每个点也没有发生特殊的异常情况,有没有需要报警。以前需要人去干,现在可以设置好规则和算法,通过AI自动去打开摄像头或者报警器。”
同时,在日常生活数据方面,智能水表、智能电表、智能门锁能实现联动,系统可以根据水电的使用情况来判断家中是否有人,是否存在安全隐患等等。
陈彬表示,要考虑到保租房有来自各方面不同角色的管理压力,需要充分考虑到社区的安全性问题。
鹿客科技在现场还与6家企业签署战略合作协议,分别是中国电信(601728.SH)子公司——天翼数字生活科技有限公司,国内智慧物联解决方案头部服务商——大华股份(002236.SZ),四川宜宾国资企业——宜宾三江投资建设集团有限公司,重庆铜梁国有企业——重庆绅鹏实业开发有限公司,以及建融住房服务(重庆)有限责任公司、江苏漫柏商业集团有限公司。
将成为第三个冲刺上市的智能锁企业
陈彬表示,鹿客在长租公寓的市场占有率已经超过50%,高峰时期能做到65%的占比。一家成立不到十年的新生企业,是怎么做到的?
根据创始人陈彬在社交平台上分享的内容,他本人为清华大学硕士研究生,2010年以前在日本索尼工作,回国后入职百度,在团队研发出百度网盘后离职创业,瞄准智能锁市场。
基于彼时国内智能家居市场正处于起步阶段,鹿客次年就拿到长租公寓自如的2500万元订单。陈彬表示,第一个自如的大订单并非是通过硬件产品拿到的,而是通过软件开发拿到的,“帮自如做一套IOT的软件,先用软件把它给绑定了,然后帮它实现门锁密码的增删改查。”
也是在创始之初,鹿客就获得了美的、联想之星、乐视网的A轮投资。随后在2017年至2019年这三年内,红星美凯龙、小米集团、百度相继投资。
从目前已公开的信息来看,鹿客的融资金额已经超过10个亿,但其注册资本仅超过5000万元,即大部分融资为溢价融资,也就是公司获得了大量资金,但原股东的股权又不会被过于稀释。
根据官网信息,直至今年4月,鹿客科技已经获得了E轮融资。一级市场中的F轮融资被称为“融资的尽头”,在资本市场的认知和预期中,企业宣布获F轮融资,就等同于开启上市进程。
目前鹿客手握超过10亿元,还差一轮就来到F轮融资。
鹿客方面向界面家居表示,目前公司有上市的计划,但不方便透露打算哪一年上市。
值得注意的是,凯迪仕、德施曼这两家智能锁品牌也相继在去年年末和今年年初进入IPO辅导期,计划发起上市冲刺。
从B端起家的鹿客,或许还需要在C端市场站稳脚跟,自有品牌的创建是接下来鹿客需要专攻的“功课”。
