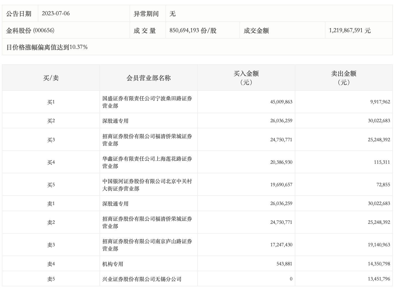
7月6日,金科股份今日涨停,龙虎榜数据显示,上榜营业部席位全天成交2.66亿元,占当日总成交金额比例为21.8%。其中,买入金额为1.54亿元,卖出金额为1.12亿元,合计净买入4134.5万元。
具体来看,机构买入54.39万元,卖出1435.08万元,合计净卖出1380.69万元。此外,知名游资现身龙虎榜,宁波桑田路(国盛证券宁波桑田路证券营业部)、深股通专用分别买入4500.99万元、2603.63万元;深股通专用、招商证券福清侨荣城证券营业部分别卖出3002.27万元、2524.84万元。

