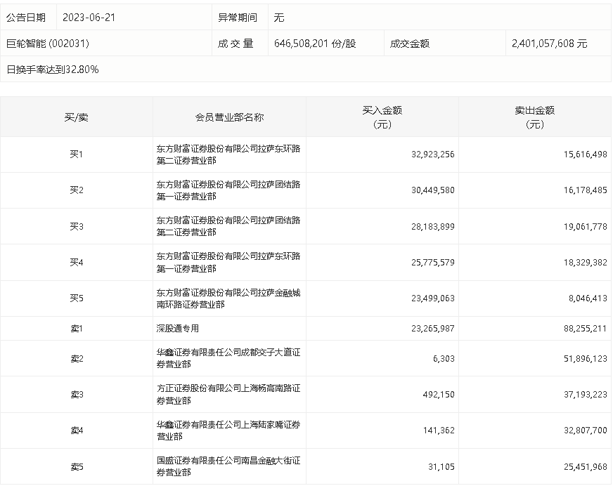
6月21日,巨轮智能今日涨3.38%,龙虎榜数据显示,上榜营业部席位全天成交4.78亿元,占当日总成交金额比例为19.89%。其中,买入金额为1.65亿元,卖出金额为3.13亿元,合计净卖出1.48亿元。
具体来看,东方财富证券拉萨东环路第二证券营业部、东方财富证券拉萨团结路第一证券营业部分别买入3292.33万元、3044.96万元;深股通专用、华鑫证券成都交子大道证券营业部分别卖出8825.52万元、5189.61万元。

6月21日,巨轮智能今日涨3.38%,龙虎榜数据显示,上榜营业部席位全天成交4.78亿元,占当日总成交金额比例为19.89%。其中,买入金额为1.65亿元,卖出金额为3.13亿元,合计净卖出1.48亿元。
具体来看,东方财富证券拉萨东环路第二证券营业部、东方财富证券拉萨团结路第一证券营业部分别买入3292.33万元、3044.96万元;深股通专用、华鑫证券成都交子大道证券营业部分别卖出8825.52万元、5189.61万元。

广告等商务合作,请点击这里
