文丨 游云庭(上海大邦律师事务所高级合伙人,知识产权律师。)
近日,苹果公司发布的混合现实头显设备 Vision Pro成为全球科技界瞩目的焦点,但有媒体称,Vision Pro在国内的商标已经被华为公司注册。那么苹果公司发布Vision Pro的行为是否侵犯华为商标权?研究了一下,发现很多很有意思的问题,今天就抛砖引玉,和大家聊聊。
一、华为的注册商标覆盖了苹果的新产品吗?
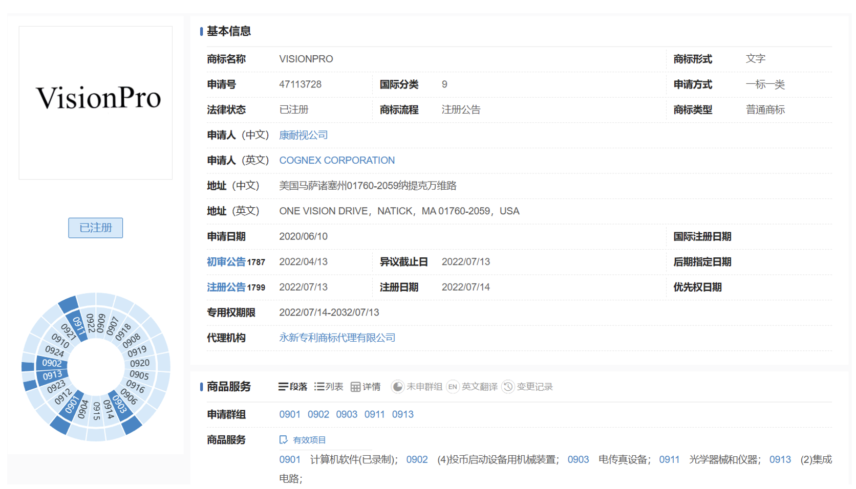
要构成商标侵权,首先你要有注册商标,然后别人的产品得落入你的保护范围才行,而苹果Vision Pro是个新产品,现有的商标局的《类似商品和服务区分类表》是不是已经涵盖了这个产品呢?笔者查询了申请人为华为公司的38242888号商标申请记录和公告记录,发现华为的商标申请中有很多内容被驳回了,大概只有一半获得了注册:
根据上图,华为的商标申请中和计算机相关的0901小类(主要是计算机软硬件产品)全军覆没,比如和Vision Pro相关度很高的产品,智能眼镜(数据处理)和穿戴式计算机,华为都没有获得商标注册。
查了下驳回的原因,原来0901小类的VisonPro已经被一家名为康耐视的美国公司注册了,这个公司笔者没有听说过,但初步判断不是苹果公司的白手套,因为如果苹果公司在幕后操纵申请,商标包含的产品内容应该至少会涉及智能眼镜、穿戴式计算机这样和苹果公司新产品高度关联的产品。

可能读者会问,如果苹果公司把康耐视公司的商标买下来,还有侵权问题吗?笔者认为风险还是无法排除,因为华为Vision Pro商标包含的0908小类下面的产品,很多还是和苹果公司的新产品有关联的,具体包括:视频监控器、头戴式虚拟现实装置,穿戴式视频显示器、便携式媒体放器、头戴式耳机等。这些产品的功能都是Vision Pro的重要组成部分,如果将来打官司,法院应该会认定苹果公司的新产品至少侵权头戴式虚拟现实装置,穿戴式视频显示器这两个项目。
二、苹果公司的Vision Pro还没上市,仅宣传是不是侵权华为商标权?
苹果公司在苹果全球开发者大会上宣布,Vision Pro产品将于2024年初在美国发售,然后在全球其他国家和地区发售。所以现在Vision Pro产品并没有生产和销售,苹果公司仅仅宣传这个产品的名称为Vision Pro,是不是侵权华为的商标权?
虽然产品没有公开销售,是否在中国销售也不明确,所以如果笔者是华为的律师,不会建议华为就此起诉苹果公司,但会建议他们向苹果公司发送一份律师函警告一下。理由如下:
首先,类似苹果公司开发布会在宣传中使用品牌,但产品没有上市的,这种情况在知识产权法上叫许诺销售,根据我国专利法规定,许诺销售也构成侵权,但我国商标法对许诺销售是否构成商标侵权并没有明确的规定,实践中从法院的判决和知识产权法官的观点来看,仍然将生产商的许诺销售行为认定为商标侵权行为。《商标法》也规定,将商标用于广告宣传、展览以及其他商业活动中,用于识别商品来源的行为也构成商标的使用,所以,苹果公司发布产品的宣传行为也属于商标使用,不能因为其产品没有上市就可以免责。
其次,目前苹果公司畅销的所有硬件产品几乎都在中国销售,Vision Pro产品作为一款定价高昂,定位高端的混合现实头显设备,几乎可以肯定在中国销售。而且苹果公司的中国官网和公众号也推送了在苹果全球开发者大会发布Vision Pro产品的直播链接,所以华为有理由相信苹果公司可能会在国内销售该产品。但鉴于其尚未上市,起诉商标侵权有点劳师动众,发个律师函警告一下比打官司更合理。
三、如果华为等苹果产品上市再维权,可以多赚一点吗?
上文中笔者建议华为现在就给苹果公司发律师函,其实知识产权维权时有一种做法叫:把猪养肥了再杀。比如本次事件中,华为现在不维权,等苹果的产品上市了销量很高时再起诉商标侵权,一方面可以因为产品销量大,获得巨额赔偿,另一方面可以争取之前iPad商标战时的结果,让苹果公司出巨资把这个商标买下来,这不是更好吗?
但笔者认为,这个可能性不高,iPad商标那样的错误,苹果公司不会犯两次,本次发布会后,他们肯定已经发现了在中国要使用Vision Pro商标存在瑕疵,所以在产品正式上线前,一定会换一个名字。类似的案例,苹果本来打算以iPhone、iPad的思路命名他们的手表产品,并且大规模的申请了iWatch商标,但之后被瑞士斯沃奇集团以iWatch和他们的Swatch商标构成近似为由,在全球进行了商标狙击,于是苹果公司为避免风险,干脆把手表产品命名为Apple Watch。
四、苹果公司使用Apple Vision Pro,还侵权华为吗?
笔者查了下苹果公司的官网,他们至少就Vision Pro有以下三种使用方式:
问题来了,如苹果公司使用上图中2、3号,带苹果LOGO的Vision Pro或者Apple Vision Pro作为产品标识,还侵权华为商标吗?笔者的观点是:仍然有较大的商标侵权风险。
Vision这个词,英文含义名词为视力、眼光、目光、视野、梦见等;动词为梦见、预知、预料等。所以Vision这个名称作为包括混合现实头显设备在内的显示设备商标时,显著性稍弱。什么叫显著性,笔者的理解,就是商标名称和使用商标的商品间的关联性,两者关联性强的则显著性弱,关联性弱的则显著性强。比如用Vision命名显示器,因为这个词可以翻译为视野,和显示器就有关联,所以显著性弱。而如果用苹果命名显示器,这两者一个是水果,一个是电器,关联性非常弱,所以显著性就很强。
使用苹果如果使用Apple Vision Pro,识别性就很强,Apple作为电子设备的名称显著性请,Vision 作为显示设备的识别性弱,相关公众把这个名称混淆成华为产品的可能性相对会比较小,这种情况下,还构成商标侵权吗?笔者的观点:理论上虽然可以这么说,但商标侵权的风险仍在。
虽然Vision这个名称用在显示设备上作为商标的显著性弱,但人家毕竟是商标局审查后合法注册的商标,只要商标证不被作废,就享受《商标法》保护,他人如果在受保护的商品上以相同或者相似名称使用的,就有可能构成商标侵权。所以只要苹果公司的产品品牌中包含了Vision Pro,就有风险:只用Vision Pro,有构成相同商标侵权的风险,如果使用带苹果LOGO的Vision Pro或者Apple Vision Pro,则有构成近似商标侵权的风险。总之,苹果公司作为华为的同行,法律上有义务避让这个商标。
当然,风险虽然存在,如果华为公司维权,苹果以商标显著性弱为由抗辩主张不构成侵权的,法院支持苹果抗辩的可能性虽然比较小,也不是完全不存在。但苹果公司这样的大公司,发布了一款那么贵的高端产品,显然不能让产品一上市就被笼罩在侵权阴影下。所以,在侵权华为注册商标的风险没有被解决之前,苹果公司是不会在正式销售的产品上使用这个名称的。
所以后续苹果公司有三条路可以走:
1、找华为把商标买下来
如果单出钱,哪怕是巨资,这条路的可能性也非常小。华为已经把Vision用在智慧屏产品上了,这种大公司,如果自己要用的商标,一般哪怕有人出高价也不会出让。所以这条路走不通。
2、去商评委无效华为的商标
如前所述,Vision Pro的名称用在显示设备上显著性较弱,如果苹果公司以此为由向国家知识产权局商标评审委员会提起商标无效的,以笔者的经验看,虽然成功率不会高于50%,倒也是一个途径。但会面临两个问题:
时间上,商标无效审理要一年到一年半,后面还有行政诉讼的一审二审,所以哪怕华为的商标无效了,肯定也会在明年3月苹果的Vision Pro产品上市之后的事情了。逻辑上,如果商评委判定,Vision用在显示设备商缺乏显著性,所以判定商标无效,会造成一个麻烦:苹果公司虽然可以用Vision Pro品牌了,但如果有人侵权这个品牌,苹果公司去维权,同样也会面临品牌缺乏显著性,难以取得司法保护的问题,所以这条路也走不通。
3、重新给产品起名字
这条路虽然很难,但如果苹果公司要维护全球统一的品牌策略,同时又不想放弃中国市场的,应该是现在唯一可行的路了。当然,大公司命名一个重要产品的流程非常复杂,因为有愿景、市场、创意等多方面的考虑,各路大佬还都要刷存在感掺和一脚,所以包括商标管理部门在内的负责起名的各个部门对此都会非常抓狂(笔者本人之前在公司内部管理知识产权,以及现在作为外部知识产权律师帮客户命名产品时都深受命名问题折磨)。但抓狂总比产品上市后有侵权风险好,因为这是唯一可行的路,所以最终公司总能在产品上线前找到一个合适的新名字的。
最后,苹果的Vision Pro发布已经有几天了,华为肯定已经发现了这个商标问题,但没有公开发声,但这不代表会忽视这个问题,所以华为即便没有公关上的反应,他们的知识产权部门至少也会向苹果发送要求停止商标侵权的律师函。
(本文仅代表作者观点。责编邮箱:yanguihua@jiemian.com。)
