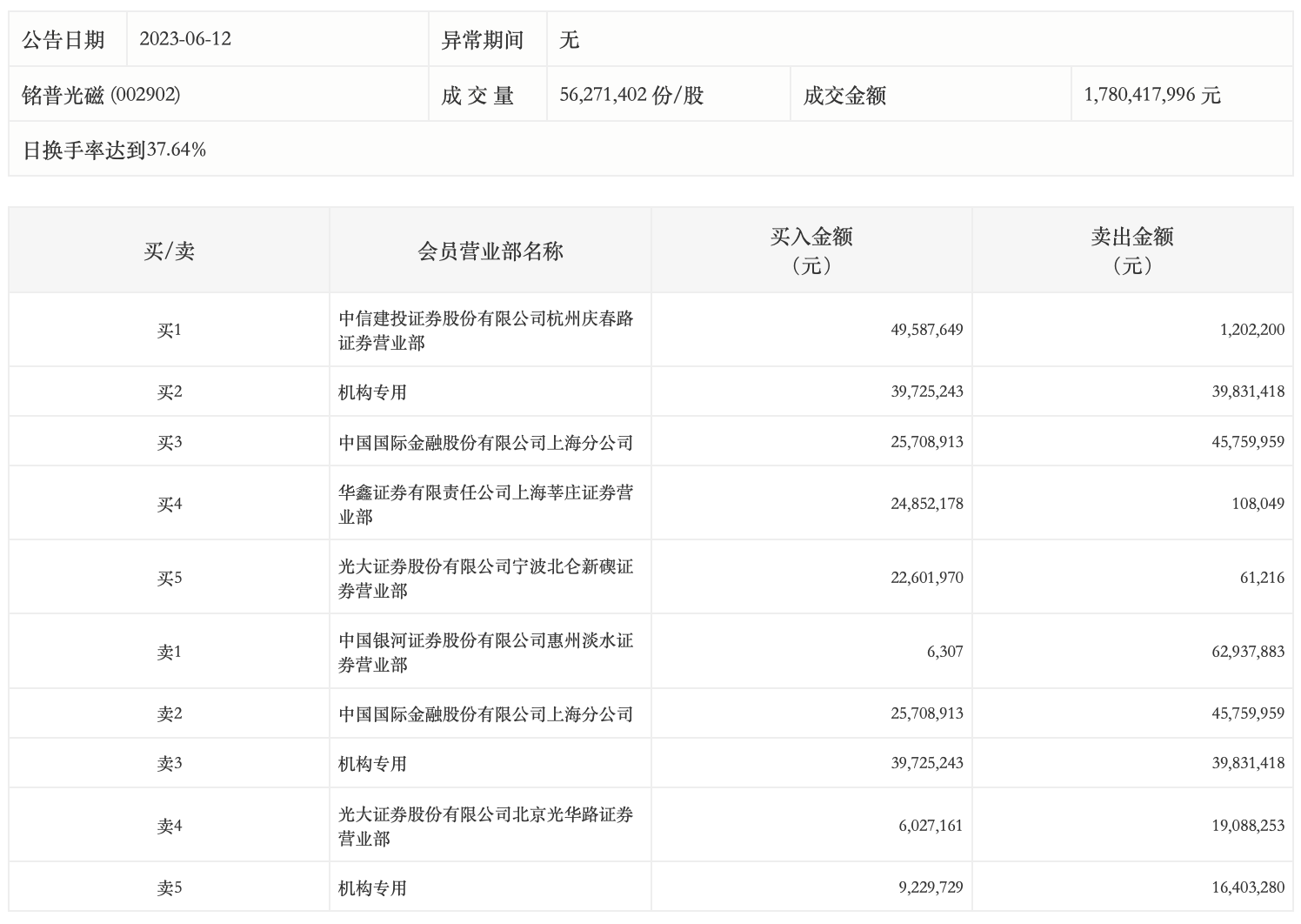
6月12日,铭普光磁今日涨5.19%,龙虎榜数据显示,上榜营业部席位全天成交3.63亿元,占当日总成交金额比例为20.4%。其中,买入金额为1.78亿元,卖出金额为1.85亿元,合计净卖出765.31万元。
具体来看,机构买入4895.5万元,卖出5623.47万元,合计净卖出727.97万元。此外,中信建投证券杭州庆春路证券营业部、中国国际金融上海分公司分别买入4958.76万元、2570.89万元;中国银河证券惠州淡水证券营业部、中国国际金融上海分公司分别卖出6293.79万元、4576.00万元。

