界面新闻记者 |
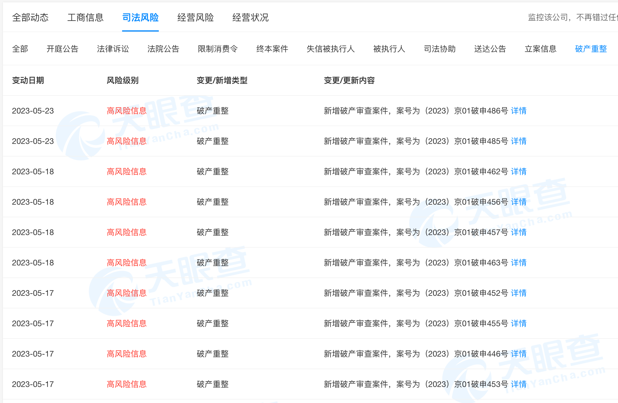
近日,天眼查APP显示,A股上市旅企凯撒同盛发展股份有限公司(下称凯撒旅业)100%控股的孙公司——北京凯撒国际旅行社有限责任公司(下称北京凯撒国旅)新增多个破产审查案件。
多位申请人以北京凯撒国旅不能清偿到期债务、并且明显缺乏清偿能力为由,向法院申请对其进行破产清算。在法院审查期间,部分申请人已撤回破产清算申请。
另外界面新闻查询到,北京凯撒国旅曾多次成为最高人民法院所公示的失信公司、因未按时履行法律义务而被法院强制执行、被列为限制高消费企业等。
在2022年凯撒旅业年报中,北京凯撒国旅借款逾期金额合计超3.71亿元。凯撒旅业表示借款逾期是受宏观环境影响,盈利能力降低,未能及时归还。
界面新闻就北京凯撒国旅被申请破产清算一事询问凯撒旅业,截至发稿,未得到公司回应。
1993年华人企业凯撒旅游创始于德国汉堡,主要从事中国公民赴欧洲旅游接待服务。1996年,凯撒旅游设立北京代表处。2003年凯撒旅游对保利国旅实施重组,更名为北京凯撒国际旅行社有限责任公司。此后数年间,凯撒旅游开启全国布局,相继在天津、上海、巴黎等地设立分公司。

作为凯撒旅业的始发地,北京凯撒国旅曾位列“2019北京民营企业百强”第56位。对于5月刚刚“披星戴帽”的凯撒旅业来说,北京凯撒国旅被申请破产清算可谓是雪上加霜。5月4日,凯撒旅业股票停牌一天, 5月5日开市起复牌,并被实施“退市风险警示”及“其他风险警示”,股票简称由“ST凯撒”变更为“*ST凯撒”。
根据凯撒旅业发布的公告,公司被实施退市风险警示是由于2022年度经审计的归属于上市公司股东的所有者权益为负值,且公司2022年度财务报表被出具无法表示意见或者否定意见的审计报告。
5月19日,深交所向一只脚踩在退市边缘的凯撒旅业发出2022年年报的问询函。问询函指出,公司报告期实现营业收入3.20亿元,同比下降65.99%,实现归母净利润-10.22亿元,同比下滑48.11%,经营活动产生的现金流量净额-3.83亿元,同比下降352.89%。此外,公司2022年审计报告显示,报告期内公司持续经营能力存在重大不确定性。
问询函要求公司说明报告期经营活动产生的现金流量净额大幅下滑且与净利润、营业收入变动趋势差异较大的原因及合理性,说明公司连续三年大额亏损的原因,是否符合行业发展趋势,并说明公司将采取改善持续经营能力及盈利能力的具体措施。
6月3日,凯撒旅业发布《关于延期回复深圳证券交易所2022年年报问询函的公告》,表示将延期至2023年6月17日前完成《问询函》回复工作,并及时履行信息披露义务。
不仅是北京凯撒国旅,控股公司凯撒旅业本身也面临着资不抵债的危机。根据凯撒旅业一季度报,截止2023年03月31日,公司资产总计24.69亿元,负债总计31.27亿元,资产负债率达126.66%。
5月23日,由于控股股东凯撒世嘉在东方证券股份有限公司融资融券业务到期无法偿还导致被动新增平仓84.65万股股份,凯撒旅业公告,公司的第一大股东由凯撒世嘉及其一致行动人变更为海航旅游集团有限公司。目前海航旅游持有公司股份175,295,608股,约占公司总股本的21.83%;凯撒世嘉及其一致行动人合计持有公司股份174,579,488股,约占公司总股本的21.74%。公司控股股东仍为凯撒世嘉,实际控制人仍为陈小兵。
此前界面新闻曾报道,近几年来,凯撒旅业屡次试图自救,包括开展免税业务,试图吸收合并众信旅游但最无疾而终等,其效果都没有达到预期。在2022年年报中,凯撒旅业表示,连续三年的宏观环境影响,公司经营业绩不可避免受到影响。目前,公司旗下凯撒旅游已全面启动出境旅游业务,并提供团队游、自由行、定制游、商旅会奖等多种选择。
虽然出境游业务正在恢复,凯撒旅业的经营情况依然没有太大改善。2023年一季度报显示,公司一季度营业收入7680万元同比减少36.82%,归母净亏损4249万元,同比缩小32.61%。
重重困境下,凯撒旅业距离退市又近了一步。
