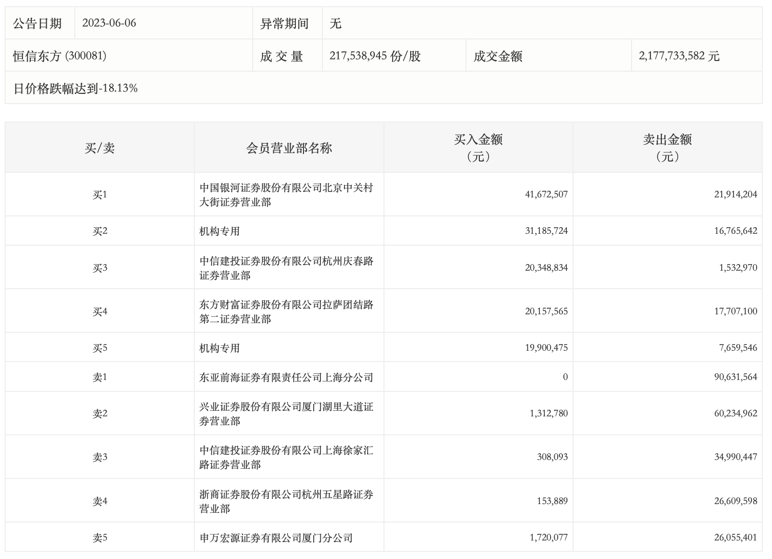
6月6日,恒信东方今日跌18.13%,龙虎榜数据显示,上榜营业部席位全天成交4.41亿元,占当日总成交金额比例为20.24%。其中,买入金额为1.37亿元,卖出金额为3.04亿元,合计净卖出1.67亿元。
具体来看,机构买入5108.62万元,卖出2442.52万元,合计净买入2666.1万元。此外,东亚前海证券上海分公司、兴业证券厦门湖里大道证券营业部分别卖出9063.16万元、6023.50万元;中国银河证券北京中关村大街证券营业部、中信建投证券杭州庆春路证券营业部分别买入4167.25万元、2034.88万元。

