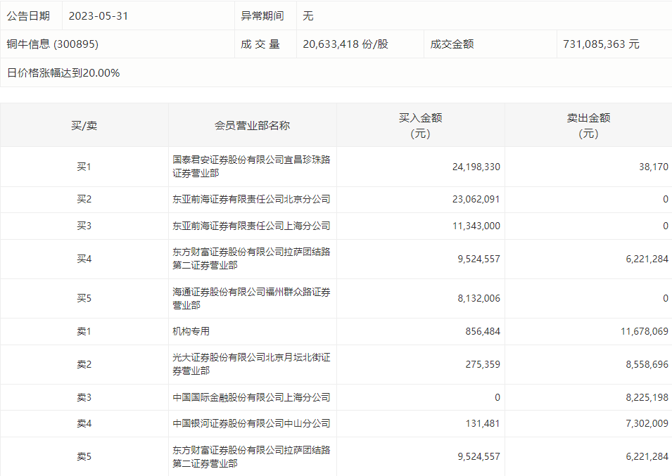
5月31日,铜牛信息今日涨停,龙虎榜数据显示,上榜营业部席位全天成交1.2亿元,占当日总成交金额比例为16.35%。其中,买入金额为7752.33万元,卖出金额为4202.34万元,合计净买入3549.99万元。
具体来看,机构买入85.65万元,卖出1167.81万元,合计净卖出1082.16万元。此外,国泰君安证券宜昌珍珠路证券营业部、东亚前海证券北京分公司分别买入2419.83万元、2306.21万元;光大证券北京月坛北街证券营业部、中国国际金融上海分公司分别卖出855.87万元、822.52万元。

