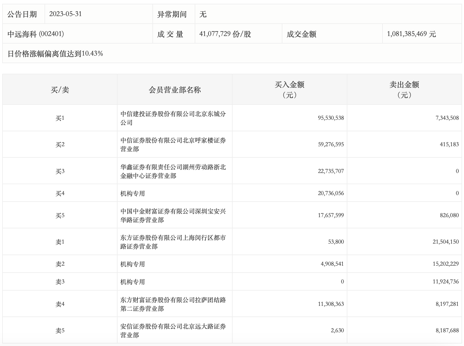
5月31日,中远海科今日涨停,龙虎榜数据显示,上榜营业部席位全天成交3.06亿元,占当日总成交金额比例为28.28%。其中,买入金额为2.32亿元,卖出金额为7360.09万元,合计净买入1.59亿元。
具体来看,机构买入2564.46万元,卖出2712.7万元,合计净卖出148.24万元。此外,中信建投证券北京东城分公司、中信证券北京呼家楼证券营业部分别买入9553.05万元、5927.66万元;东方证券上海闵行区都市路证券营业部、东方财富证券拉萨团结路第二证券营业部分别卖出2150.42万元、819.73万元。

