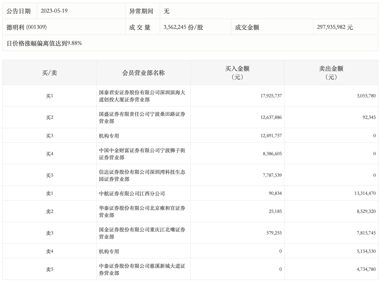
5月19日,德明利今日涨停,龙虎榜数据显示,上榜营业部席位全天成交1.03亿元,占当日总成交金额比例为34.44%。其中,买入金额为5992.48万元,卖出金额为4269.7万元,合计净买入1722.78万元。
具体来看,机构买入1249.18万元,卖出515.45万元,合计净买入733.72万元。此外,知名游资现身龙虎榜,国泰君安证券深圳滨海大道创投大厦证券营业部、宁波桑田路(国盛证券宁波桑田路证券营业部)分别买入1792.57万元、1263.79万元;中航证券有限公司江西分公司、华泰证券北京雍和宫证券营业部分别卖出1331.45万元、852.93万元。

