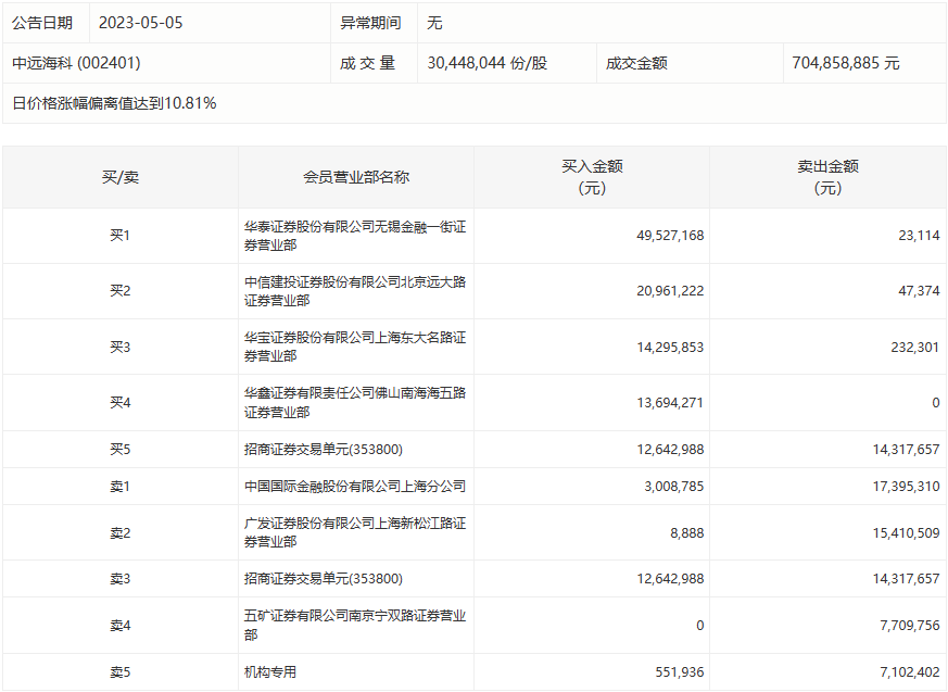
5月5日,中远海科今日涨停,龙虎榜数据显示,上榜营业部席位全天成交1.77亿元,占当日总成交金额比例为25.1%。其中,买入金额为1.15亿元,卖出金额为6223.84万元,合计净买入5245.27万元。
具体来看,机构买入55.19万元,卖出710.24万元,合计净卖出655.05万元。此外,华泰证券无锡金融一街证券营业部、中信建投证券北京远大路证券营业部分别买入4952.72万元、2096.12万元;中国国际金融上海分公司、广发证券上海新松江路证券营业部分别卖出1739.53万元、1541.05万元。

