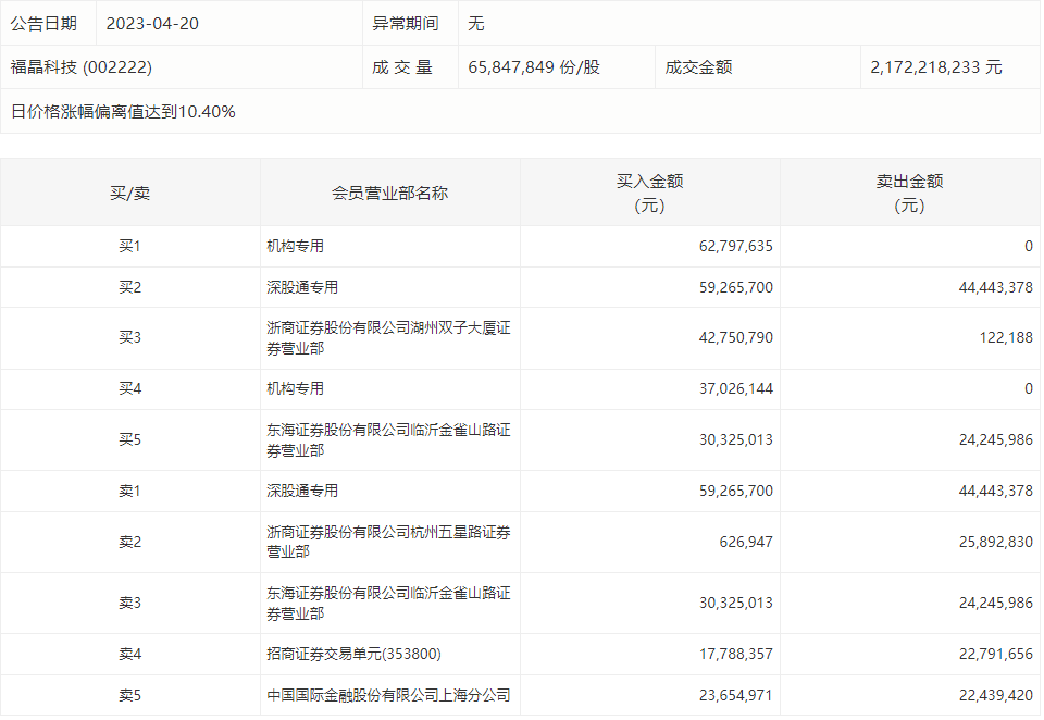
4月20日,福晶科技今日涨停,龙虎榜数据显示,上榜营业部席位全天成交4.14亿元,占当日总成交金额比例为19.07%。其中,买入金额为2.74亿元,卖出金额为1.4亿元,合计净买入1.34亿元。
具体来看,机构合计净买入9982.38万元。此外,深股通专用、浙商证券湖州双子大厦证券营业部分别买入5926.57万元、4275.08万元;深股通专用、浙商证券杭州五星路证券营业部分别卖出4444.34万元、2589.28万元。

4月20日,福晶科技今日涨停,龙虎榜数据显示,上榜营业部席位全天成交4.14亿元,占当日总成交金额比例为19.07%。其中,买入金额为2.74亿元,卖出金额为1.4亿元,合计净买入1.34亿元。
具体来看,机构合计净买入9982.38万元。此外,深股通专用、浙商证券湖州双子大厦证券营业部分别买入5926.57万元、4275.08万元;深股通专用、浙商证券杭州五星路证券营业部分别卖出4444.34万元、2589.28万元。

广告等商务合作,请点击这里
