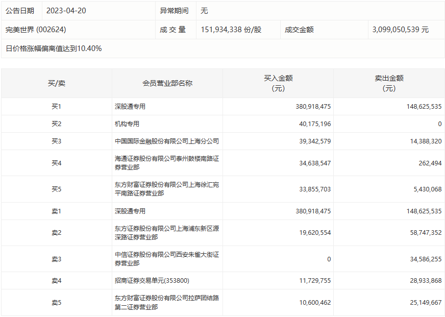
4月20日,完美世界今日涨停,龙虎榜数据显示,上榜营业部席位全天成交8.87亿元,占当日总成交金额比例为28.62%。其中,买入金额为5.71亿元,卖出金额为3.16亿元,合计净买入2.55亿元。
具体来看,机构合计净买入4017.52万元。此外,知名游资现身龙虎榜,方新侠(中信证券股份有限公司西安朱雀大街证券营业部)净卖出3458.63万元。此外,深股通专用、中国国际金融上海分公司分别买入3.81亿元、3934.26万元;深股通专用、东方证券上海浦东新区源深路证券营业部分别卖出1.49亿元、5874.74万元。

