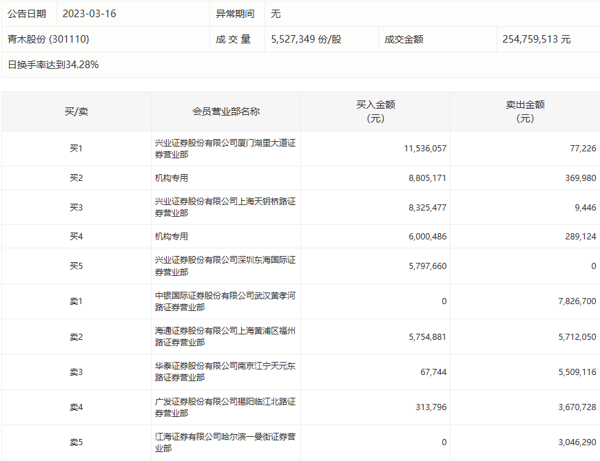
3月16日,青木股份今日涨13.03%,龙虎榜数据显示,上榜营业部席位全天成交7311.19万元,占当日总成交金额比例为28.7%。其中,买入金额为4660.13万元,卖出金额为2651.07万元,合计净买入2009.06万元。
具体来看,机构买入1480.57万元,卖出65.91万元,合计净买入1414.66万元。此外,兴业证券厦门湖里大道证券营业部、兴业证券上海天钥桥路证券营业部分别买入1153.61万元、832.55万元;中银国际证券武汉黄孝河路证券营业部、海通证券上海黄浦区福州路证券营业部分别卖出782.67万元、571.21万元。

