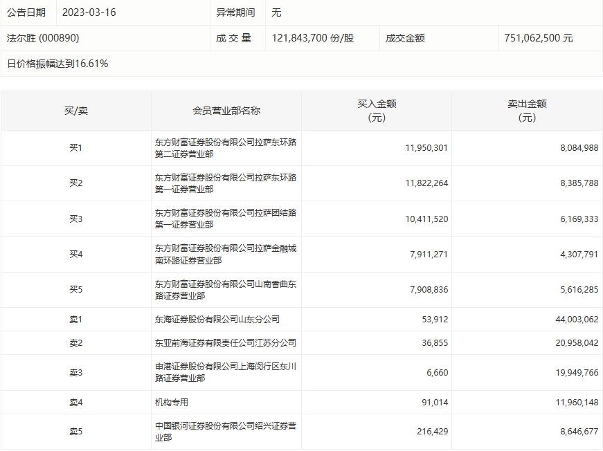
3月16日,法尔胜今日跌3.54%,龙虎榜数据显示,上榜营业部席位全天成交1.88亿元,占当日总成交金额比例为25.1%。其中,买入金额为5040.91万元,卖出金额为1.38亿元,合计净卖出8767.28万元。
具体来看,机构买入9.1万元,卖出1196.01万元,合计净卖出1186.91万元。此外,知名游资现身龙虎榜,赵老哥(中国银河证券股份有限公司绍兴证券营业部)净卖出843.02万元。此外,东海证券山东分公司、东亚前海证券江苏分公司分别卖出4400.31万元、2095.80万元;东方财富证券拉萨东环路第二证券营业部、东方财富证券拉萨东环路第一证券营业部分别买入1195.03万元、1182.23万元。

