龙虎榜丨新朋股份今日跌10.04%,“拉萨帮”买入四席

龙虎榜丨新朋股份今日跌10.04%,“拉萨帮”买入四席

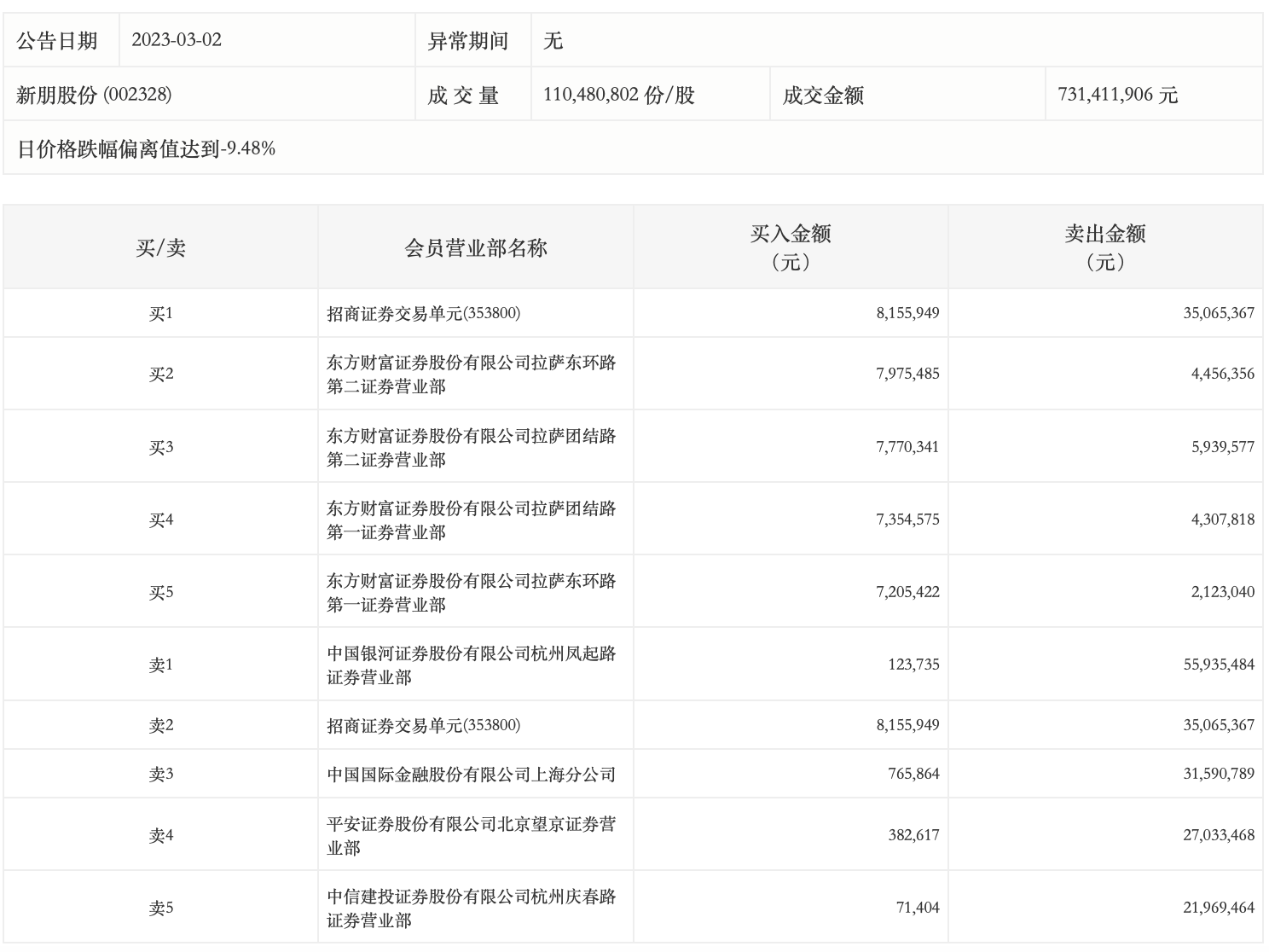
3月2日,新朋股份今日跌10.04%,成交额7.31亿元,换手率19.55%。盘后龙虎榜数据显示,“拉萨帮”四席位净买入1347.9万元,杭州帮所在两个营业部净卖出7770.99万元。

 

    广告等商务合作,请点击这里

    未经正式授权严禁转载本文,侵权必究。

    打开界面新闻APP,查看原文
    界面新闻
    打开界面新闻,查看更多专业报道

    热门评论

    打开APP,查看全部评论,抢神评席位

    热门推荐

      下载界面APP 订阅更多品牌栏目
        界面新闻
        界面新闻
        只服务于独立思考的人群
        打开