界面新闻记者 |
2月16日,华兴资本创始人包凡失联事件引发关注。华兴资本发布公告称,公司董事会并不知悉任何资料显示包凡失去联络一事与或可能与该集团的业务和/或运作有关,华兴资本目前业务及运作维持正常。
受包凡失联消息影响,2月17日开盘后华兴资本控股股价暴跌,盘中股价一度较昨日收市价下跌50%,截至收盘报7.18港元/股,跌28.2%。
包凡是华兴资本的创始人兼首席执行官、董事会主席,也是华兴资本的实际控股人,早年曾就职于摩根士丹利和瑞士信贷,拥有丰富的国际投行经验,他于2005年创立了华兴资本。十余年间,依靠多起并购案,华兴资本在TMT融资并购领域占据强势地位,在业内有“宇宙第一FA”的名头。
外界对于包凡的印象是:标志性的光头,喜欢极限运动,“撮合”滴滴快的、58赶集、美团点评等多宗合并案的“资本红娘”。
他1970年生于上海,现年53岁,出身于外交官之家。根据公司年报资料,他于1989年9月至1990年8月于复旦大学修读英文文学,随后赴海外深造,在1995年获得挪威经济管理学院商业与经济学硕士学位。

包凡在1994年7月至2000年5月,即24岁至30岁间,先后于摩根士丹利担任分析师、在瑞信银行担任经理。在2000年10月至2004年10月,担任亚信首席战略官,2000年在纳斯达克上市的“亚信联创”,是第一家在美上市的中国互联网公司。
2005年,包凡回国创立华兴资本,项目以互联网为主,当当网、奇虎、巨人网络、爱奇艺、神州租车等等都是华兴早期客户。来到新经济火热的2014年,包凡因促成腾讯战略投资京东“出圈”,并在此后一年参与了多个并购案,包括最为著名的滴滴快的、美团点评、58赶集、携程去哪儿,他的“资本红娘”称号也因此得名。
除了FA业务外,华兴资本在2016年获批券商牌照,设立华菁证券,打通了包括私募融资、IPO、再融资、并购重组、债务融资等金融服务的闭环。包凡在2016年接受财新采访时也表示,华兴资本从FA做起,后来做并购,再到海外的证券业务。此前很多项目都跟国内券商合作,“因为我们自己没有牌照,(获批后)等于是补了短板。”
2018年,华兴资本控股于香港交易所主板上市;2019年,公司开展财富管理业务;2022年,其还获得了新加坡证券业务牌照。
公开资料显示,截至2021年12月31日,华兴资本投资管理业务的资产管理规模约490亿人民币,其中旗下华兴新经济基金管理资产达到约368亿人民币,管理着四支美元基金和四支人民币基金,主要投资方向包括智能制造、科技、数字健康、新消费和企业服务领域。
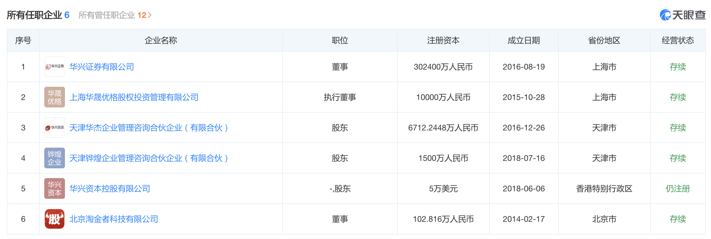
根据天眼查App,包凡目前共在国内6家企业有公开职位,包括在华兴证券有限公司、北京淘金者科技有限公司担任董事;在上海华晟优格股权投资管理有限公司任执行董事;以及在天津华杰企业管理咨询合伙企业(有限合伙)、天津铧煌企业管理咨询合伙企业(有限合伙)、华兴资本控股有限公司任股东。根据华兴资本控股年报,2021年度,包凡薪资总额为2916.1千万元人民币。
