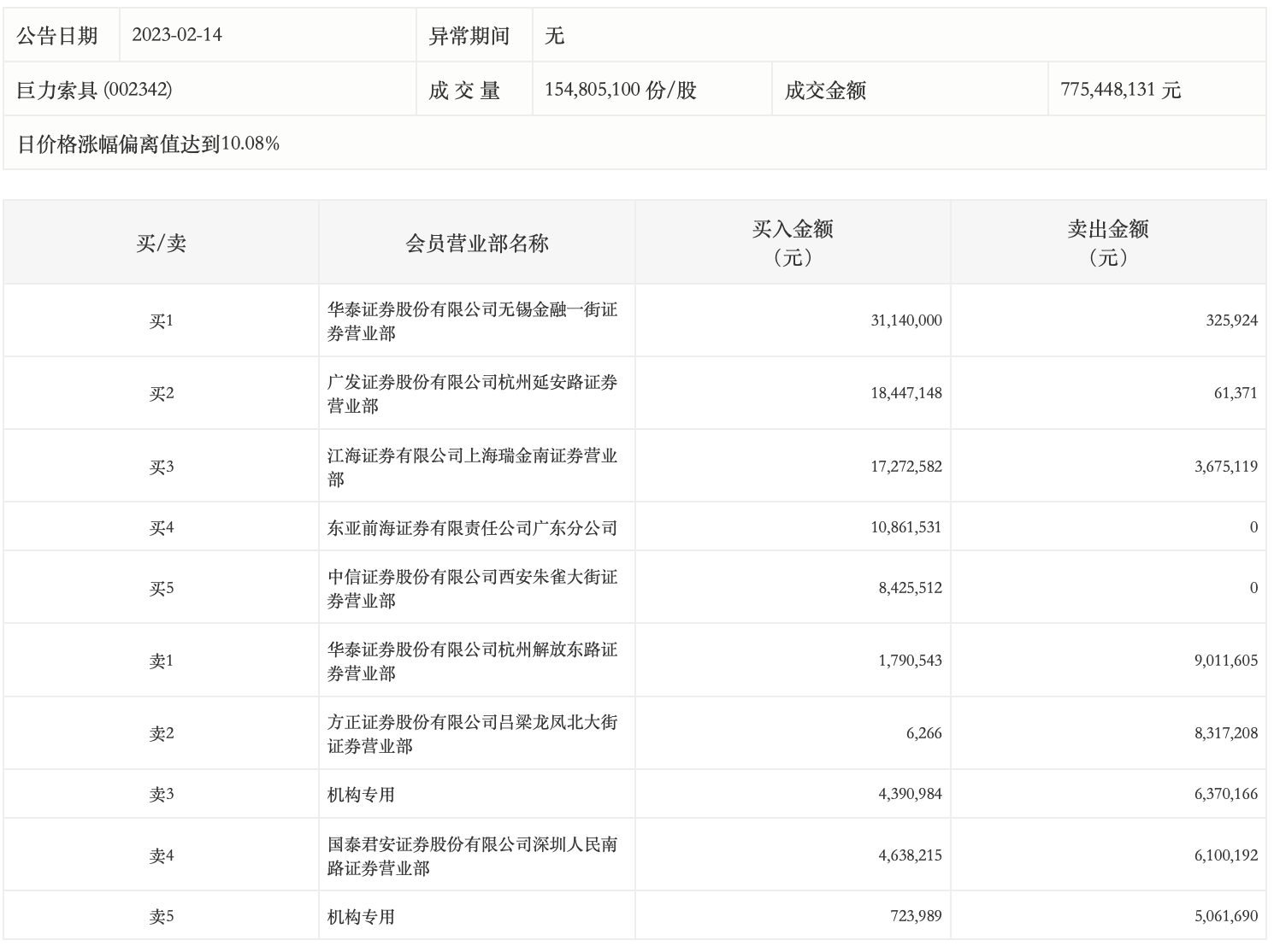
2月14日,巨力索具今日涨停,龙虎榜数据显示,上榜营业部席位全天成交1.37亿元,占当日总成交金额比例为17.62%。其中,买入金额为9769.68万元,卖出金额为3892.33万元,合计净买入5877.35万元。
具体来看,机构买入511.5万元,卖出1143.19万元,合计净卖出631.69万元。此外,知名游资现身龙虎榜,方新侠(中信证券股份有限公司西安朱雀大街证券营业部)净买入842.55万元。此外,华泰证券无锡金融一街证券营业部、广发证券杭州延安路证券营业部分别买入3114.00万元、1844.71万元;华泰证券杭州解放东路证券营业部、方正证券吕梁龙凤北大街证券营业部分别卖出901.16万元、831.72万元。

