“这届世界杯,除了国足,连大熊猫都去了!”
这是网络上一位网友的高赞评论。短短16个字,道出了无数球迷的心酸,也反映出“中国元素”在世界杯上的亮眼存在。
广大球迷翘首以盼的卡塔尔世界杯已经到来。 “中国元素”横跨5143公里,席卷了这座位于波斯湾的小国家。
根据媒体统计,中国制造的世界杯相关产品已经涵盖了国际工程产业、新能源车产业、体育用品产业、跨境电商产业、轻工产业等。
不仅如此,世界杯的火热正刺激着各领域间的竞争。“世界杯”三字商标背后,一场关于知识产权的争夺战,正在同步上演。
“义乌制造”崛起

市场占有率70%,小老板要“踢”进世界杯
从韩日世界杯的五彩假发到南非世界杯的“呜呜祖拉”,每逢世界杯周期,身为“世界超市”的义乌,总不会错过时机。
据义乌体育用品协会估算,从卡塔尔世界杯32强的旗帜到大力神杯的摆件和抱枕,“义乌制造”几乎占到整个世界杯周边商品市场份额的近70%。
近日,央视还实地探访了义乌,各路商家正为这场世界杯“灯火通明”。镜头之下,一名叫吴晓明的小老板,已经先后经历了6届世界杯。
谈起与世界杯的往事,吴晓明滔滔不绝:“2014年巴西世界杯,我们曾卖出了150万个足球;在西班牙马德里,提供了当地社区赛事所用足球;在今年世界杯前夕,我们拿到了纪念品足球的官方授权,带着自己设计的32强原创球衣,‘踢’进了世界杯!”
另一位服贸商人温从见,从今年4月起已经生产了200多万件球衣,其中多数讲销往全球。他还要预留30万件,准备迎接即将开启的世界杯中国市场。
吴晓明和温从见,是义乌千千万万创业者的缩影。

根据天眼查数据显示,中国外贸企业集中分布在东部沿海省份,浙江省位列全国第二;其中,义乌市外贸企业数量位列浙江省第一,超过12万家企业从义乌走向世界。
天眼查还公布了一组更有趣的数据,截至目前,全国范围内有足球相关企业约为1.2万家。从区域分布来看,企业分布数量最多的为广东省,数量上约为2400家,占企业总数的20.25%;北京、浙江分别位居第二、三位,而两者的占比几乎相同。
这也意味着,目前义乌企业有超过上千家从事与足球相关的生意。难怪坊间有“外事不决问义乌”之说——通过义乌售卖的小商品数量,来推断今年世界杯最有胜算球队,也已成为球迷四年一轮的谈资。这一趣闻,也恰恰是“中国制造”崛起的缩影。
商标战上演
66次申请,这家公司成唯一赢家?
除了火热的“中国制造”外,在知识产权的竞争中,“世界杯”商标也在孕育着商机。
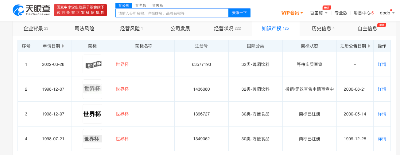
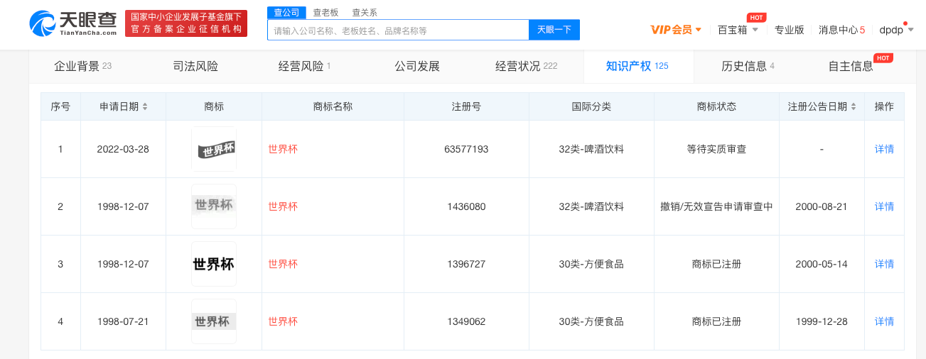
据天眼查数据显示,目前,“世界杯”的相关商标信息共336件,涉及“世界杯”、“国际足联世界杯”、“世界杯企业足球赛”等多个选项。
毫无疑问,争夺最激烈的当属“世界杯”三字商标。
据天眼查数据显示,“世界杯”三字商标自1998年以来,先后被申请多达66次,截至目前,多数申请均处于被驳回或者被无效的阶段。
不过,有一家食品企业竟然成功申请了2个“世界杯”商标!

据天眼查数据显示,这家企业成立于1998年6月,注册资本120万人民币,经营范围包括制造、销售糖果,货物进出口,技术进出口等。该公司曾4次出手申请“世界杯”三字商标,其中1998年7月、1998年12月两次申请成功、一次失败,而在2022年3月,企业仍然在申请“世界杯”,目前状态为“等待实质审查”。
有网友笑谈道,“成功申请14年后,仍然不放弃,可见老板真是个铁杆球迷!”
谈及抢注知名商标的好处,北京卓纬律师事务所律师孙志峰曾表示,商家可以利用被抢注商业标识在抢注前的商誉或知名度积累,实现攀附或搭便车的目的,由此可以缩短或减少正常商业运作下的运营周期和运营成本的效果。不过值得注意的是,也有利用商标注册制的缺陷,通过囤积商标资源,谋取转让暴利的现象。
结语:
本届世界杯的举办,处处放射着中国之光:
国内商标抢注,见证了火热;
多家企业参与,展现了实力;
…………
毫无疑问,中国企业,正在卡塔尔这片热土上形成“以大带小、以点带面”的良性格局,这也必将对日后拓展海外市场起到积极效果。
