记者 |
受俄罗斯断供部分欧盟国家天然气影响,在冬季来临之前,越来越多的欧洲人转向购买中国生产的节能型取暖设备。其中,空气源热泵的订单量持续上升。
热泵是一种可再生能源利用装置,是电制热的最有效方式,具有显著的节能和减碳特征,可以为住宅、商业、工农业等供暖、供冷和提供热水。按照热源的来源,热泵又分为空气源、土壤源和水源。而空气源热泵的应用最为普遍,因为其低位热源——空气无处不在。
海尔提供给界面新闻的数据显示,公司2022上半年空气源热泵出口欧洲的订单增幅达到200%以上,其中规模最大的市场是法国,增幅36%,其次是意大利与德国,增幅分别为64%和26%。
为应对需求增长,海尔将热泵的生产工厂由一个拓展到两个,除了对老线体进行新冷媒防爆改造,每个工厂都对生产线体进行了扩增,日产能从原来的每天150套左右,增加到现在每天300套左右。
海尔方面认为,未来3年是中国热泵企业的关键发展期,更多使用国产核心零部件是一大趋势,同时预计公司明年海外市场产能将扩大10倍。
实际上,中国空气源热泵产品主要出口欧洲并非新现象。产业在线数据显示,过去五年,我国空气源热泵出口国前五位分别为法国、意大利、澳大利亚、德国、荷兰,其中四国都位于欧洲。
而美的在半年报中也透露,2022年上半年,公司热泵产品出口增长了200%。美的相关负责人对界面新闻表示,目前需求仍在持续增长,增幅较大的国家是意大利与波兰。
格力同样是热泵产品生产大户,称近期海外市场空气源热泵产品的销量大幅增长,但尚无具体数据可以提供。一位了解生产的内部人士则表示,目前格力相关产品的产能充足。
中国是全球最大的热泵出口国,占据全球60%左右产能,出口额从去年以来持续增加。根据多个行业协会联合编写的《中国热泵产业发展报告(2022)》,2021年我国空气源热泵产品全年销售额同比增长近25%,其中出口增长93.6%达到48.6亿元,几乎翻倍。该报告指出,增长的主要因素包括疫情下中国制造的优势,欧洲市场推进碳中和政策、扶持空气源热泵采暖应用力度加大。
产业在线数据显示,2022年1-7月空气源热泵出口额同比增长达63.7%,且量价均有提升,预计全年空气源热泵出口规模同比增长54.5%。
另据招商证券近期研报测算,2025年欧洲市场热泵销量将达到500万台,市场规模预计达350亿欧元。

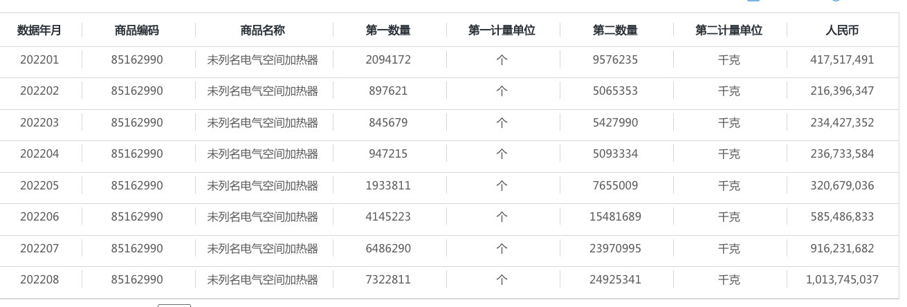
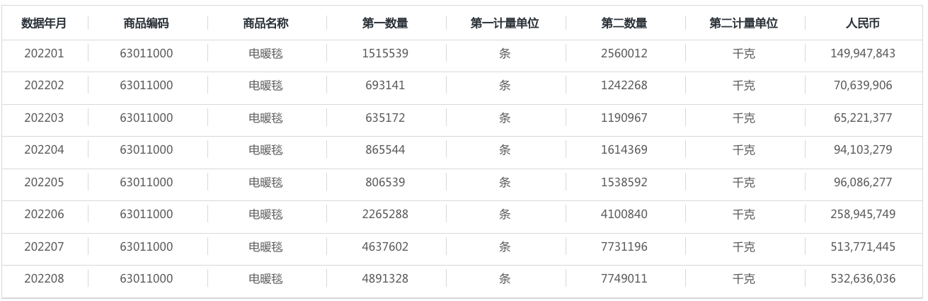
除热泵产品外,取暖用小家电同样能耗较低,近期电暖器、电热毯的出口量也在增长。海关总署数据显示,这两款产品在6-8月的出口量大幅增加且逐月上升,8月电暖气出口量达到732万台,电热毯出口量达到489万条。
