文 | 楼公子
深圳新房市场也打响了金九大战?
9月21日,深圳楼市迎来了“高光时刻”,位于南山蛇口太子湾片区的招商玺家园开盘当天所推售的房源被抢光,成为继海德园之后深圳今年第二个“日光盘”。
招商玺家园向市场推出的604套豪宅,均价约12.02万/平方米,一套房源超千万元,总货值过百亿。
然而,去化最快的却是面积最大的房源,424平方米的大平层,套均总价约6362万元。
截至11时许,68套大平层率先售罄。

截至22点21分,这604套房全部售罄。
清盘速度令市场震惊。
据了解,项目被热卖的主要原因除地段、海景及其他配套外,低于市场预期的价格也成为不可忽视的因素。
按照预期,项目应该可达13.2万/平方米,但出来后的最低单价至10万/平方米,巨大的差价下,项目被热抢也实属正常。
事实上,不仅招商玺家园,深圳还有多个新盘均出现了降价销售的苗头,对于可否借助这股东风促进成交活力值得我们期待。
01.供应现小高峰
有盘欲打“价格战”?
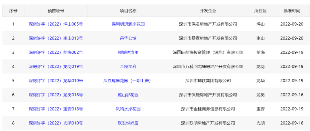
在金九银十这个重要节点上,深圳新房市场迎来了供应小高峰。
截至到9月20日,深圳共14个住宅项目获批预售,供应新房10843套,面积约98.60万平方米。
深圳市房地产信息平台统计,深圳今年已供应新房约498.55万平方米、49302套,而9月供应占比近20%,创下今年以来的月度供应新高。
在新房供应充裕的情况下,拥有价格优势,则成为项目的一大加分项。
位于坪山的保利明玥澜岸花园,总建面约25.29万平方米,规划2246户,最低面积为70平方米,属于规模较大的刚需社区。
项目地块出让时早已规定,房源售价不得高于3.86万/平方米,但有趣的是,这次推出的房源单价低至3.3万/平方米,一套230万起。
业内调侃,这是卖出了东莞价。
项目优缺点挺明显的,虽享有坪山河景观,但周边产业园较多,且与地铁站有一段距离,定价方面也很难有十足的底气。然而,相对低位的价格,很适合刚需者上车。
而位于龙岗中心城的万科金域学府,多重促销叠加后折扣约92折,此次推售932房源,均价约4.7万/平方米,单价3.91万/平方米起。
户型也匹配刚需,主推建面约78-184平三至四房,总价305万/套起。
万科金域学府最突出的亮点,是所处的区位——规划好,产业强、配套齐全的实力区域龙岗区。
数据显示,今年深圳1-8月二手成交累计过户约1.4万套住宅,在成交超300套的6个片区中,龙岗独占4席,占比2/3。龙岗中心城片区更是以1005套拔得头筹,而万科金域学府正处于龙岗中心内。
叠加区域内的成熟配套,综合来看,项目较为不错。
此外,位于龙华上塘片区深铁珑境也有动作,依托深圳北站国际商务区的资源辐射及TOD优势,项目也颇受市场关注。
值得一提的是,项目受限价影响,毛坯销售均价不得高于7.09万/平方米,低于同片区的房源价格。与之相隔不远的潜龙曼海宁花园二手房均价在7.1万/平方米-7.3万/平方米之间。
02.7盘待入市
助燃9月供应热潮
据深圳中原研究中心统计,深圳9月待入市的新盘还有7个,包括前海瑧湾悦、宝安万科未来之光、龙岗仁恒公园世纪等具备热度的项目。
供应新高的同时,深圳新房的交易情绪也稍有回升,截至9月20日,网签同比增长16.5%。
但若细化到楼盘表现,目前来看,豪宅的成交情绪要好过普通房源,因为豪宅价格更为坚挺,保值性更强。
深圳乐有家研究中心指出,2022年以来,深圳购买大户型房源及高总价房源的占比显著提升,去化较好的新房大多是豪宅项目,出手买豪宅类二手房源的高收入群体占比也在上涨。
位于南山蛇口太子湾片区的招商玺家园就是一个明显例子,在类似”冰冻期“的市场中,率先卖完的就是价格高达数千万元的大平层。
只是,豪宅项目始终距离普通人太远,且投资属性更浓,对于普通购房人群来说,更多需要考虑自住的需求。
9月上线的众多新盘中,不乏地段、配套、产品品质等多方面较为可圈可点的楼盘,有兴趣的购房者,可以多加留意。
