文|凤凰WEEKLY财经 司雯雯 龚宸芫
编辑|张轶骁
时长近3个小时的年度演讲暨新品发布会上,雷军用了大段的时间讲述“如何穿越低谷”。
他回忆起在金山站店、泡BBS论坛、创建卓越网的经历,还有“经常泡吧,疯狂蹦一晚上”,甚至认真琢磨是不是要开家酒吧。
还是熟悉的“鸡汤”味道,似乎像个老朋友般地畅所欲言。但对于小米汽车,雷军是另一种态度。
他只用了不到7分钟的时间,重点介绍了小米自动驾驶的进展。并且表示“希望大家给我们一些时间、空间”,宣布未来两年不打算再介绍新的进展。
也就是说,按照雷军的表态,这将是小米官方近两年最后一次公布造车情况。

这与公众的期待大相径庭,新品发布会开始前,米粉社区里已开始激动,期待或猜测小米汽车的新进展。
从宣布造车到现在,500多天的时间里,“押上人生积累所有战绩和声誉”的造车,尚未为小米带来预期中的声量和回报。相较一年前宣布造车时,小米股价已跌去一半。
小米造车究竟进展如何?8月10日、11日,《凤凰WEEKLY财经》记者两次探访小米汽车整车工厂,结合雷军公布的情况,试图找到最近的答案。
造车500天,小米汽车工厂怎么样了?
小米的汽车工厂对公众来说,算得上神秘。
除落地北京经济技术开发区外,雷军和小米没有公开关于这座工厂更多的消息。说法大多是“没有特别多可公布的进展”,人们只能从零星的消息中推测。
要找到它的确切位置并不容易。8月10日,经实地多方探寻,《凤凰WEEKLY财经》记者找到了小米汽车工厂的施工区域。该区域约呈矩形,最北端自合创产业中心毗邻的辛四路起,长度沿着辛房路向南延伸约1200米,宽度500余米。
沿着施工工地,建有灰白色的围墙约两米高,外面没有设立任何与小米相关的标识。
多名此处的保安和工人向《凤凰WEEKLY财经》记者证实,该区域正是小米汽车工厂所在地,属一期工程。
按照规划,小米汽车整车工厂分两期建设,一期占地面积接近72万平方米,2022年4月开工建设,2023年6月竣工;二期计划2024年动工,2025年完建。其中,一期包括4个工厂,年产能为15万辆。
距离一期开工,已过去4个月。一名在这里工作的工人透露,工人大概有一两百名,地基已经基本完成,目前主要的活计是夯地面,土建工作预估在年底前完成。据记者提供的实拍图/视频,一名建筑工程师确认,地基确已基本完成。
在施工现场,能感受到紧锣密鼓、加紧建设的气氛。8月11日晚上10时许,该区域仍灯火通明,各类运输车辆正排队进入施工场地。
这或与追赶进度有关。工厂周边的一位菜馆老板记得,4-5月时,受疫情等因素影响,工地很少开工,进度受到影响。6月后,工人们才开始多起来。7月份,工地还从他家饭店订餐,一次大概订200份餐食。
据了解,作为小米汽车工厂的配套设施,其西侧和南侧将分别新建一条道路。一名保安告诉《凤凰WEEKLY财经》记者,南侧的新道路建设已经接近完成,等待太阳暴晒约半个月,该路就能正式投入使用,将大大缩短南侧工地的运输耗时,加快建设。
据他从工人们处得到的消息,一期完工预计要等到2023年5月后。
这与小米公布的规划进程基本相符。根据现场施工情况,上述建筑工程师分析,目前该工厂的主体钢结构柱子已经完成。至少有3处建筑疑似汽车厂房,其中一处建筑进入屋顶钢架搭建阶段,这意味着该建筑的进程超过10%。
“整体来说,该工厂施工进度处于初步阶段。以现状推算,小米汽车一期工厂较大概率能够按时竣工。”他判断。
雷军此前曾宣布,计划于2024年上半年实现量产。也就是说,从工厂动工到产品量产,小米汽车期许的时间是2年。
这在行业内并不算快。对电动汽车主要玩家而言,自建工厂几乎已成标配。
2019年1月,特斯拉上海工厂开工,当年10月,交付首批15辆国产特斯拉Model3,12月实现量产。2021年4月,蔚来汽车在合肥的自建工厂开工。一年后,一期一标项目完成主体封顶,项目占地面积262亩。
奥纬咨询董事合伙人张君毅认为,按照目前进展,小米还需要继续加快建设进程。
他解释,在量产车出来前,包括调试等工作,在工厂阶段至少还需要一年左右时间作准备。以2024年上半年量产计算,今年年底前,小米的汽车厂房必须要建出来,设备安装好,才能赶上进度。
除动工中的一期外,小米汽车工厂的二期计划于2024年动工。所在地马驹桥镇制造基地腾退指挥所一名工作人员介绍,小米汽车整车工厂尚未完成全部腾退,二期需要等到完成之后才可以开始修建。
《凤凰WEEKLY财经》记者在现场看到,二期规划用地上,许多空地竖着“腾退区域”的标识。周围还有许多居民的自建房,有的已经拆除,一些门店停止经营、摘掉招牌,卷帘门紧闭,似乎是在为腾退作准备。
熬过低谷后,雷军有多大胜算?
对小米而言,汽车业务的紧迫性越来越重。
手机业务向来是小米营收的最大支柱,通常贡献超过六成的营收。但国内手机市场红海已成定局,小米选定了两条发展方向,一是冲击高端市场,二是拓展海外市场。
在小米造车的500天里,这两条路的收获都算不上乐观。喊出“正式对标苹果”的口号一年后,小米手机的平均售价熬到了2022年第一季度的1188.5元,距离高端仍有很远。
更严峻的情况是海外市场的变化。国内手机已是存量竞争,不少国产手机厂商都把增长希望放在印度、东南亚等市场。
小米一贯是印度手机市场的王者,但环境正在变化。2022年上半年,小米、荣耀、vivo等厂商遭遇印度税务罚款。Canalys数据显示,2022年第一季度,小米手机出货量同比、环比同降,出货量同比减少约250万台。从全球市场出货量来看,小米也是全球五大手机厂商中降幅最大的厂商,出货量同比减少25%。
造车,是小米未来能带给公众最大的想象空间。
不到7分钟的汽车演讲,雷军把大部分时间分配给了自动驾驶。他称,自动驾驶是智能电动汽车决胜的关键点。这一点和不少主机厂想法一致。
雷军播放了一段小米自动驾驶技术路面测试的实拍视频,其展示场景包括U 形弯掉头、主动避让客车、主动避让行人(无斑马线路段)、主动通过环岛、自动下连续坡道等。视频最后,字幕写着“500天潜心研发,一些小成绩”。

但业内的评价却不那么积极。一名自动驾驶工程师认为,小米测试视频展示的技术还属于起步阶段,“如果放在三年前来看,这个视频确实会让人惊艳,但目前特斯拉等车企早已实现这一步。”
“如果要通过一个视频来评判自动驾驶技术时,我们首先会看视频中车辆完成的动作是不是一次性完成的,而小米该视频能明显看出有被剪辑过,是多车多次试验的结果。”张君毅表示,剪辑过的视频只能称作演示视频,尚达不到作为资料视频向有关部门申请的能力,亦不能借此来评估小米自动驾驶现有水平高低。
在自动驾驶领域,小米将采用全栈自研算法,全力研发自动驾驶技术。雷军很满意小米选择的方向,称“没有几家主机厂可以做到”。
目前,自动驾驶专属团队已超过500人,第一期计划投入33亿元。“按照人数来算,可能500人的专家和工程师团队在自动驾驶领域已达到第一阵营。”雷军对进程颇为满意。
如果只是拼人数,不少业内人士认为小米并未处于领先地位。目前,小鹏、理想、华为的自动驾驶团队人数均超过了小米。
今年3月,小鹏汽车创始人何小鹏公开透露,智能辅助驾驶的研发人员和数据人员共有1500人。而华为的自动驾驶团队早在去年就已超过2000人。
不过,作为一家自动驾驶领域新起步的企业,小米的步伐并不慢。在相同的搭建时间里,小米自动驾驶团队组建速度明显超越上述提及企业。
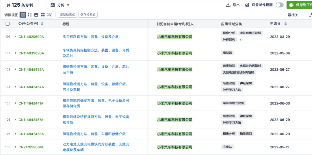
智慧芽数据显示,小米汽车自去年末成立以来,申请汽车专利125项,其中约70项与自动驾驶相关,涉及车辆目标检测、路径规划、车辆形式控制以及达到L2+级别的技术。

“进度飞快”给了雷军底气。他宣称,小米自动驾驶的目标是,2024年进入行业第一阵营。
张君毅认为,“雷军要在2024年实现自动驾驶第一梯队的目标并不是完全不可能,即便全栈自研遇到困难,他也可以用联合开发或者途中再收购别的自动驾驶公司,用‘弯道超车’的方式来实现目标,不同企业认定的全栈开发各不一样。”
去年8月,小米集团完成对自动驾驶技术公司 Deepmotion 的收购。据《晚点Auto》报道,小米自动驾驶负责人叶航军接受采访时表示,小米收购 Deepmotion,是因为该团队在核心算法上有积累,有量产项目的经验。
有分析指出,Deepmotion核心人员均出自微软亚洲研究院,拥有较强的技术储备和研发能力,这也是小米能够在全新的自动驾驶领域短期内实现大幅提升的重要原因之一。
此外,小米还采取了投资产业链的策略。截至目前,其投资了十余家自动驾驶领域上下游企业,涉及激光雷达、视觉传感器、自动驾驶解决方案、核心传感器等方面,投资总金额超过20亿元。
但如果未来两年不采取“弯道超车”方式,小米要想成为第一阵营玩家,还将面临不少挑战。
在国内市场,已有蔚小理等采取自动驾驶自研方式的车企走在前列。目前,三家车企累计交付车辆均超过10万辆,其已经在智能辅助驾驶(非自动驾驶)上累积了较多的路测数据,为后期自动驾驶发展垫上基石。
在自动驾驶发展道路上,自动驾驶车辆需要完成非常大量的实际路测,但在实际应用中,永远都有很多超出想象的情况发生,这就需要企业靠实际的路测来解决上述情况。
相比之下,小米目前仅有140 辆测试车部署上路,车辆也并非出自自身品牌。
“小米在飞速进步的同时,其他车企也不会停滞不前,若要通过自研方式在2024年进入第一阵营,作为后发企业,小米在技术和资金上需要付出加倍甚至十倍的努力。”张君毅认为。
