记者 |
天健集团(000090.SZ)8月12日午间公告称,2022年8月10日,公司收到深圳市纪委、监委通知,公司副总裁袁立群因涉嫌犯罪问题,已移送检察机关依法审查起诉。公司已对相关工作进行了妥善安排,公司经营情况正常。
同时天健集团披露称,董事会于8月11日以通讯方式召开。董事会以8票同意、0票反对的表决结果,审议通过了免去袁立群公司副总裁职务的议案。截至本公告披露日,袁立群持有公司股票160,790股,其将严格遵守股份变动有关规定。8月12日,天健集团官网已无法查询到袁立群相关资料。
天健集团证券事务部相关负责人向界面新闻表示,目前知道的就是像公告那样,不清楚袁立群具体涉嫌哪方面的犯罪。
从袁立群简历来看,其历任合肥市环境保护局环境工程设计研究室职员、助理工程师,深圳市天健(集团)股份有限公司项目经理,深圳市天健集团投资公司副总工,深圳市水务投资有限公司项目管理部总经理,池州市供排水有限责任公司董事长,深圳市水务(集团)有限公司福田污水处理厂筹建办主任,深圳市深水光明水环境有限公司董事长、总经理,市政总公司党总支书记、董事长、党委书记等职务。2020年4月起,任天健集团副总裁。
该负责人表示,“袁立群是从市政总公司董事长上来的,主要分管施工这块的业务”。谈及袁立群被移送检察机关是否会对公司造成影响,该负责人表示目前公司经营一切正常。

值得一提的是,今年4月28日天健集团公告称,公司拟购买董监高责任险。该责任险被保险人为公司及全体董监高,赔偿限额为5000万元。
天健集团主营业务包括城市建设、综合开发、城市服务等,属土木工程建筑业。2021年公司实现营业收入232.69亿元,实现归属于上市公司股东的净利润19.33亿元。期内,袁立群从公司获得的税前报酬总额为167.27万元。
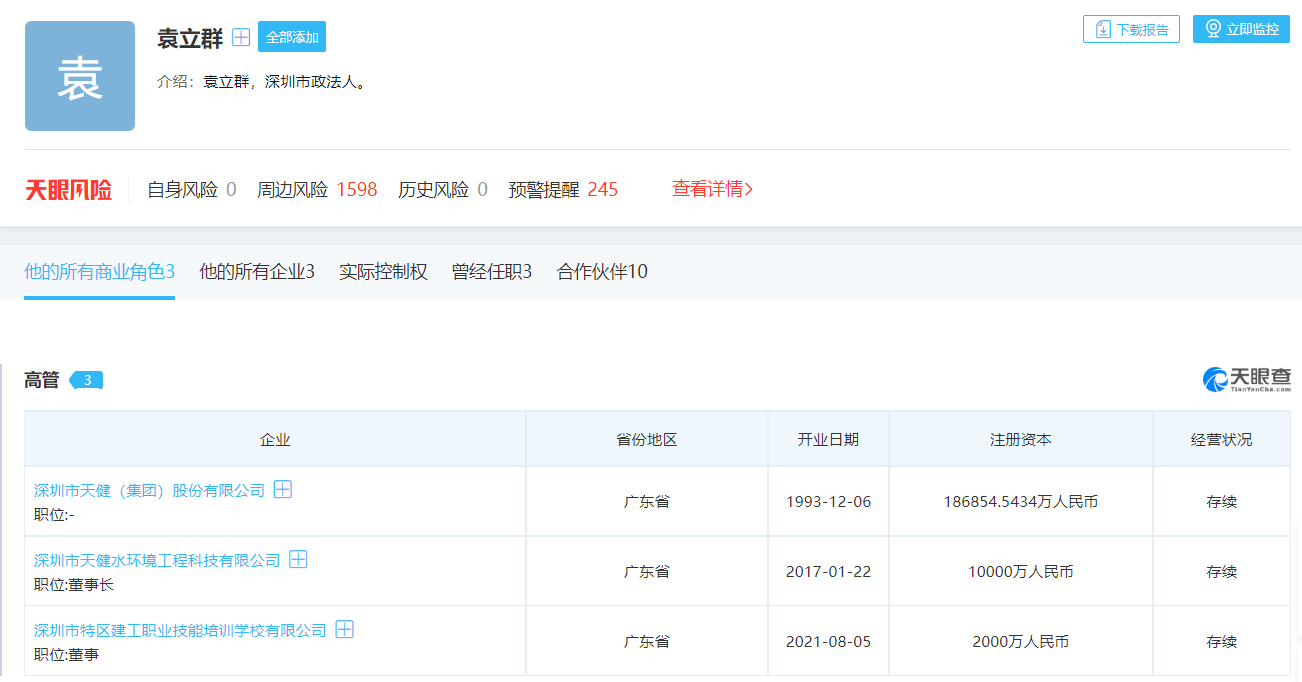
天眼查显示,袁立群在三家企业担任高管,除两家“天健系”公司外,还在深圳市特区建工职业技能培训学校有限公司担任董事。
不过袁立群被移送检察机关一事并未明显影响天健集团股价。8月12日公司股价小幅低开后震荡上行,截至收盘涨1.28%。
