继河南之后,安徽也发布了村镇银行风险处置方案。
7月11日,蚌埠银保监分局、蚌埠市地方金融监管局公告称,根据案件查办和资金资产追缴情况,经研究,对固镇新淮河村镇银行账外业务客户本金分类分批开展先行垫付工作。2022年7月15日开始首批垫付,垫付对象为单人合并金额5万元(含)以下的客户。单人合并金额5万元以上的,陆续垫付,垫付安排另行公告。
同时,公告显示,资金垫付后,若发现客户存在额外渠道获取高息或违法违规行为,保留追缴垫付资金的权力。对于额外渠道获取高息或涉嫌违法和犯罪的资金,暂不垫付。
公告还指出,垫付工作由中国农业银行蚌埠市分行代理组织实施。后续将启动客户相关信息的登记、核验和垫付程序,具体安排另行公告。
当日稍早前,河南银保监局、河南省地方金融监管局也发布了类似公告称,对禹州新民生村镇银行、上蔡惠民村镇银行、柘城黄淮村镇银行、开封新东方村镇银行四家村镇银行账外业务客户本金分类分批开展先行垫付工作,首批垫付对象为单家机构单人合并金额5万元以下的客户。
村镇银行“取款难”事件还要追溯到4月中下旬。彼时,有多名储户向蓝鲸财经记者表示,河南、安徽辖内共五家村镇银行均存在无法提现的情况。

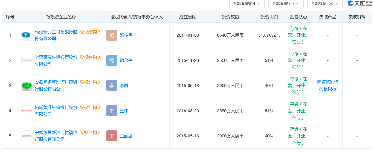
天眼查显示,上述五家银行,除了开封新东方村镇银行之外,有四家均为许昌农商行旗下村镇银行,分别是禹州新民生村镇银行、上蔡惠民村镇银行、柘城黄淮村镇银行以及安徽固镇新淮河村镇银行,许昌农商行持股比例分别为51.08%、51%、51%以及40%。

公开资料显示,2017年10月,许昌魏都农村商业银行名称变更为许昌农村商业银行;2021年3月,该行法定代表人发生变化,由张金保变更为邢进军。
7月10日深夜,针对河南几家村镇银行取现困难问题,许昌市公安局通过官方微信公众号“平安许昌”发布警情通报称,经许昌市公安机关全力侦查,现进一步查明:2011年以来,以犯罪嫌疑人吕奕为首的犯罪团伙通过河南新财富集团等公司,以关联持股、交叉持股、增资扩股、操控银行高管等手段,实际控制禹州新民生等几家村镇银行,利用第三方互联网金融平台和该犯罪团伙设立的君正智达科技有限公司开发的自营平台及一批资金掮客进行揽储和推销金融产品,以虚构货款等方式非法转移资金,专门设立宸钰信息技木有限公司删改数据、屏蔽瞒报。上述行为涉嫌多种严重犯罪。
通报还指出,近期,公安机关又抓获一批犯罪嫌疑人,又依法查封、扣押、冻结一批涉案资金、资产。案件侦办工作正有序推进。
同日晚间,河南省地方金融监管局官网发布消息称,禹州新民生等村镇银行风险处置方案即将公布。河南银保监局、河南省地方金融监管局有关负责人表示,为维护广大群众合法权益,有关部门正在加快核实4家村镇银行客户资金信息,制定处置方案,将于近期公布。“再次提醒相关客户尽快完成登记。”
在此前的6月中旬,多名储户向蓝鲸财经记者反映,因存款无法取出,他们去往河南尝试线下沟通。但抵达后,他们的健康码却被赋红码。彼时,还有多位未前往河南的储户在填报信息后被赋红码。
6月22日,中共郑州市纪律检查委员会发布通报称,此次共有1317名村镇银行储户被赋红码,其中446人系入郑扫场所码被赋红码,871人系未在郑但通过扫他人发送的郑州场所码被赋红码。
经查,郑州市委政法委常务副书记、市新冠肺炎疫情防控指挥部社会管控指导部部长冯献彬,团市委书记、市新冠肺炎疫情防控指挥部社会管控指导部副部长张琳琳,擅自决定对部分村镇银行储户来郑赋红码,安排市委政法委维稳指导处处长赵勇,市大数据局科员、市疫情防控指挥部社会管控指导部健康码管理组组长陈冲,郑州大数据发展有限公司副总经理杨耀环,对储户在郑扫码人员赋红码。根据相关规定,决定给予冯献彬撤销党内职务、政务撤职处分;给予张琳琳党内严重警告、政务降级处分;给予陈冲政务记大过处分;给予杨耀环、赵勇政务记过处分。
而随后的7月7日,又有来自山东、浙江、广东、辽宁、河北、江苏等地的多位河南村镇银行储户再次被赋红码,数据来源均为河南省。7月8日,郑州市大数据管理局网站发布《情况说明》称,在对健康码系统数据接口升级过程中出现技术问题,导致部分健康码异常,经紧急处置,7月8日8时已全部恢复正常。
