记者 杜萌
富国基金16.675%的股权拍卖有了最终结论。20日,山东国信(1697.HK)公告了该事项的最新进展。公告显示,公司收到山东金交中心的通知,该拍卖已经完成公开挂牌程序。山东省金融资产管理股份有限公司(以下简称“山东金融资产”)作为意向受让方,已经经过山东金交中心的资格审核,符合受让条件。
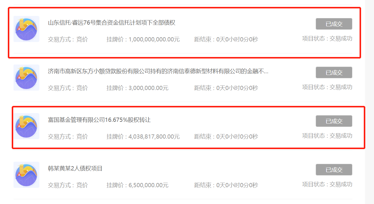
这意味着,山东金融资产将出资50.388亿元拿下富国基金16.675%的股权和山东信托.睿远76号集合资金信托计划项下的全部债权。
界面新闻记者查询山东金交中心网站发现,上述两个金融交易均显示为“交易成功”。
天眼查App数据显示,山东省金融资产管理股份有限公司的控股股东为山东省鲁信投资控股集团有限公司,股权占比为82.29%,其余还有包括山东省财政厅(股权占比为2.46%)、山东国信(股权占比为1.36%)等23名股东。
公司网站显示,山东金融资产是由山东省人民政府批准设立的省级金融资产管理公司,业务经营范围包括:不良资产管理、投资和处置,债权转股权,对外投资,买卖有价证券等。

2019年12月,公司实收资本增加至366.39亿元,是国内目前最大的地方资产管理公司,拥有“AAA”级主体信用评级。
此前,山东国际信托在受让方资质条件方面,特别指出受让方需要:1)、同时受让富国基金管理有限公司16.675%股权及睿远76号集合资金信托计划项下全部债权;2)、应一次性缴纳8亿元履约保证金,并在摘牌后3个工作日内支付第一部分交易款30亿元(含8亿元履约保证金),在富国基金管理有限公司股权转让取得证监会批复后5个工作日内支付尾款。
根据证监会的现行规定,基金公司变更5%以上股权时,需要报证监会审批。所以,该事项最终能否转让成功,仍需报证监会审批。
中国基金业协会最新公布的今年一季度基金公司非货规模数据显示,富国基金非货币理财月均规模首次突破6000亿元,以6168.51亿元位居行业第四位,仅次于易方达、华夏、广发。
以处置不良资产为主业的山东金融资产,为何花高价拿下富国基金的股权?对于“打包出售”的睿远76号集合资金信托计划,山东金融资产又将如何处置?
