5月5日,西安住房和城乡建设局官网发布《关于滹沱村等5个公租房小区清退房源再次分配的报名通知》,主要面向城六区住房保障中心和沣东新城、高新区、经开区、曲江新区、国际港务区、浐灞生态区、航天基地住房保障主管部门。
西安市目前有清退房源的公租房小区共计5个,房源合计1284套,西安市保障性住房管理中心委托市安居集团于近期对以上房源进行分配,现就报名有关事宜通知如下:
一、分配对象
此次分配对象为2020年12月31日之前,经两级审批、两次公示、六部门联审,取得公共租赁住房实物配租资格(不限租金标准)且目前仍然符合实物配租条件的轮候家庭。
二、报名截止时间
请符合此次分配对象条件且有意向报名有清退房源的公租房小区的轮候家庭于2022年5月5日至2022年5月24日,登录西安市保障性住房网上服务平台完成网上报名工作。

三、网上报名步骤
登录西安市保障性住房网上服务平台,开始网上报名工作。具体步骤详见《报名指南》。
四、报名须知
1、报名信息填写中的其它说明,仅能填写以下内容:
(1)申请家庭成员中有在服兵役期间荣立二等功、战时荣立三等功及以上的;
(2)申请家庭成员中有获得市级及市级以上见义勇为表彰、特殊贡献奖励、劳动模范称号的;
(3)享受我市城六区城镇最低生活保障和低收入保障的家庭;
(4)孤寡老人或申请家庭成员中有属于二级以上残疾、重点优抚对象的。
2、如填写上述内容的家庭,需在报名结束之前向社区递交相关证明材料,如未按照规定时间或者法定形式提交相关证明材料的,视为无效。
3、报名先后顺序与分配顺序无关。
4、每个轮候家庭只能参加一个剩余房源公租房小区的报名。已报名参加剩余房源公租房小区报名的,将不能参加其他剩余房源公租房小区的报名。
5、已在剩余公租房项目登记轮候排队的家庭,不影响其报名参加新交付的公租房房源的摇号分配报名工作。
6、如选择的公租房小区采暖方式为市政集中采暖的,采暖费用按照市政统一标准收取,如果不使用暖气,也需要按照相关规定交纳基础运行费。
五、项目介绍
1、曲江乐居公租房项目
项目地址:西康高速以西,绕城高速以南五典坡路以北。
公交线路:167路、192路春临一路东口下车向东30米。
可分配套数:套数504套。
房源套数及户型:一室户型,面积区间42至48平方米,套数504套。
采暖方式:市政集中供暖。
2、滹沱村公租房项目
项目地址:未央区北辰大道与浐灞三路十字东北角、浐灞三路2277号。
公交线路:1、乘坐36路、315路、316路在北辰路永城路口下车,向东步行300米路北;2、乘坐65路、全运三号线,浐灞二号线在北辰路凤城四路口站下车,向东步行400米路北。
可分配套数:383套。
房源套数及户型:一室户型,面积区间42至53平方米,套数303套;一室一厅户型,面积区间45至60平方米,套数80套。
采暖方式:小区集中供暖。
3、双竹村公租房项目
项目地址:西安市长安区韦曲街道樊川路1800号。
公交线路:1、乘坐地铁2号线至终点韦曲南站下车,向东步行800米路南;2、乘坐735、729路在双竹村站下车,向西步行100米路南;3、乘坐741路在徐家寨站下车,向东步行100米路南。
可分配套数:146套。
房源套数及户型:一室户型,面积区间35至43平方米,套数123套;一室一厅户型,面积区间49至65平方米,套数23套。
采暖方式:天然气壁挂炉供暖。
4、万科·高新华府配建公租房项目
项目地址:西安市雁塔区西沣二路高新华府配建公租房小区(高新华府19号楼)。
公交线路:1、乘坐220、311、313、322、73、150、33 109、173、204、260路,高家堡站下车,往东步行至西沣二路高新华府19号楼;2、乘坐183、118、840路,西沣三路站下车步行至西沣二路高新华府19号楼。
可分配套数:91套。
房源套数及户型:一室户型,面积为49平米左右,套数91套。
采暖方式:壁挂锅炉取暖。
5、阳光城丽兹公馆配建公租房项目
项目地址:西安曲江新区南三环以北,黄渠头三路118号。
公交线路:1、乘坐37路、公园南路黄渠头三路口下车,步行50米;2、地铁五号线,黄渠头站B口向东步行500米后向南500米,阳光城社区卫生服务站隔壁。
可分配套数:160套。
房源套数及户型:一室户型,面积区间38至48平方米,套数160套。
采暖方式:小区集中供暖。
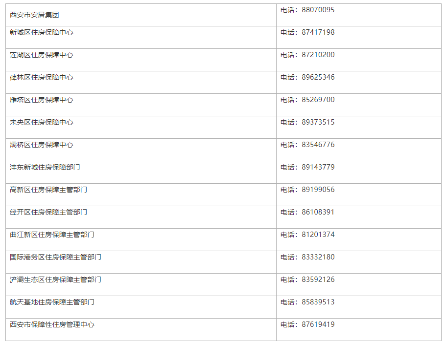
六、咨询电话

