文 | 车东西 Juice
编辑 | 晓寒
今年一季度即将量产的特斯拉4680电池,到底有哪些技术创新?最近,海外知名电动汽车媒体InsideEVs发布的一篇报道回答了这些问题。
该媒体的记者George Bower(具有机械工程师背景)根据新曝光的特斯拉电池专利文件和柏林、得州两座新工厂的实拍图,对即将投产的4680电池包和配套的CTC技术(电芯直接安装到底盘)进行了深入解析,涉及电芯封装工艺、电池包的结构设计、热失控管理、散热等多个方向。从其分析来看,4680+CTC的组合确实有不少反常规操作:比如搭载4680电池包的Model Y的车身底部是镂空的——电池包充当了车身底板,甚至车辆的座椅就直接安装在电池包的外壳上。4680电池包充当车身的“底盘”,能减少车身的部件,降低成本和重量。但是也会给车身的刚性和安全性提出新的挑战。
这一做法不仅与目前绝大部分采用承载式车身设计的电动汽车不同,还与其他CTC技术将电芯塞到底盘里的做法也不一样。打个比方,别人是往车身底盘里塞电芯,而特斯拉是往车身里塞“底盘”。又比如,4680电池包内部塞满了4680电芯,但其在四周并没有留出明显的空隙用作碰撞的缓冲区……
相反的,特斯拉却在4680电池包的底部设置了一个蜂窝状的镂空层,似乎是为了应对电芯热失控时产生的气体,并在底部发生碰撞的时候提供缓冲。此外,车东西在专利文件中也发现4680电池包还采用了新的焊接工艺和更全面的热失控管理设计。虽然目前还不能看到4680+CTC技术能给Model Y带来多大的续航提升,也不知道特斯拉的反常规操作如何解决带来的问题——比如如何保证车身刚性和碰撞安全性。
但这些专利和照片无一例外都说明特斯拉确实在不断迭代自己的电池设计,甚至是大踏步地进行迭代。特斯拉作为电动汽车行业的头号玩家,以及智能电动汽车的开创者和引领者,其电池技术的迭代与进步显然非常值得一看。

01.CTC技术显真容 座椅竟装在电池包外壳上
特斯拉同时展出了4680电池包和2170电池包的装车照片,而4680电芯则是最新的技术,所以George Bower根据特斯拉所展示的照片和专利进行了分析。从特斯拉此前展示4680电池包的照片来看,其中有多处值得关注的地方。首先是4680电池包直接取消了模组,从公开的照片来看,4680电芯密集的排列在车辆底盘中,取消了此前电池包中的模组设计,即所谓的CTC技术。

特斯拉4680电池包照片
在采用了这种技术之后,车辆的装配工艺也发生了变化。George Bower通过照片中的电池结构和油漆的颜色发现,车辆的座椅则是直接安装在电池包外壳上,这点从图片上方预留的接口也可以看出来。而此前所有的媒体报道也都表示在采用4680电池包之后,车辆的座椅将会直接安装在电池包外壳上。
另外,4680电池包继续采用了两个散热管道,可以更好的分散热量。而在冬季的时候,也可以更加均匀的为电芯供热。在仔细观看了照片之后,George Bower也发现了一个问题,特斯拉的4680电芯直接铺在车辆的底盘内部,从图片来看,特斯拉似乎并没有在电芯周围留有一定的空间。
一般来说,车企都会在电池包周围留有一定的空间,一方面是为了在车辆发生碰撞的时候留下缓冲的余地,保护电芯的安全,另一方面则是为了应对电芯出现异常导致气体产生的情况。除了照片之外,George Bower也参考了特斯拉此前申请的动力电池专利。在特斯拉2021年5月27日公布的序号为WO 2021/102340 A1的专利中也展示了Model Y的4680电池包。

特斯拉专利截图
专利图片显示,在采用了4680电芯之后,车辆的座椅将直接安装在电池包外壳上,同时电芯将会直接平铺在电池包内部,不再采用此前的四模组设计。

特斯拉电池专利截图
而在电池包的最下面一层,George Bower发现特斯拉设计了一层集成蜂窝状网络,他推测这一设计可以吸收电芯产生的气体,在发生碰撞的时候也可以吸收物理冲击。同时他也认为,该结构将会是一个完整的铸件,可以兼作结构构件,提升电池组的整体刚度。虽然在特斯拉公布的照片中无法看到这一结构,但George Bower认定这一结构将会出现在量产产品中。

特斯拉电池专利截图
根据马斯克在特斯拉2021年财报会议中的说法,4680电池包将会首先在奥斯汀工厂量产,这一信息在最近也得到了验证。George Bower发现特斯拉奥斯汀工厂中制造的Model Y车身底盘位置是空白的,似乎是为了4680电池包和CTC方案做的准备。

特斯拉奥斯汀工厂车身照片
根据目前已知的信息来看,4680电池包将会采用CTC的封装方式,车辆的座椅也将会直接安装在电池包外壳上,电池内部将会有两条散热管道进行散热。但由于特斯拉还未正式量产搭载4680电池包的车型,所以目前关于特斯拉4680电池包也还存在很多的不确定性,如最终量产产品是否会和专利显示的内容完全一致,其他如电池的安全性等问题也还并不清晰。
02.采用蜂窝结构新焊接工艺 热失控管理提升
而除了这些,特斯拉在2021年6月份也公开了一份关于动力电池的专利《INTEGRATED ENERGY STORAGE SYSTEM(专利号为US 2021/0159567 A1)》,从这份专利中也能看到更多关于4680电池包和CTC技术的资料。
在电芯装配方面,由于4680电芯的电流增大,特斯拉此前采用的铝丝连接方式已经不再适用,转而改为了名为Busbar的焊接方式来连接电芯,同时将电池管理系统的采集版直接连接在一起,减少电池包中线束的使用,降低成本。
电芯上下和电芯之间则采用了填充树脂材料,起到热保护和结构性支撑的作用,专利中显示,树脂材料通常在化学物质、填料和工艺要求的限度内可以进行适当的调整,因此技术人员可以根据耐热性和阻燃性、拉伸模量、伸长率、屈服强度、粘合剪切强度、混合粘度、处理时间和密度中的一种或多种的考虑来配置树脂材料。

特斯拉电芯之间将采用树脂材料填充
而这种特性也为电池阵列的方法提供了灵活性。根据产品要求,电芯排列单元之间可以部分或全部填充,而电芯上下的树脂层可以直接粘合到表皮上。在热失控管理方面,特斯拉也做了很多工作,此前的电池包中仅在电池后方设置了两个泄压阀,而在采用了CTC方案之后,热失控管理方面面临的难题也更多。
从专利和特斯拉公布的照片可以看出,特斯拉在CTC方案电池包一侧配备了八个泄压阀,几乎遍布电池包的侧面,这样做的好处是,一旦发生了热失控,能够快速打开泄压阀,降低电池起火风险。
在液冷方面,CTC方案电池包内的蛇形管布置与车桥方向平行,可以减少蛇形管长度,从而减少流阻,增加冷却的均匀性。可以看出,特斯拉为4680电芯和CTC技术做了很多前期的准备,而从此前公布的照片来看,特斯拉已经将专利中的内容搬到了现实中,毫无疑问,特斯拉正在发起新一轮的电池革命。
03.2170电池微调 Model Y续航增超20km
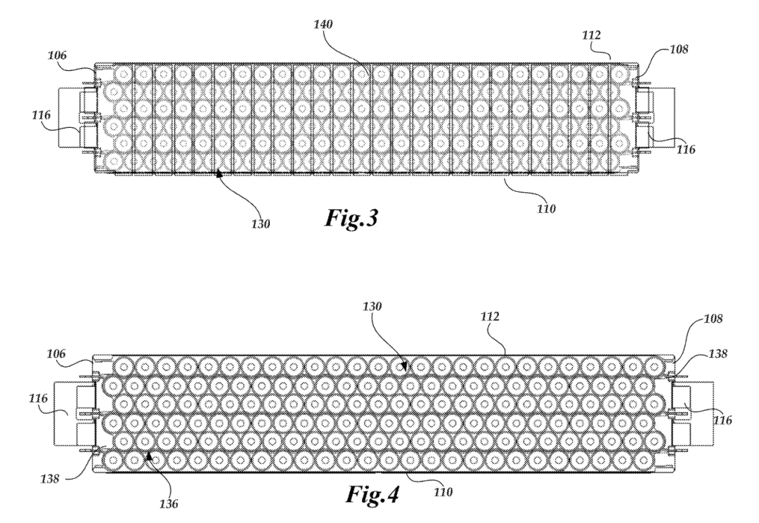
除了4680电池包之外,特斯拉官方展出的照片中还出现2170电池包,虽然目前特斯拉Model Y已经采用了2170电池包,但仔细来看,最新展出的2170电池包也有一些变化。George Bower在仔细研究了官方给出的照片之后发现,特斯拉最新展出的2170电池包采用了大模组方案。照片中可以非常明显的看到,2170电芯组成了四个模组,这四个模组共同组成了电池包,这跟目前Model Y电池包的封装方式非常接近。

特斯拉2170电池图片
与4680电池包不同的是,采用2170电池包的车型中没有采用座椅直接安装在电池包外壳上的方案,图片非常清晰的显示了电池上壳上面是车身的底板,底板横梁上留有座椅安装孔位。甚至从油漆方案上也可以看出来车辆座椅并非是安装在电池包外壳上,电池包上方的底板和座椅支架都涂成了白色,和车身颜色一致,而在4680电池包中,座椅支架则和电池包一样采用了黑色的油漆。但特斯拉最新展出的2170电池包和4680电池包也有一定的相似之处,这两种电池包都没有明显的多余空间来吸收撞击的动能和电芯异常释放的气体。在特斯拉2021年5月27日公布的序号为WO 2021/102340 A1的专利中也提到了2170电池包。专利中的部分图片也证明了George Bower的猜测。

特斯拉专利截图
从专利图片来看,特斯拉最新的2170电池包仍然采用了四个模组的方案,和目前在售的Model Y基本一致。这四个模组的长短并不相同,中间两个模组的长度比较接近,而两侧的模组长度也比较接近,但整体上看,中间两个模组的长度更长。

特斯拉专利截图
此外,专利图片显示,采用了新款2170电池的Model Y的座椅是直接和车身连在一起的,并未直接与电池包连在一起。

特斯拉专利截图
而在电池包的最下方,同样预留了一个集成蜂窝式网络,用以吸收撞击的动能和异常释放的气体,不过目前无法证实这一组件是否是一体压铸成型的。

特斯拉专利截图
根据此前的信息来看,特斯拉柏林工厂先期仍然将会采用2170电池包,该工厂生产的长续航版本Model Y相比国产版本续航里程从537公里增加到了565公里。
04.结语:4680+CTC将是特斯拉未来重点
电池技术和自动驾驶技术无疑是特斯拉目前最值得期待的两项技术,而投产在即的电池技术更值得关注。从特斯拉自己公布的照片和财报电话会议来看,4680电池包和2170电池包都将会成为特斯拉下一段主要的电池产品。
但在车东西看来,特斯拉最终目的则是大规模投入4680电池包和CTC技术。现阶段4680电池包的产量还比较小,无论是特斯拉自己生产还是从松下、LGES等供应商处购买,美国奥斯汀工厂在地理位置上都更接近。而在欧洲市场上,特斯拉短时间内无法获得更多的4680电池包,所以暂时还将会采用2170电池包。
尽管如此,柏林工厂也在积极进行电池工厂的建设,等到产能得到进一步释放,未来将会进行更换。综合来看,4680+CTC将会是未来特斯拉的主要发展方向。
