小米申请米宝呗商标,国际分类为金融物管

小米申请米宝呗商标,国际分类为金融物管

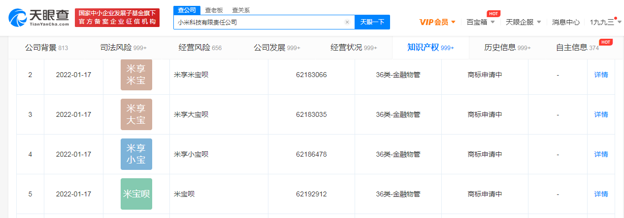
天眼查App显示,1月17日,小米科技有限责任公司申请注册“米宝呗”“米享大宝呗”“米享小宝呗”“米享米宝呗”商标,国际分类均为金融物管,当前商标状态为申请中。

    广告等商务合作,请点击这里

    未经正式授权严禁转载本文,侵权必究。

    打开界面新闻APP,查看原文
    界面新闻
    打开界面新闻,查看更多专业报道

    热门评论

    打开APP,查看全部评论,抢神评席位

    热门推荐

      下载界面APP 订阅更多品牌栏目
        界面新闻
        界面新闻
        只服务于独立思考的人群
        打开