记者 |
随着自动驾驶时代的迫近,汽车制造商正在考虑如何改变方向盘,让这个装置变得更加智能甚至隐形。宝马的最新想法是把它变成一个可以用一只手操纵的手柄式方向盘。
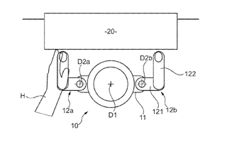
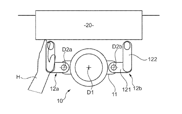
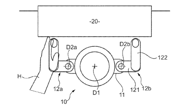
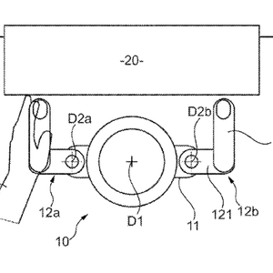
一个宽大的横杆,两端有两个L形的把手,是宝马新方向盘的基本形状,外面的把手可以独立于中心杆,自主旋转。
宝马的构想是创造一个更小的方向盘,一个能让自动驾驶汽车中的乘客有空间阅读报纸或检查电子邮件的方向盘。
宝马公在最新的一份专利文件中,描述了他们对“轭式方向盘”的新认知。从专利图上看,这是一个奇怪的小物件,感觉就像残次品。

宝马设想这种新“轭式方向盘”将被用于L3级或更高级别的自动驾驶汽车,当汽车处于自动驾驶模式时,标准方向盘会占用太多的空间。

宝马知道我们都想把书和平板电脑放在现在方向盘的那个空间里,“轭式方向盘”能部分解决问题。在文件中,宝马说,这样的“轭式方向盘”意味着可以为驾驶员提供尽可能多的自由空间,TA可以在驾驶过程中阅读报纸,通过平板电脑或类似工具来管理电子邮件。

轭式方向盘的整体设计还处于相当初级的阶段,宝马在文件中说,当汽车处于自动驾驶状态时,方向盘手柄的中央部分将保持在一个标准的水平位置,即使在弯道行驶时也是如此。
目前最有名的轭式方向盘来自特斯拉,但宝马的设计不同,因为其外部手柄可以在方向盘的弧线上顺时针移动,你的手不会改变其垂直轴。因此,当你的左手从9点钟方向移动到12点钟方向时,它可以保持拇指向上。
这样看起来十分疯狂的想法,在电动车世代完全可以实现。
宝马公司承认,一个人可以单手操纵配备了轭式方向盘的汽车,即使轭式方向盘的某些部分被折叠起来,它仍然可以用来操纵车辆。总的来说,尽管轭式方向盘很奇怪,但主要想法是缩小转向控制器的体积,宝马无疑已经做到了这一点。
轭式方向盘专利已在中国和德国申请,这表明宝马对这种设计是认真的。
特斯拉在新款Model S上配备的轭式方向盘遭遇大量质疑,相比传统方向盘上的按键和拨片,轭式方向盘的转向灯、喇叭都通过触控来完成操作。滚轮进行激活中控屏幕换挡器,通过点击屏幕进行换挡,从而来进行换挡操作。

触控式的设计会存在误触行为的发生,但马斯克认为看来这很棒。他曾公开表示,圆形方向盘既无聊又遮挡仪表盘,轭式方向盘可以在车辆开启FSD时提供更好的体验。
《消费者报告》对特斯拉轭式方向盘给出过评价:“几乎没有任何好处,而且还有安全隐患。”
消费者报告对10名司机进行为期一周的轭式方向盘测试,司机反馈称:转弯时手容易从方向盘滑落、高速公路巡航期间扶握方向盘会让手感到不舒适和疼痛、转弯时不小心按响喇叭、转向时不得不低头寻找按键、小手不容易握住。司机们认为方向盘的变化纯属面子工程。
