记者 |
编辑 | 谢欣
1月6日至1月9日,武汉市中心医院急诊科主任艾芬在微博发文称,爱尔眼科涉及“行贿”,还先后贴出多份“行贿”名单,列表信息中包括“联系人、金额、开户行、卡号、患者姓名、手术日期、病种、手术费”等内容。
据初步统计,这份名单涉及500多名患者,涉及回扣金额达78.55万元。受前述事件影响,该公司1月10日盘中跌超6%,收盘跌跌3.72%。
1月9日晚间,宿迁爱尔眼科医院微信公众号发声明致歉称,针对近日网传涉及不规范经营行为的信息,“我们深表歉意”。该声明还称,宿迁爱尔眼科医院于2019年已按照董事会相关要求进行了整改,严肃处理了违规员工,并撤换了管理团队。现任领导班子以此为鉴,进一步加强医院管理、坚持规范运营。同时强化对员工的日常教育,提升服务水平。

天眼查信息显示,此次曝光的宿迁爱尔眼科医院曾用名宿迁科以康爱尔五官医院,2021年11月26日才完成更名。此前,爱尔眼科回复《中国证券报》表示,宿迁爱尔眼科医院有限公司并非爱尔眼科控股子公司,而是爱尔集团授权使用品牌的医院。
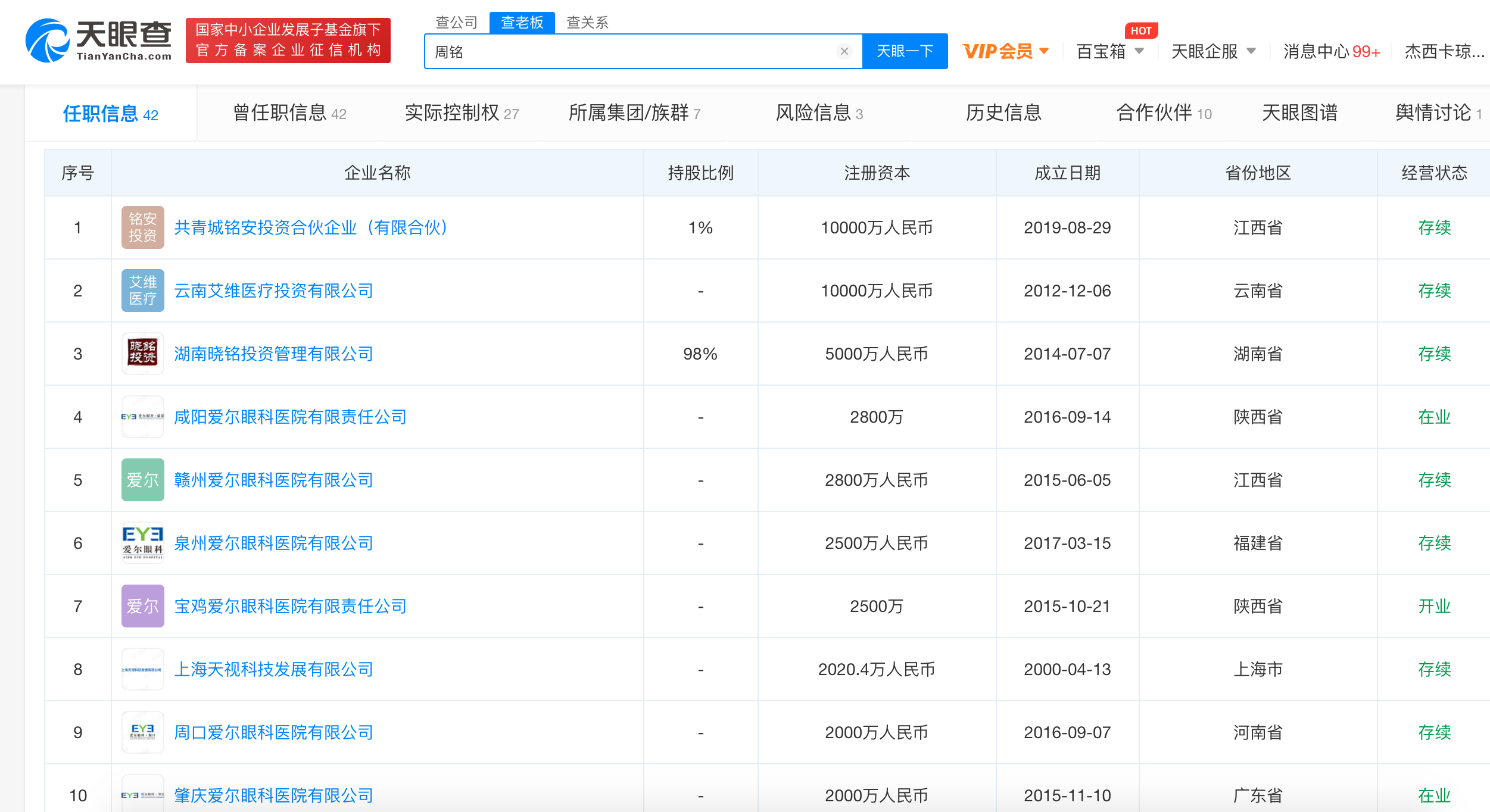
天眼查显示,宿迁爱尔眼科医院有限公司背后股东有四家,分别为南京视线医疗产业投资合伙企业(有限合伙)、上海视阔企业管理合伙企业(有限合伙)、宿迁视线医疗管理合伙企业(有限合伙)与天津爱信企业管理合伙企业(有限合伙)。


虽然从股权上看,上述四家公司与上市公司爱尔眼科无关联,不过股权穿透后不难发现,宿迁爱尔眼科医院显然是一家与爱尔眼科存在千丝万缕联系的医院。如从背后股东可看出,上海视阔企业管理合伙企业(有限合伙)应为爱尔眼科上海地区的员工持股平台,多位爱尔眼科上海地区业务高管出现在股东之中;天津爱信企业管理合伙企业(有限合伙)则是一家与爱尔眼科有过多次投资、收购合作的老面孔,此前其投资的多家医院曾被爱尔眼科收购。
而爱尔眼科一直采用早期体外基金孵化、成熟后并入上市公司的外延式并购模式,不难判断,宿迁爱尔眼科医院或许也本是一家在未来会装入上市公司的医院。而其法定代表人周铭也同样在数十家“爱尔系”医院任职。
此前,由于称在武汉爱尔眼科医院进行白内障手术后出现视网膜脱落,艾芬与爱尔眼科的纠葛一直在继续。
不光是公立医院转诊,艾芬称,爱尔眼科和兵役征召机构、近视学生的班主任、检测出白内障患者的街道乡镇也会有“合作”,相关人员会得到回扣。并且,飞秒激光手术、青光眼手术、角膜移植手术等的回扣数额均不同。据爱尔眼科2021年半年报披露,其屈光手术(矫正近视、远视、散光的手术,包含全飞秒手术)和白内障手术的营收达28.45亿元、10.73亿元,占同期总营收比重的38.72%、14.6%。
截至发稿时,对于公司内部如何处置收受回扣一类事件的办法、如何管理保障控股公司和授权的品牌医院受到同等约束等问题,公司方面未做出回复;对于当前舆论中热议的“回扣体系”等问题,公司方面也未有反馈。界面新闻记者多次拨打公司董秘吴士君的电话,均未能接通。
事实上,面对医疗贿赂屡禁不止的现象,国家有关部门近年已多次出台政策加码医疗反腐。例如,2021年9月,中央纪委国家监委等相关部门联合印发《关于进一步推进受贿行贿一起查的意见》(以下简称《意见》)。《意见》明确了查处行贿行为的五个重点,其中包括医疗领域行贿问题。
2021年11月,国家卫健委发布《关于印发医疗机构工作人员廉洁从业九项准则的通知》,明确要求医疗机构工作人员合法按劳取酬,不接受商业提成,严禁向患者推销商品或服务并从中谋取私利。
