文|闻旅 X 姐
编辑|郭鸿云
阿里近来“小动作”不少,对旅游业频频出手。
近日,才刚与凯撒“分手”没几天的众信旅游宣布:阿里网络拟以2.42亿元的总价,受让众信旅游6.04%的股份,阿里网络成为众信旅游第二大股东。同时,一个月前,杭州阿信乐游旅行社有限公司成立,而该公司幕后大股东为浙江阿里旅行投资有限公司。
众所周知,旅游版块在整个阿里体系内所占比重很小,且并不是那么受重视,临近年关,旅游业依旧在低谷中徘徊,而出境游更是一直处于暂停状态,阿里系缘何此时持续加码旅游业?旨在抄底?还是为完善自己的业务生态体系?亦或是为迎接出境游解封提前布局?
1频频加码旅游行业
根据众信旅游日前发布的公告,公司控股股东、实际控制人冯滨以及持股5%以上股东郭洪斌,拟以2.42亿元的总价,向阿里网络转让众信旅游6.04%的股份。


众信旅游公告
实际上,此次增持并不是阿里第一次向众信出手。去年9月,阿里网络就以3.85亿价格战略投资众信旅游。当时,冯滨转让了手中4547.03万股股份给阿里网络,占公司股份总数约5%,阿里网络成为众信旅游第三大股东。
如今,新的增持过后,阿里网络将持有众信旅游1亿股无限售条件流通股股份,约占众信旅游总股本的11.06%。冯滨持股比例由22.33%降至18.25%,仍为众信旅游控股股东,阿里网络也跃升为众信旅游第二大股东。
疫情暴发前,出境游市场火爆,而众信则是该领域的绝对王者。众信主要业务版块集中在出境游批发、零售业务以及商务会奖业务。2018年,众信旅游采用发行股份的方式购买资产,完成了对竹园国旅的全资收购,自此成为国内最大的出境游运营商之一。
此外,闻旅通过企查查还发现,一个月前,杭州阿信乐游旅行社有限公司成立,经营范围包含:酒店管理;露营地服务;旅客票务代理等。而根据企查查股权穿透显示,该公司幕后大股东为浙江阿里旅行投资有限公司。

企查查
值得关注的是,涉及此次众信股权转让的阿里网络也是由浙江阿里旅行投资有限公司与众信于2020年11月份合资成立,也就是说,除了众信,阿里还在其他旅行社业务上有布局在推进,为其未来在旅游市场的进一步扎根奠定基础。
回看浙江阿里旅行投资有限公司,这家企业成立于2016年07月11日,法定代表人是庄卓然,该企业的主要业务包括旅游产业投资(未经金融等监管部门批准,不得从事向公众融资存款、融资担保、代客理财等金融服务)、产业发展咨询、为旅游行业企业提供产业管理服务等。除新成立旅行社外,近日还参与成立了四川省智游天府科技有限公司,经营范围包含:物联网技术研发、供应链管理服务、互联网信息服务、保险代理业务等。
种种迹象表明,除“抄底”众信加码出境游版块外,阿里还将深度涉足国内旅游市场,也有业内对闻旅解读到,尽管旅游版块在整个阿里体系内存在感微弱,但并不意味着阿里要放弃这块“蛋糕”,相反随着疫情稳定后旅游市场快速回暖,这个赛道对于阿里而言或将迸发出新的机遇,值得阿里提前下场,加速卡位。
2阿里心里的“小九九”
距离疫情暴发迄今已接近两年,尽管在疫情管控向好的形势下今年旅游业市场有所回升,但同2019年相比仍旧相差甚远。文化旅游部数据显示:2021年前三季度,国内旅游总人次26.89亿,比上年同期增长39.1%,恢复到2019年同期的58.5%。
可以看到,旅游业至今未恢复全部元气,特别是出境游仍尚未解封。疫情常态化下,阿里为何频频出手旅游业?
“疫情暴发前,众信原有的体量很大,在出境游方面积累了很多优质客群资源,倘若这些资源能与阿里系内其他生态体系结合,将很有价值。”景鉴智库创始人周鸣岐在接受闻旅采访时指出,出境游的核心价值不在渠道,而是客群,在此方面,众信旅游颇占优势,若能被阿里所用,将释放出“1+1>2”的动能。再加上阿里本身还有飞猪这块招牌,再利用众信加码旅游业,也是希望从不同维度切入完善其生态圈。
在北京联合大学在线旅游研究中心主任杨彦锋看来,阿里网络第二次增持众信是一种长线的战略布局。“阿里不会考虑它短期所面临的挫折,从长远的目光来看,阿里看好旅游业的发展。”杨彦锋告诉闻旅,从阿里网络两次增持众信的时机来看,都是众信经营状况不太好的时候,但阿里还是坚定的两次给众信注资,在某种程度上也证明他们看好旅游,特别是出境游的赛道,从而进行深度布局。“阿里有充足的长线资金以及有线运营的能力,而众信有品牌价值和有线下操作经验,特别是在海外旅游方面有多年积累的经验和资源,这些都是宝贵的线下财富。”杨彦锋认为,线上、线下结合发展,一直都有故事可讲。
同时,杨彦锋进一步指出,阿里对众信的战略投资未来或许会有实质行动,除了资金外,二者很有可能会在业务、资本层面有深度合作,未来还是值得期许的。
尽管眼下出境游还未能恢复,但在2021携程集团全球合作伙伴峰会上,携程联合创始人兼董事局主席梁建章表示,最近旅游行业逐渐复苏。截至9月,欧洲航空市场已经恢复到疫情前的七成,乐观预计2022年夏季有望恢复到2019年水平。海外开放情况,预计亚洲国家三个月陆续开放,预计半年后中国有条件开放。
因此,也有业者认为,阿里此举正是为了迎合将来出境游的开放。
至于加码旅行社业务,周鸣岐直言:“旅行社目前的处境和态势是整体向下,所以看不懂阿里的用意。”
自疫情暴发以来,旅行是最受冲击的旅游细分领域之一,以今年疫情反复的几个时间节点为例,大多和旅行社有着分不开的关系,比如7月爆发的灾情和疫情,从南京禄口国际机场,到张家界景区,再到常德游船,随后福建厦门、重庆也陆续发现疫情,持续蔓延的疫情让多地旅行社陷入忙碌的退团工作;又如10月某旅行团发现两例疫情之后,全国疫情再次蔓延,涉及16个省区市,从甘肃、黑龙江到河北,多个省市区相继发布了通知暂停旅行社即在线旅游企业旅游业的通知。尽管根据后续报告,该疫情的源头是自由行,而非传统的旅行社跟团,但是疫情带来的经营危机和信任危机还是让传统旅行社难以为继。
此外,一旦疫情出现反复,为防控疫情,各省会即可发布跨省游熔断机制,这也是限制旅游社恢复和发展的关键因素。

文旅部官网通知
然而,尽管如此,但消费需求导向下的旅行社市场依然庞大。文旅部官网相关数据显示,中国旅行社数量并未因疫情的影响而减缓,反而呈现上涨态势。数据显示2017年全国旅行社总数为27409家;2019年全国旅行社总数为38943家;2020年全国旅行社总数为40682家;而截至2021年9月30日,2021年第三季度全国旅行社总数为42152家。
在不少业内人士看来,疫情常态化下,消费者对旅游需求的爆发为旅行社的发展创造了巨大的消费市场,或许阿里嗅到了其中暗含的机会,而提前布局,哪怕是多占几个坑位。
3“大厂”扎堆跨界试水旅游
近期瞄准旅游业的不仅阿里一家。

企查查
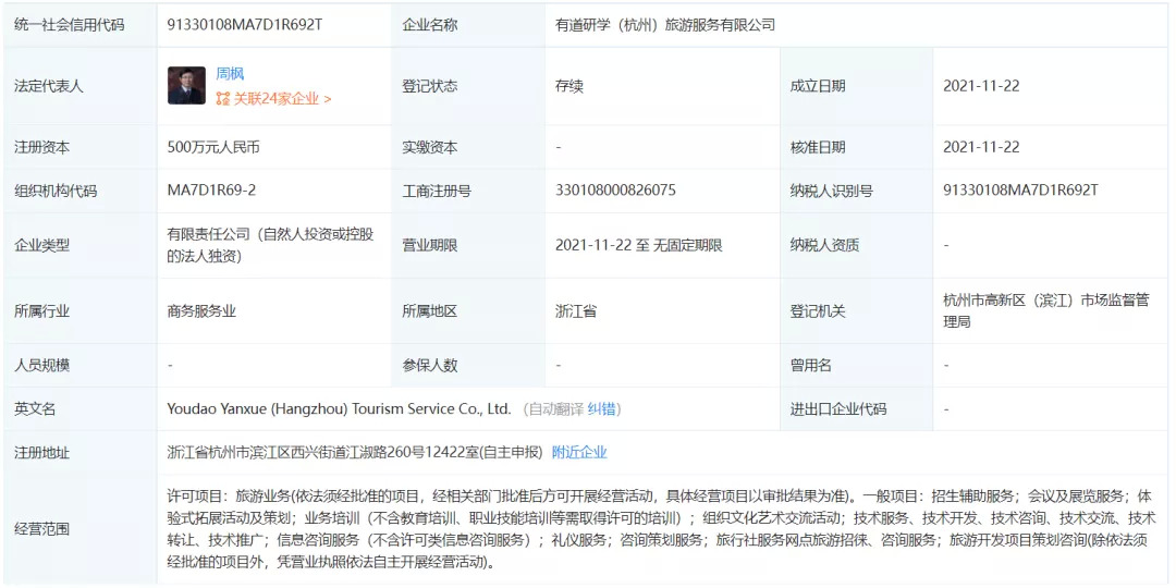
近日,网易成立有道研学(杭州)旅游服务有限公司,经营范围包含旅游业务、旅行社服务网点旅游招徕及咨询服务、旅游开发项目策划咨询等。随着“双减”政策持续推进,不少教育巨头纷纷掉转船头开辟新市场,寻求新的业务增长模式,在此背景之下,研学旅游也成为一块“兵家必争之地”。而网易从2015年开始就陆续涉足旅游,如网易旗下的乐得科技有限公司与海航旅游集团合资成立互联网旅游企业,网易旗下的严选、云音乐联手亚朵酒店打造IP酒店等。因此,网易选择加码研学旅游似乎也在意料之中。

来源联想集团公众号
同时,联想集团与颐和园达成战略合作,为颐和园搭建智慧云平台,建设智慧化、人性化、综合性、系统性、有效性的颐和园智慧管理和服务体系,共同发力智慧旅游。而联想集团入局智慧旅游,和其业务调整有关。联想集团从2014年开始成立了不少新的、相对独立的业务集团,云服务业务集团正是其中之一,云服务为与颐和园合作提供了技术基础,此次合作也可看作联想集团涉猎智慧旅游的“投石问路”。
此外,今年这一年里,靠共享单车起家的哈啰出行向旅游业再迈进一步,成立100%控股的旅行社——上海钧行国际旅行社有限公司;抖音旗下的山竹旅行,产品以抖音内独立的小程序形式呈现,包含门票预订、酒店预订等功能,从视频种草到交易在抖音App内形成完整闭环……
如此看来,不论是互联网大厂,还是企业巨头都纷纷试图在旅游版图上开疆拓土。
实际上,对于阿里这类资金雄厚的互联网大厂而言,投融资遵循着“低买高卖”的逻辑,即在行业平稳发展时并不出手,但在行业遭遇黑天鹅时就会大举进军,包括自设公司、投资相关企业甚至直接收购。
在北京第二外语学院中国文化和旅游产业研究院副教授吴丽云看来,受新冠肺炎疫情冲击,旅游业一直处于低迷期,在资金相对充裕的情况下,逢旅游业低谷卡位旅游业对于一些大厂而言是一个不错的选择。
同时,吴丽云也指出,当互联网公司进入旅游业后,能否迅速摸清旅游业门道、将原有优势有效转化形成新的商业模式、展现创新能力以及迅速预测市场消费趋势并提前做出相应布局才是真正竞争焦点所在。
此外,疫情也加速了旅游需求提档升级,以今年国庆为例,客流向自驾、度假、康养、运动健身等领域分流,旅游市场向高品质休闲度假和低消费进程休闲分化。
在流量红利见顶的当下,网易、抖音等互联网大厂正以肉眼可见的速度加速整合旅游全产业链资源,对接下来的旅游市场变局埋下伏笔。旅游业或将成为更多巨头抢夺的蛋糕,老玩家们有存量优势和沉淀出来的市场经验,而新玩家们也不乏流量渠道和内容创新,未来随着疫情情势的变化,谁执牛耳仍未可知。
