文|闻旅 杨凡
近日,948交通广播发布的一则业主维权信息,引起了闻旅的注意。
2018年5月,吴某在湖北孝感汉川市马口镇天屿湖文旅小区购买了一套别墅,购房合同明确交房时间为2019年10月1号。但直到2020年5月份,业主们才收到“收房通知书”,这距离约定交房时间已过去近7个月。
针对项目违约事宜,开发商湖北天屿湖生态文旅有限公司相关负责人在接受采访时表示,将给予业主两年物业费减免,如业主不接受,可通过法律途径解决;而根据吴某的说法,其购房合同内的赔付细则与上限设置自相矛盾,属于不合理条款。
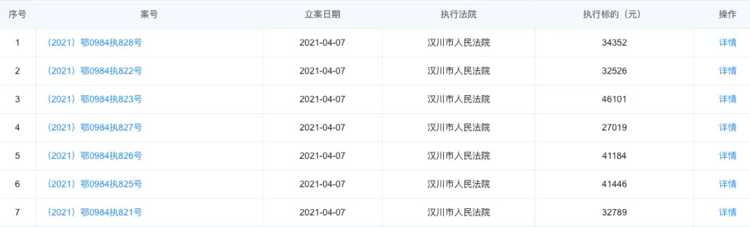
吴某的诉求不是孤例,企查查信息显示,早在2020年底,楼盘部分业主已经就违约事宜将湖北天屿湖生态文旅有限公司告上法庭并胜诉,而因为拒不履行,4月7日,该公司被汉川市人民法院立案执行。

资料显示,湖北天屿湖生态文旅有限公司(曾用名湖北达利地产有限公司)成立于2009年10月14日,公司成立之初,注册资金为2.4亿元人民币,由国内食品行业巨头——福建达利食品有限公司创始人、董事长许世辉和陈丽玲(许世辉妻子)、许阳阳(许世辉女儿)家族全资控股。

2019年12月6日,湖北天屿湖生态文旅有限公司注册资本变更为8亿元人民币,引入汉川市达利置业有限公司占股46.15%;企查查历史股东镜像显示,2020年5月7日至今,公司历经两次注册资本变更,注册资本增至25.8亿元人民币,许世辉及其妻、女的总持股比例已降至16.3%。

至于涉事楼盘,该项目年代甚为久远。资料显示,2009年10月,湖北达利地产有限公司与汉川市人民政府签订白石湖(天屿湖)生态旅游开发项目,项目由湖北达利地产有限公司投资建设。分三个过程开发建设,第一期将投入建设资金20个亿,整个项目建设完工投入资金将超百亿。
据了解,早在2005年,达利集团就在汉川注册成立了湖北达利食品有限公司,而作为达利集团的掌舵者,许世辉之所以在当地跨界文旅地产,主要是看中其文旅地产的发展前景。
作为项目所在地,汉川马口镇因三国时期蜀将关云长经此地系马小憩而得名,该地生态资源优越,位于汉川市与武汉市中间地带,距武汉仅“一步之遥”,地理区位优势突出,交通条件便利,具备文旅地产发展的几大核心要素。
按照许世辉的构思,以汉川对外交流和展示的形象窗口、武汉市的后花园和华中西湖为建设目标,该项目的具体策划将分为“三个过程”:
第一,在保护自然生态和改善环境质量的基础上,充分挖掘岛、湖、林等自然资源优势,建设入城主干大道、环湖大道,把岛、湖、林三位巧妙连为一体,再进行高端的景观景点建置和绿化美化优化,并对湖面进行彻底清淤泥、砌护堤、人造沙滩、净化整治等;
第二,人工造岛架桥,分岛分区合理规划,建设五星级酒店及配套设施、国际会议会展中心、高级会所、高尔夫球场、大型综合购物广场、美食广场、休闲健身娱乐广场、水上乐园、游艇俱乐部等,形成湖中有岛,岛上有景,湖景相映,岛岛相联的有机整体;
第三,规划建设高档别墅商住区、度假村、幼儿园、学校、社区医疗保健院等。
通过上述三个过程的建设,达到浓缩现代城市精品,打造现代城市综合体的效果,充分体现包括“居住、旅游、休闲、娱乐、度假、商务”等六大功能,使白石湖成为集湖泊生态旅游观光、大型休闲度假、高品位人居为核心内涵的一体化国家级景区精品。
自2010年8月项目正式奠基后,公司拿地进度迅猛。企查查显示,截至2017年3月,湖北天屿湖生态文旅有限公司先后在汉川拿下55块其他普通商品住房/住宿餐饮用地,总面积达6400亩(加上天屿湖,项目整体面积接近万亩)。至于楼面价,以2010年8月24号湖北达利地产有限公司首次拿下的8宗其他普通商品住房用地为例,其综合楼面价不过百元人民币出头。
对比后期项目楼盘的售价,这一楼面价看似极具成本优势,但“鸿篇巨制”的项目规划,决定了其基础建设和多元配套需长期大成本投入。
以项目水体整治为例,仅35km的环湖公路、桥6座、水体1268万方和园区景观绿化1136亩,其成本就达到了15.7亿;包括建筑面积219261.93㎡、内容包括艺术街区、小吃市集、闲来水院、亲水外摆、天屿广场、观屿台、特色景点雕塑等在内的天屿坊项目,其投入同样超10亿元人民币。

作为快消品类的代表,食品行业讲求存货快周转;而反观文旅地产,其有着典型的重投入、长周期、慢回报属性。对于跨界而来的达利集团而言,在积极探索多元化的同时,确保集团主营业务根基稳固乃至长青至关重要。从这一点看,许世辉似乎并未做好平衡。
受消费升级带动,近年来国内食品饮料行业站上风口,明星创业公司融资高潮迭起。但恰恰是在这一大背景下,自2015年上市以来达利食品(03799)的业绩状况却并不理想。以2017年-2019年财务数据为例,达利食品营收增速分别为10.99%、5.41%、2.5%;净利润增速分别为9.47%、8.26%、3.3%。到2020年,其营收已同比下降1.9%,净利润同比仅上升0.2%。
当主营业务陷入瓶颈,许世辉旗下正处重资产投入/长培育周期的文旅地产项目很难不受影响。
可以看到的是,自2017年起,因合同纠纷、拖欠账款等原因,湖北天屿湖生态文旅有限公司被包括东芝电梯(中国)有限公司、中国一冶集团有限公司、福建省德龙建设工程有限公司、武汉法雅园林集团有限公司、上海松谷球场工程有限公司、方圆建设集团有限公司等在内的多家供应商连续告上法庭,且因拒不履行,公司多次成为被执行人。
至于集团耗重资于总部所在地惠安县打造的达利世纪酒店,企查查信息显示,5月28日,许世辉/陈丽玲夫妇已将其所持的惠安县达利世纪酒店有限公司100%股权,全部转让给惠安融世投资有限公司。

作为汉川市文旅产业的重点项目,自2018年起,在地方文旅局的指导支持下,天屿湖国际休闲社区启动了省级旅游度假区创建工作。项目聘请国内知名设计单位编制了《湖北天屿湖旅游度假区总体规划》,在基础设施、景观环境、餐饮住宿、接待服务等方面进行了高标准的完善提升,并于2020年底通过检查验收成为省级旅游度假区。
尽管多了省级旅游度假区头衔加持,但从市场趋势来看,未来该项目面临的挑战重重。武汉本地房产业者无浪(化名)向闻旅分析称,以汉南绿地城、世茂龙湾、汉川天屿湖为代表,这些环武汉文旅盘的规划理念属于上个时代的产物,其本质均以房产销售为主,操盘方缺乏体系化的内容导入和综合运营能力,由此导致产品体验差强人意,维权投诉频频。
要指出的是,在2018年前后,因彼时武汉楼市炒房心态浮躁,加上本地客群对文旅地产产品认知尚浅,部分文旅地产项目蹭上了最后一波“时代”红利。但在未来,伴随消费客群的逐步成熟,一味重建设/销售而缺内容/运营的文旅地产,很难再沿袭既有营销路径重返高光。
反映在楼盘销售上,企查查显示,因拖欠佣金/广告费等合同纠纷,湖北天屿湖生态文旅有限公司连续被福州九歌万派房地产顾问有限公司、杭州佐派文化传媒有限公司、武汉上韬房地产顾问有限公司、深圳市博思堂文化传媒股份有限公司告上法庭。

与此同时,无浪谈到,以甘露山、梧桐湖等文旅地产项目为代表,无论从项目区位优势,操盘方资金实力、资源整合能力、运营管理经验等维度来衡量,这些新晋/即将入市的项目无疑拥有更为明显的比较优势。“当市场认知的信息差被抹平,行业回到真正的综合能力大比拼,以运营为核带动销售将成为常态。项目究竟是真功夫还是徒有虚名,很快会被现出原形。”
