2021年春节,部分群众响应政府号召,减少流动,选择就地过年,故产生了新的网络流行语——“原年人”。
据天眼查APP显示,近日,两家公司申请注册“原年人”商标,国际分类涉及广告销售、服装鞋帽、方便食品,商标状态均为“商标申请中”。


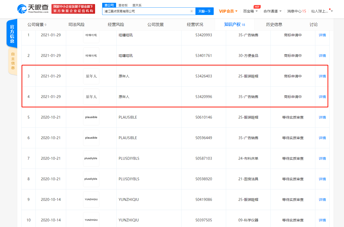
2021年春节,部分群众响应政府号召,减少流动,选择就地过年,故产生了新的网络流行语——“原年人”。
据天眼查APP显示,近日,两家公司申请注册“原年人”商标,国际分类涉及广告销售、服装鞋帽、方便食品,商标状态均为“商标申请中”。


广告等商务合作,请点击这里
