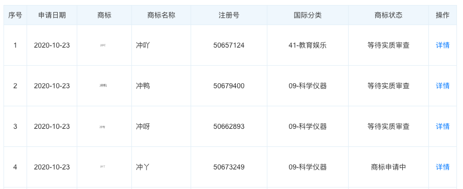
据天眼查APP显示,近日,广州酷狗计算机科技有限公司新增多条商标信息,商标名称包含“冲吖”、“冲鸭”、“冲呀”、“冲丫”,申请日期均为10月23日,国际分类涉及教育娱乐、科学仪器,商标状态为等待实质审查和商标申请中。

据天眼查APP显示,近日,广州酷狗计算机科技有限公司新增多条商标信息,商标名称包含“冲吖”、“冲鸭”、“冲呀”、“冲丫”,申请日期均为10月23日,国际分类涉及教育娱乐、科学仪器,商标状态为等待实质审查和商标申请中。

广告等商务合作,请点击这里
