记者|梅岭
9月29日,新余国科(300722.SZ)尾盘封上涨停板,截止收盘,该股报56.88元/股,上涨20.00%。并再次创下公司2017年上市后历史新高。
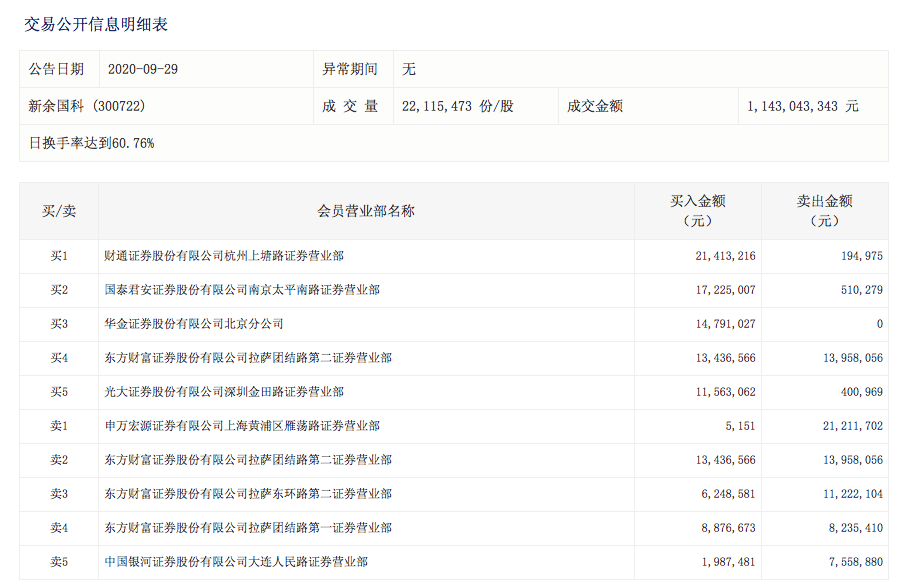
盘后龙虎榜数据显示,新余国科日换手率达到60.76%,日价格涨幅达到20.00%,当日成交金额11.43亿元。财通证券杭州上塘路营业部买入2141.32万元,卖出19.50万元;国泰君安南京太平南路买入1722.50万元,卖出51.03万元;东方财富拉萨团结路第二营业部买入1343.66万元,卖出1395.81万元。

(图片来源:深交所)
此外,申万宏源上海黄浦区雁荡路卖出2121.17万元,东方财富拉萨东环路第二营业部卖出1122.21万元,东方财富拉萨团结路第一营业部买入887.67万元、卖出823.54万元。
自9月24日新余国科当日下跌13.75%后公司迎来连续三个大幅上涨,三个交易日内公司股价累计上涨57.91%,高于大盘同期0.66%。

公司在9月28日发布的股票交易异常波动公告中表示:截至2020年9月28日,公司静态市盈率为173.02倍,滚动市盈率为196.31倍,市净率为15.95倍;公司所处行业“02010101航空航天与国防”行业,静态市盈率为73.17倍,滚动市盈率为65.67倍,市净率为4.35倍。
新余国科当前的市盈率、市净率显著高于同行业的平均水平,公司提醒广大投资者注意投资风险。
根据东方财富数据显示,近一个月来,参与买卖新余国科的营业部中,东方财富证券有限公司拉萨团结路第二证券营业部龙虎榜成交金额1.8亿元,买入9648.08万元,卖出8333.96万元;中国中金北京宋庄路龙虎榜成交金额1.31亿元,买入6268.87万元,卖出6779.74万元。
9月以来,新余国科股价在21个交易日内,已经累计上涨170.60%。
9月22日,创业板对其下发关注函,关注函要求新余国科结合行业趋势、市场需求、产品竞争力、行业地位变化情况等因素说明最近一年一期净利润下滑的原因,并核实公司核心竞争力是否发生重大不利变化,并充分向投资者提示相关风险等。
9月23日,新余国科回复表示,公司股价短期内涨幅较大,公司近几年主营业务比较稳定,2020年上半年受新冠肺炎等影响公司经营业绩有所下滑,公司目前的生产经营情况和其他内外部经营环境也未发生重大变化,公司目前的估值水平与公司经营业绩不匹配。
2020年上半年,新余国科实现营业收入9159.04万元,同比减少10.00%;归属于上市公司股东的净利润1178.00万元,同比减少28.66%。
这其中,2020年上半年,新余国科军品业务收入同比下滑32.70%,占营业收入的比重同比由66.56%下降至49.77%;军品业务毛利率同比下降7.26个百分点至35.62%。
这成为上半年公司业绩下滑的主要原因。
根据公司所述,新余国科目前在军用火工品领域持续保持了全国规模排名靠前的地位,在枪弹底火类产品具备规模最大的优势。
新余国科军品业务主要包括军用火工品(包含火工元件、火工装置等)研发、生产和销售。公司民品业务主要包括人工影响天气专用技术装备、气象装备及相关软件的研发、生产和销售。
