记者 | 薛冰冰
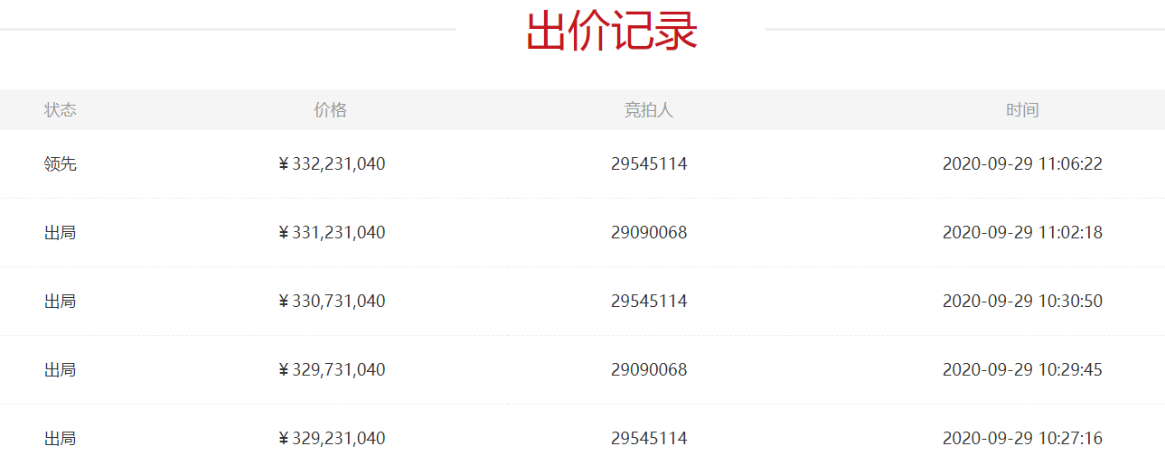
9月29日10时起,龙江航空有限公司98%的股权在京东网络司法拍卖平台上公开拍卖,起拍价为3.28亿元,每次加价幅度50万。目前,此标的物已被出价5次,最高价出至3.32亿元。
早在8月28日,黑龙江省哈尔滨市中级人民法院发布《关于龙江航空有限公司98%股权对应股东部分权益价值项目第一次拍卖公告》,拍卖标的为龙江航空有限公司股东部分权益价值项目,其中,哈尔滨亚翔航空建设投资有限公司持有龙江航空有限公司61%股权、哈尔滨湘玉金制品销售有限公司持有龙江航空有限公司37%股权,共计98%股权。
评估报告显示,截至8月31日,龙江航空有限公司净资产账面价值4.12亿元,评估后股东全部权益价值4.19亿元,增值746.44万元。
据京东司法拍卖网站信息显示,龙江航空拍卖活动共有2人报名、18985人围观、无优先权购买人。从出价记录可以看到,报名参与拍卖的2名竞拍者共出价5次,最高价出至3.32亿元。

不过,由于竞拍持续一天时间,到9月30日10时截止,目前竞拍人具体身份尚未公布。按照法院规定,竞买成功后,竞买人(法定代表人、其他组织的负责人)须与委托代理人一同到法院办理交接手续,到法院签订成交确认书、领取标的。

公开资料显示,龙江航空于2014 年7月4日经民航局批复筹建,以哈尔滨天平国际机场为主运营基地,经营国内、国际和地区客、货运输服务。天眼查APP显示,龙江航空有限公司由哈尔滨湘玉金制品销售有限公司、北京泰富恒通投资管理有限公司、梁富华及陈志强共同投资设立,注册资本 8亿元。
从成立至今,龙江航空有限公司一共发生过八次股权变更,期间,法普罗德国际贸易(上海)有限公司、上海证大投资发展股份有限公司、董运伟等先后入股又分别退出,到最后一次时,公司大股东已经变更为哈尔滨亚翔航空建设投资有限公司,持股比例为61%。
财报数据则显示,截至 19 年 08 月 31 日,龙江航空有限公司资产总额 12.33亿元,负债总额 8.22亿元。而当年1-8 月公司营业收入 11,175.31 万元,净亏损6181万元。

据了解,龙江航空成立以来陆续开通 5 条航线,公司员工约 410 人。评估基准日时,公司仅有2条航线在运营,包括哈尔滨=合肥=珠海及哈尔滨=银川=重庆。今年,龙江航空又购买 2 架空客 A321 型飞机。
