文 |野马财经 蔡真
在全球视频监控设备市场,连续七年蝉联市场份额第一的海康威视是毫无疑问的老大。今年三月,这家低调的公司被消费者和监管层置于“监控”之下。
3月14日,上安防巨头上市公司海康威视(002415.SZ)发布公告,公司两位高管被证监会出示警示函。早在去年11月,公司两名董事胡扬忠、龚虹嘉因为涉嫌信息披露违法违规被立案调查,龚虹嘉同时担任董事的另外两家上市公司,中源协和(600645.SH)和富瀚微(300613.SZ)却纷纷发布公告撇清关系,称这是针对龚虹嘉个人的调查,被调查原因是涉及海康威视核心管理层的股权激励。
如今靴子落地。证监会《措施决定书》称,公司副董事长龚虹嘉、总经理胡扬忠在增减持股份过程中未向海康威视报告为他人提供融资安排的情况,决定对龚虹嘉、胡扬忠采取出具警示函的监督管理措施,并记入证券期货市场诚信档案。
这并非海康威视近日遭遇的唯一风波。
业绩未达标,股权激励标准就下调?
3月4日,海康威视收到深交所问询函。
此前公司董事会审核通过一项决议,将2018年限制性股票计划公司业绩考核指标做出了调整,将“解锁时点前一年度相比授予时点前一年度的复合营业收入增长率不低于20%,且不低于标杆公司同期75分位增长率水平。”修订为“解锁时点前一年度相比授予时点前一年度的复合营业收入增长率不低于20%,或不低于标杆公司同期 75 分位增长率水平。”
这就意味着原本双重达标才能拿到的股权激励,现在满足任一条件即可。
根据海康威视2月29日发布的业绩快报显示,公司2019年营业总收入增长15.88%,归属于上市公司股东的净利润增长 9.21%。也就是说按原定标准,则业绩考核并未达标。深交所由此发出问询函:此时下调考核门槛,是否可能损害公司和中小股东的利益?
海康威视迅速做出回应,称公司受美国商务部实体清单制裁的影响,海外市场受到冲击等影响,新标准相比于刚性、确定性的数字指标,更加结合实际,也更能激励公司的核心骨干人员继续保持奋斗精神,从而实现公司的长远健康发展。不存在损害公司及全体股东利益的情形。
公司创始人之一,副董事长龚虹嘉当时在接受《中国企业家》采访时曾表示,“最大的挑战”来自于海康威视的技术团队,要说服这些技术人才跟你守在一起而不是出去自立门户,“挑战很大!”调整股权激励标准某种意义上也可以看出公司留住人才的诚意。
在海康威视的东方财富股吧里,有投资者对此表示不满,认为公司不讲诚信,也有投资者直言修改业绩标准就是为了让高管减持,损害股东利益。也有部分投资者对海康威视当下的困难表示理解。
值得注意的是,据东财choice数据统计,海康威视上市以来,龚虹嘉已经累积套现达146亿元。2017年-2018年公司股价最高点时,他套现金额多达73亿元。同被出示警示函的胡扬忠曾多次与其在同一时点价位减持。
目前龚虹嘉占股13.43%,是海康威视第二大股东,此外还是中源协和(600645.SH)董事长和富瀚微(300613.SZ)董事,并担任龚虹嘉还是科创板申报公司芯原股份董事。
胡扬忠是龚虹嘉的同学,与海康威视现任董事长陈宗年并称“海康三剑客”。目前,胡扬忠是海康威视的总裁,主管海康的实际经营;龚虹嘉是副董事长,也是海康的早期投资人。
截至今年1月10日,龚虹嘉累计质押股票5.94亿股,占总股本6.36%,占其持股比例47.33%。

3月18日,海康威视报29.00元/股,下跌0.07%。今年2月21日,公司股价曾攀上40元/股的高位,此后一路走低。野马财经注意到,龚虹嘉的上述质押目前未达平仓线,距离最近的是他1月8日质押的4900万股,平仓线为22.15元。
固态硬盘被质疑,新业务如何拓展?
前不久,有网友在网上爆出了海康威视的C2000系列固态盘存在虚假宣传、品质问题,C160疑似使用西部数据回收料等问题。B站UP主“VirtualMOD”上传系列测评视频引发热议,已有数百万点击率。
视频称其发现海康威视C2000系列固态盘存在虚假宣传,宣传采用的是东芝原厂颗粒,但实际上却是群联封装的东芝白片,且存在混用不同批次白片的情况,读写性能也远不及其宣传,此外还有疑似使用回收颗粒等问题。
2月13日,海康威视子公司武汉海康存储技术有限公司(下称“海康存储”)在通过其B站官方账号作出了C2000L 512G型号硬盘一赔三的承诺;但很快,海康存储相关负责人回应中国证券报记者称,海康存储没有买过或使用过任何西部数据回收颗粒。
固态硬盘并非海康威视倚重的业务,这起小小的风波对于3000亿巨头甚至谈不上“危机”。储存产品是否有问题尚无定论,但从财报来看,海康威视的资金周转和新业务拓展等状况值得注意。
据业绩快报,2019年度,公司实现营业总收入577.5亿元,比上年同期增长15.88%;实现营业利润137.2亿元,比上年同期增长 11.27%;归属于上市公司股东的净利润124亿元,比上年同期增长 9.21%。
这份成绩单看似不错,但将时间拉长,或者镜头推近,都有更多值得注意的状况。
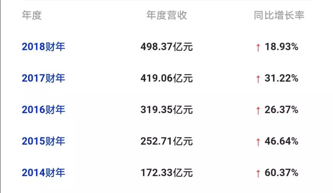
一方面,业绩增长速度出现下滑。2017财年尚有31.22%的营收同比增长率,到2018年降速至18.93%,最新的2019业绩快报数据进一步降到15.88%。当然,这和公司规模越来越大有一定关系。

另一方面,应收和存货上升幅度较大。
2019年三季报,海康威视的应收账款由去年同期的181.8亿元,增长到222.64亿元,而存货也由去年同期的57.98亿元,增加至98.45亿元。两项数据分别上升22.5%和69.8%。
海康威视董秘黄方红在电话会议中回应:“其实存货不是来解决实体清单的问题,存货解决不了这个问题,存货是为了给我们自己一点时间。因为物料的替代,是需要时间的……存货是为我们来增加从容应对的时间,如果存货用完了,那我们就用新方案呗。”
存货变多,回款变慢,海康威视的流动性自然会受到影响。事实上,从2018年中开始,海康威视的账面上总有超30亿元的短期借款,而2017年报中,这个数字只有0.97亿元。

短期借款剧增的情况下,公司新业务的拓展任重道远。据2019年中报显示,前端产品依旧占据营收半壁江山,简单来说,卖监控摄像头养活了半个公司。代表未来趋势的,可能性更大智能家居领域,只占营收5%不到。


在监控摄像头领域,海康威视依旧保持绝对优势,但如果不在人工智能领域大规模投入,则未来的竞争力可能不足;但如果大力发展人工智能,财务状况势或会承压。
野马财经就警示函和消费者维权等相关问题邮件联系海康威视,对方表示会在一周内回复,后续我们将持续关注。
电话会议中,海康威视回应:“关于创新业务,创新业务并不完全等同于智能化,海康以自身的技术储备为基础,投向了安防领域之外的产业,例如工业自动化、汽车电子以及智能家居领域。我们预期这些领域未来都会有比较大的发展空间,同时他们在底层技术上有共通之处,可以发挥出海康的技术储备以及行业优势。”
作为安防大白马,海康业务的储存硬盘业务对其财报影响有限,但在智能家居、云技术这些代表未来趋势的重要领域,海康威视又该扮演怎样的角色?海内外经营环境不断变化之下,公司的资金是否支持它向这些领域勇敢突破?
