记者 | 郑超前
苹果在可折叠设备的研发上有了新进展。
2月4日,据cnBeta.COM报道,苹果公司本周获得了一种“具有柔性显示器和铰链的电子设备”专利,其核心思想是允许将柔性显示屏弯曲到足以使设备对折的程度,但却不会使屏幕出现折痕。
这一构想或许可以有效地解决可折叠手机折叠部分的折痕问题。
2019年4月,三星首次推出了全球首款折叠屏手机三星Galaxy Fold,但在媒体的上手评测体验中,屏幕展开后折叠处的折痕清晰可见。而在手机的说明书和包装盒上,三星也明确强调内屏中央的折痕是手机的正常特性。这个问题在华为折叠屏Mate X上也同样存在。
一直到2019年11月,摩托罗拉正式发布了Moto Razr,采用了与三星完全不同的折叠部分设计,在屏幕两侧容纳铰链以便在手机折叠时为完美的折叠曲线留出空间,解决了折叠处的折痕问题。美中不足的是,设备在展开或折叠时则会发出吱吱的声音。

而今,苹果在可折叠设备的折痕问题上再次给出了一种解决方案。
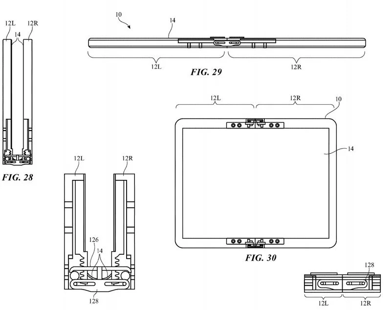
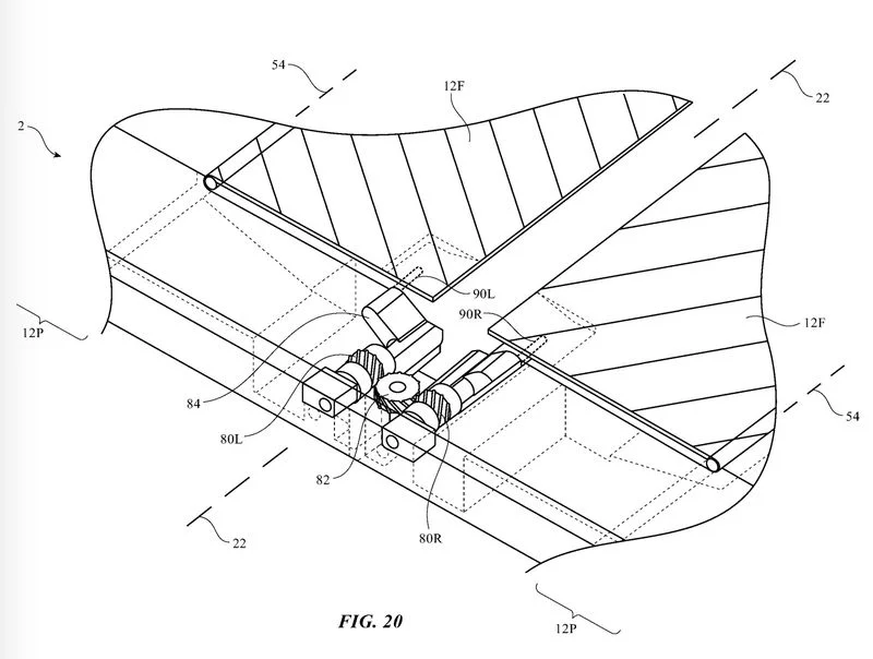
据专利文件显示,苹果设计的铰链机构可以让显示器的第一部分和第二部分充分分离。在内部,铰链可控制显示屏的移动,从而在铰链处弯曲,使用空隙部分为屏幕提供扩大弯曲所需的空间。机架和齿轮装置可用于保持外壳和显示屏与静态区域中每个折叠元件的距离,以及强制实现所需的弯曲半径。展开时,可伸缩的翻盖可以在内部延伸以支撑该位置的显示屏,因此,按一下手指不会影响屏幕的位置,也不会使屏幕疲劳,超出正常使用的范围。
尽管尚未推出任何可折叠设备,但苹果公司早就开始在这个领域进行多方面的研究。据patentlyapple报道,苹果在可折叠技术专利申请历史可以追溯到 2011 年,涉及了柔性显示器、铰链、控制电路等多项内容。
在技术成熟之后,苹果或许会在可折叠设备上再次给用户们带来惊喜。而据国外媒体此前的报道,可折叠iPhone在2021年推出的可能性较大,苹果公司或将先推出一款可折叠的iPad产品。
