记者 |
日前,天夏智慧(000662.SZ)再次公示其关注函。深交所就其控股子公司杭州天夏科技集团有限公司(下称天夏科技)破产清算事项,再次追加了11个问题。
公告称,天夏科技向江苏银行借款4800万元,由于借款期限届满未偿还债务被起诉。该案于2018年12月27日调节为天夏科技致富江苏银行借款利息,借款本金分期归还。但天夏科技再次失信。
子公司破产,为何可以引来深交所如此重视?
向前翻几年,那时天夏智慧的简称还是索芙特,主营化妆品的生产和销售。由于国内日化行业竞争激烈,公司2012年-2015年业绩整体出现下滑趋势,其中,2012年和2014年,天夏智慧甚至出售了子公司股权才实现盈利。
在此背景之下,2015年,天夏智慧决定进行战略转型,着力拓展在智慧城市产业领域的业务,构建智慧城市产业平台,形成公司新的业绩增长点。因此,天夏智慧于2016年非公开发行A股收购天夏科技100%股权,同年正式将证券简称变更为天夏智慧。

从转型角度出发,天夏智慧将天夏科技视为公司的未来。据公司审计报告披露,2016年-2018年,天夏科技实现净利润占天夏智慧净利润比重均接近甚至超过100%。其中,2018年,天夏科技净利润占天夏智慧比重高达178%。
因此,子公司天夏科技,是天夏智慧最重要的组成,也与其业绩息息相关。
然而,被寄予厚望的天夏科技最终却因无法归还4800万借款而破产清算,2018年尚可盈利过亿,如此逆转实在令人费解。
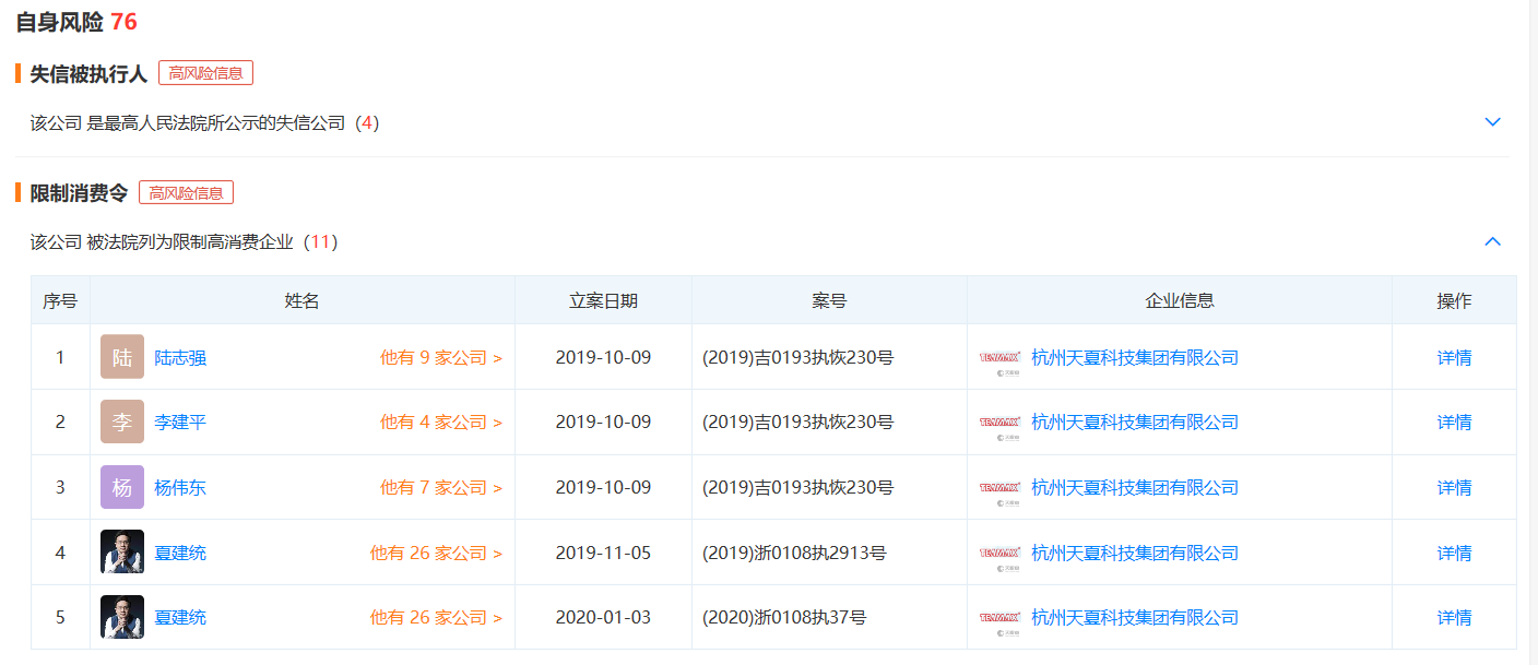
当然,天夏科技近两年似乎并不太平,官司缠身。据天眼查,天夏科技自身法律风险多达76条,据统计其中近90%均系2019年或2020年立案。同时公司高管已被法院列为限制高消费。
此外,因收购天夏科技,天夏智慧产生了33.46亿元的商誉,占2016年总资产的58.79%。2018年对天夏科技进行了商誉减值测试,预计2019年-2023年天夏科技销售收入增长率预计从26.87%下滑至1%,因此计提了1.05亿元的商誉减值。
但深交所似乎对天夏智慧的这份商誉减值测试并不满意,并对其发出了问询函。虽然天夏智慧在2018年计提了1.05亿元的减值,但截至2019年9月30日,账面依旧存在32.41亿元商誉,占公司总资产的43.5%。
截至2019年9月30日,天夏智慧实现净利润0.76亿元,经营活动现金净流量-1.78亿元。叠加天夏科技破产清算,32.41亿元的商誉全额计提减值,天夏智慧2019年的年报业绩应该十分“难看”。
追溯2016天夏智慧收购天夏科技时,截至2015年6月30日,天夏科技资产总额不足6亿元,实现净利润1.03亿元,但评估价值却高达43.99亿元,评估增值40.33亿元,增长率高达1103.71%。
索芙特进行战略转型,策略正确与否很难判断,但反观过往收购,天夏科技是否真的值得40亿元的增值?索芙特以天夏科技为杠杆,转型为天夏智慧,最终似乎并没有挽救公司颓势,反而埋下一颗33亿元商誉减值的风险。
当然,天夏科技带来负面影响并不止步于商誉和破产清算。
另外值得注意,2019年中准会计师事务所对天夏智慧出具了否定意见内控审计报告及控股股东及其他关联方资金占用情况的专项说明。
在否定意见的内控审计报告披露,天夏智慧存在未经董事批准的对关联方债务提供担保而涉及诉讼,且未及时履行信息披露义务,公司内部控制存在重大缺陷。
而在关联方资金占用情况的专项说明显示,报告期内天夏科技的股东系喀什睿康股权投资有限公司(下称睿康投资),睿康投资与公司存在非经营性资金往来333.34万元。据天眼查显示,睿康投资曾因“公示企业信息隐瞒真是情况、弄虚作假”被喀什地区工商局列入经营异常名录。
虽然,内控制度失控影响可大可小,但千里之堤溃于蚁穴,很小的失控亦可能会引发连锁效应。
