实习记者丨夏维兰
深圳老牌P2P投哪网宣布退出网贷行业。
1月14日晚,深圳P2P平台投哪网发公告称将良性退出网贷行业,此后将专注于催收回款与兑付工作,全力保障出借人权益,并承诺不跑路、不失联、不放弃。

界面新闻记者通过投哪网官方APP咨询客服,该平台人员表示,“由于2018年下半年起互联网金融行业发生严重波动,导致市场生存环境急剧恶化。投哪网基于平台运营成本的逐渐升高和行业整体前景的不明朗,经过慎重考虑,不得已决定依据国家政策以及地方监管部门的清退指引,尽快实现平台的良性退出。”

清退公告显示,投哪网平台将组织核心高管、聘请专业机构人员成立清退组,统筹负责良性退出工作。
自1月14日起,投哪网将停止出借人注册、开户、充值、出借、债转和计息等功能,也会停止与网贷业务相关的奖励、赠送和积分兑换等活动,并暂停网贷产品回款。

深圳良性退出程序主要包括以下步骤:(1)启动报备及接受指导;(2)成立清退组;(3)退出通知及债权申报;(4)对退出程序、相关组织设立及授权等重大事项投票表决(第一次重大事项投票表决);(5)清产核资和退出方案制定;(6)对退出方案等重大事项投票表决(第二次重大事项投票表决);(7)资产清收、处置及清偿;(8)退出程序终结及公告。

在清退期间,投哪网平台将尽量压缩成本,员工只拿基本工资,尽可能将资源集中于出借人兑付。但目前,投哪网的清退公告并未提及相关的兑付方案。投哪网客服向界面新闻记者表示,待兑付方案投票通过后,投哪网将按照方案回款。
投哪网表示,平台目前已停发新标了,但现在网贷行业整体逾期率上升、催收难度和催收成本增加、各法院又拒绝受理P2P的各类案件,导致贷后催收非常困难。资产端出现逾期后,出借人无法按期足额回款,提高偿付率以保障多数投资者利益。下一步,投哪网平台将会统一组织催收和兑付,一方面采取措施对借款人催收,一方面平衡各方利益提高整体的受偿率。”

根据《深圳市网络借贷信息中介机构良性退出指引》的有关规定,清退组应在成立后二十五日内,牵头制定出良性退出方案,方案应包含退出的背景及原因、清产核资基本情况、清退组名单、监委会名单、资产管理方案、回款及兑付方案、预计最低兑付比率、特殊群体关怀计划及风险处置应急预案、网贷机构、股东及关联方(如助贷机构、担保机构等)的责任和义务、常见问题说明、网贷机构承诺等。
其中,第四十三条还规定了退出方案的执行完毕原则上不得超过两年,其中网贷机构待偿余额在一亿元以下(含)的,原则上不得超过一年。
投哪网官网的数据披露显示,截止2019年12月31日,当前累计借贷金额611.18亿元,借贷余额26.17亿元,出借人数37,983人,这也就意味着投哪网必须在两年内执行完退出方案。
公开信息显示,投哪网(www.touna.cn)于2012年正式上线,由深圳投哪金融服务有限公司运营,主营互联网汽车金融业务,为有资金需求的借款人和有闲散资金的出借人提供信息搜集、信息公布、信息交互、借贷撮合等综合信息服务。

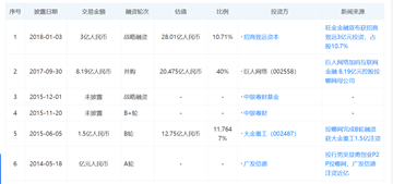
(图片来源:天眼查)
天眼查平台显示,2014年5月,投哪网获得广发证券全资子公司广发信德的近亿元投资。2015年6月,投哪网获得上市公司大金重工(002487)1.5亿元注资,完成B轮融资。2017年9月,巨人网络加码互联网金融8.19亿元控股投哪网。2018年1月,投哪网获得招商致远资本下属基金3亿元注资,完成战略融资。
2018年12月28日,经巨人网络公告及确认,巨人网络全资子公司将所持有的巨加网络51%股权,转让予上海兰翔商务服务有限公司。根据天眼查发布的工商资料,巨加网络是投哪网第一大股东,持股比例35.71%。此次转让完成后,巨人网络仍是投哪网重要股东之一。
