文丨华商韬略 徐艳丽
过去16个月,房企“生死簿”上划掉了750多个名字。
1、末路
2019年1月7日,南京市公安局鼓楼分局接到报警,幕府街道发生命案。
一名60岁左右的男子在住处上吊自缢。家属赶到现场,痛苦地拆开遗书。
“负债让我失去了信誉、失去了白鹭岛、失去了家……还得东奔西跑地漂泊躲债。”悲剧到来之前,几十篇长达数万字的日志早已传达出当事人对生活的苦闷绝望。
死,成了南京乡村大世界投资旅游实业有限公司董事长张旭东最终寻求的解脱方式。
过去几年,他因投资开发安徽白鹭岛地产项目,经历了从最初的千名购房者排队竞购的商业巅峰,到骤然降临的股东撤资、债主逼债、涉嫌非法吸储、被调查被拘捕等一系列重大打击。
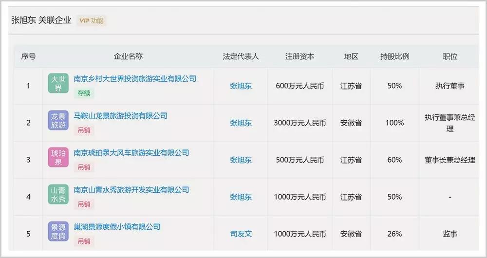
据企查查资料,由张旭东控股并担任法人的公司共有6家,清一色的旅游地产投资方向。除南京乡村大世界公司,其他几家皆已吊销。

▲图:来自企查查截图
在苏北农村长大、小学辍学下放的张旭东2000年开始创业,最初敦本务实,开发建设的内蒙古七星湖、南京八卦洲等小旅游项目虽然规模不大,但稳投稳赚,资金链无压力。
总投资4.8亿、占地4.2万亩的安徽来安县白鹭岛生态旅游区,是张旭东从业生涯中最大一次赌注,年近半百的他,很可能想凭借白鹭岛实现事业规模的一飞冲天。
“五年包租、十年回购”,“十年不花一分钱,做岛主、免费度假拿返利”……激进的营销噱头曾让白鹭岛在开业之初大赚眼球,一千多名买房者竞购的场面在小县城引起巨大震撼。
“南京最具价值旅游地产”、“南京房地产市场十大推动人”等荣誉纷至沓来,初尝巅峰滋味的张旭东不惜动用高利贷等一切筹资能力,疯狂砸进白鹭岛,而从白鹭岛获取的销售资金,又被用来投入镇江、马鞍山等接连上马的多个亿级项目。
地产暴富时代让最守成的商人变成最狂热的赌徒。张旭东喊着“成为华东地区旅游度假航母”的口号亢奋前进。
“5个锅盖盖7口锅”的玩法,最终让白鹭岛项目资金链在2013年崩断,近2亿到期债务无法偿付[1],轰鸣的开发现场骤然停工,度假村业主、投资人与高利贷债主一拥而上。
张旭东跑了,留下白鹭岛和马鞍山龙湾的一套套烂尾楼。
“这个要债的要绑我,那个要债的要杀我,女儿上学被人跟踪,债主上门辱骂恫吓年近九十的父母,妻子被逼的与我离婚,连家都不敢住,带着女儿东奔西躲地生活着……”
在QQ日志里,张旭东以3万多字记录着自己一步步走向绝境的心路。
2014年,背负多起债务诉讼的张旭东被马鞍山警方逮捕,以涉嫌非法吸储公共存款罪受审。
案件了结后,这位曾被包装为南京“刘老根”的创业者在罹患直肠癌的病痛和还债压力中艰难筹资自救。
“人言可畏,一旦企业进入困境,很少有人会来帮你,政府和社会对你另眼相看,员工的情绪发生波动,跟随我多年的老员工也纷纷离开了我。”

2019年1月,距离农历新年还有一个月,据传张旭东地产公司的几位老股东突然一次性全部撤资走人。[2]
1月7日,南京传来张旭东自杀的消息。
2、跌落
张旭东自杀刷屏这几天,浙江金华,女首富周晓光的公司成为被告。
因为一起股票质押回购违约,周晓光、虞云新夫妇及名下的新光控股集团被证券机构告上法庭,要求偿还本息及违约金合计8.21亿元。
这8亿多违约款在新光系400亿债务大山中不值一提。
新光集团,浙商金字招牌,覆盖地产、饰品、金融、互联网与高端制造等多个领域的中国民企500强,旗下拥有1家上市公司、近百家全资子公司及控股公司,总资产800亿。
周晓光,“最励志”浙江传奇女首富,创业剧《鸡毛飞上天》中女主人公的原型人物,从走街串巷的货郎女一步步登顶“饰品女王”、“珠宝女王”、“义乌小商品”代言人,2018年以220亿身家名列胡润中国富豪榜第139位。

在整个义乌乃至浙中,周晓光是女财神般的存在。
占地4.95万㎡、总投资60亿的浙中第一高楼义乌世茂中心,规划气派的江景豪宅、酒店式公寓、甲级写字楼,装修堂皇的香格里拉酒店、楼顶停机坪,全8打头的劳斯莱斯和200万+的迈巴赫……

▲图:义乌世茂中心
过去几年,周晓光以上市公司新光圆成等子公司为主力,在买买买和建建建的地产之路上狂飙。
收购万厦地产,入主新疆新天,从义乌到上海陆家嘴,从天池到三亚亚龙湾,周氏持股的酒店、楼宇、景区曾一度矗立四方。
为支撑超速疾驰的资本战车,新光系七年内连发12支债券,以债养债,拆东补西,所持有上市公司股份中超97%的股权质押殆尽,信用评级一降再降。
2018年,楼市降速,股债双杀,首富翻车。
是年9月,新光集团两只总额30亿元债券逾期暴雷,周晓光沦为失信被执行人;10月,新光集团所持全部上市公司新光圆成股份被冻结;11月新光圆成连续5个跌停,股价暴跌64%,股票因大面积违约被ST。
截至去年6月底,新光集团负债合计约468.98亿。
“我女儿走路走得太快了,她很想做大的,我早就叫她不要去搞那些东西了,做点小生意混口饭吃就很好了。”[3]
11位数字的巨债,对周晓光母亲、一位靠农村摆摊养大7个孩子的老人而言是个天文数字。
但她并不相信神坛之上的女儿女婿会一朝失势。
“义乌江边还有300多栋别墅没有开盘,新疆60多亿的投资还没盈利,千岛湖那边还有酒店,也有120多栋别墅……我们家的资产有四五百亿啊,资产一卖,这些就都是小问题了。”[3]
老人颇自信地说,这么大的企业碰到困难,政府也不会不管的嘛。
据时代周报披露,破产边缘的周晓光曾带儿子密集拜访江浙两省的民营大佬急求纾困,最终未有及时雨。
银行按兵不动,政府束手无策。在近年接连甩卖三亚海景酒店、义乌“新光壹品”等豪宅后,周首富那辆拉风的迈巴赫S600也不见了。
2019年4月3日,苦撑半年的新光集团及下属3家公司申请破产重整。义乌女财神神迹破灭。
3、踩踏
“债务危机发生以来,我一直在拷问自己,这些年在创业道路上的得与失,在重大战略判断上的成与败,在许多关键问题处理上的对与错。”
8月26日深夜,沉寂数月的周晓光发了一条朋友圈:她决意找回初心,回归当年靠“鸡毛换糖”式薄利多销一步步发家的新光饰品业务,打一场“绝地反击战”,让新光浴火重生。
“危机发生以来,各种艰难、困苦、责问、非议铺天盖地而来,我也曾经被压得喘不过气。”
周晓光是幸运的,新光集团基业尚在,义乌政府和当地人对这个财富偶像犹念在心,只要她站上台振臂一呼,几百上千名员工依然热血跟从。

▲图:新光饰品100天战役誓师动员大会
新光有一个输得起的退路:卖产重组,剥离不良业务,重回小商品制造业从头再干。
公司破产了,周首富还站得起来。
张旭东没有这种幸运。
“应该做的没做好,应该调整思路的却没调,总是认为自己所作所为都是对的,不去分析企业发展中存在的问题,而是盲目的贪大,求发展。”
即便他有再深刻严厉的自省,薄弱的实力和外部形势也无法给他指一条明路。
仅2019年来,国家已有超过15次针对房地产资金链收紧的政策,银行、信托、内债外债、私募等融资渠道全面封紧。
据《中国房地产报》调查,目前各大银行均已放缓对房地产类项目的信托融资,信托机构工作人员直言“现在基本是失业状态”,地产信托做不了,其他领域也不好转。
融资越来越难,去年11月,地产一哥恒大在香港发行18亿美元债,年化利率高达13.75%,高于银行利息近3倍。
房企极度缺钱,大鳄可以腾挪救急,小开发商只能伸腿瞪眼,“先走一步”。
成百上千的小开发商续不上粮,银行信贷收缩,拿地款融资通道被封,发债没资格,股权融资又没人要,私募基金、海外信托与民间借贷全都成本高涨,方方面面“紧箍咒”。
一条近乎相同的死亡路径如瘟疫般蔓延:
融资-拿地-扩张-政策收紧-债务违约-卖项目-破产。
4、清洗
据人民法院公告网数据显示,截至11月8日,今年已有至少430家房企申请破产。
时间轴再拉长,自去年7月至今,不到一年半时间里共计750多家房企倒闭、清算、资不抵债,平均每天倒下1到2家。

▲图:人民法院公告网截图
重灾区如广东,最多时一个月16家房企排队破产。由于破产案件太多,广州中院被迫装了全国首个“智能破产系统”。
“真正倒闭的不止这么多家”,建业集团董事长胡葆森在亚布力论坛上直言,很多房企虽然没有垮,但已经没有新增业务,“就是植物人状态,这种状态的企业已经成为多数了”。
前几年开着法拉利冲进楼市的富豪们现在大批裸奔出逃,连上市公司、百强集团都难逃铡刀。
宁波首富熊续强,民营500强银亿集团不堪400多亿负债重压破产重组,5万股民哭爹骂娘;厦门地产首富黄焕明,百亿上市房企明发集团停牌三年负债数百亿,董事长被限制消费上不了高铁。
上市8年的中弘股份因114亿债务被迫摘牌,董事长一度辞职避祸香港;净负债率247%的五洲国际旗下25间产业被强制拍卖,老板三天两头成为被告。
浙江女首富周晓光破产,江苏丰盛的季氏兄弟去年底深陷债务违约,佳源控股沈天晴今年初因频繁质押股权及企业负债率超八成遭机构做空,湖北首富阎志带领卓尔集团惊险转型,去地产化断臂逃生。
据长江商报统计,截至今年7月,170家上市房企负债总额或已突破15万亿。2015~2016年那一波融资狂魔、拿地飞虎队集中进入还款高峰期。
债务暴雷的,破产跑路的,被列为失信执行人的,入狱的,自杀的……越来越多企业跌入房企乱葬岗,上演着一幕幕对欲望、利益、人性与信用的大型踩踏现场。
“全宁波有460多家房产公司,今天还在的,不超过10家了。”炸雷的熊续强禁不住感叹,(地产公司)能顽强地活到今天,很不容易。
这句话严格点说应该是——中小地产公司还能活到今天的,太不容易了。
2019年10月30日,胡润研究院发布最新房地产企业家榜,榜单前十名地产企业家人均财富达到780亿元,比去年上升8%;top 50房企老板总财富超过1.5万亿,几乎达到历史最高值。

▲图:《2019斯维登集团·胡润房地产企业家榜》前15强
中小房企哀嚎的过去一年,龙湖吴亚军、融创孙宏斌、卓越李华等地产大佬皆实现50%~70%的财富增值。
强者恒强,碧桂园上半年每月狂赚38.4亿,万科平均每天花4.8亿抢地[4],今年前十个月,15家全国最大房企拿地面积是百强房企拿地总面积的一半。
中小房企批量赴死,超大房企骋嗜奔欲。业内预测,到2020年,前20强房企可能将会占据市场份额的60%以上。
十万地产商齐头暴富的和谐日子过去了。沉船上的小房企们发现,前十年天上掉的馅饼,最终都是诱饵。
可这对于仍在望房兴叹的人们来说,又意味着什么呢?
参考资料:
[1]《开发商避债失踪房子烂尾 近千业主可能血本无归》 南京晨报 2013年7月11日
[2]《南京一房企老板自杀身亡 知情人士:债务纠纷,心灰意冷》华夏时报 记者李贝贝、李未来 2019年1月16日
[3]《女首富告急》AI财经社 仉泽翔 2018年11月02日
[4]参照中国指数研究院数据
