文|新文化商业 Amy Wang
国民老公、万达公子、娱乐圈纪委、网红收割机、投资老总、电竞老板、综艺嘉宾……
刚刚王思聪又收割了一份法院终审给出的“被执行人”身份。

11月6日,中国执行信息公开网显示:11月4日,王思聪被北京市第二中级人民法院列为被执行人,执行标的151437840.0,约1.5亿。意思就是说,王思聪面临1.5亿负债, 需要在法院终审规定的缴纳期内还清欠款,否则将被列为“强制执行人”,也就是传说中的“老赖”。
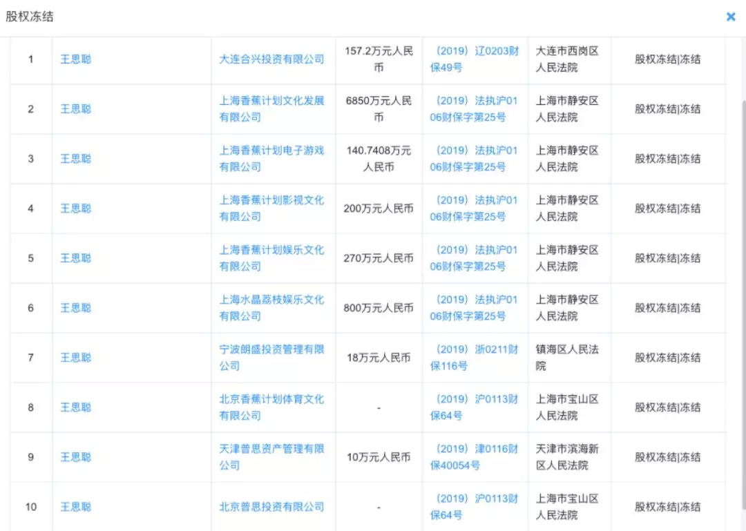
就在前不久,由王思聪担任董事长并持股100%的北京普思投资有限公司的股权遭到上海市宝山区人民法院冻结,具体冻结数额不祥,冻结日期自2019年10月15日起至2022年10月14日。
王思聪失败了吗?

“被执行人”事件是其继熊猫直播破产,再一次因生意上的事登顶微博热搜。而据多方消息,此次负债多来自于熊猫直播这次破产清算告终的个人投资。
据云合数据显示,截止今日,2019年王思聪在全平台共计登上100次热搜(微博、抖音、头条等),其中微博热搜60个,平均每周1.3个热搜。且与娱乐明星不同,王思聪的热搜基本上是实打实的自然流量,不用花钱。微博热搜内容多是关于私生活、个人言论及生意。
“我不算成功,只是起点比一般人高很多。”这是王思聪在一档综艺节目中对自己的剖析。
这句话的本质意思是,如果自己白手起家创业,不会有什么成绩。在这一点上,他还是证明了自己高等教育的修养,也能映射出他想在商界上施展更大抱负的野心。相比于同是80后,但白手起家的企业家拼多多掌门人黄铮和字节跳动掌门人张一鸣,王思聪当然与成功沾不上边。前者在胡润研究院发布《2019胡润80后白手起家富豪榜》中,以1350亿元排名第1,后者在同一份榜单以950亿元排名第2。
作为商人,刨开万达托底的资本,31岁的王思聪从哪个数据指标上看,都不算成功。但作为“顶流网红”,占据着高社会关注和媒体资源,他无疑是贫民大众眼里的成功人士。而对于首富之子的背景加持,又还算有胆识、聪明的王思聪来说,“微博设置半年可见”,半年内都没有发出任何一条微博,是其事业进入瓶颈期的明显信号,即使如此,其粉丝数仍高达4390万。

王思聪用了10年时间,学会了一件事:在社交渠道保持低调。放弃最主要的娱乐阵地微博,虽然构成投资事业逐渐坍塌后的最直接映射,但是显然还不够说明问题。
咋咋呼呼、风风火火之后的黯然首场,是回国后王思聪十年从商路的写照。其父万达集团董事长王健林曾提到王思聪时表示:“给他5亿,我允许他失败两次,第三次再失败,就回万达上班。”另外一次,他还对媒体说,“他还年轻,对中国社会还需要领悟。”
拥有军人背景、沉稳老练的王健林,选择尊重从小接受西方教育长大的王思聪的选择,给他最充分的发挥和试错空间,这是王思聪幸运的地方。而能对媒体说出“领悟中国社会”、“看眼色说话”的王健林,想必私下也不会少对王思聪说教。
王思聪是怎么红的?
王思聪自小就被送到国外,小学就读于新加坡瑞士村中学,中学与大学则就读于英国温彻斯特公学与伦敦大学学院哲学系。
20岁的王思聪从英国大学归来即担任万达集团董事,但不负责任何事务。至2010年,王思聪持有万达院线约1000万股。2009年,王健林对外声称拿出5亿元人民币让王思聪成立北京普思投资公司练手,不过七年后,在王思聪被外界狂赞“投资天才“,身家估值一度超过60亿时,却表示其父并未提供5亿那么多支持,“一次性也就500万、1000万的支持,鼓励创业”。
王思聪的创业路与他的网红之路是高度重合的。最早是因为炮轰大S汪小菲婚礼而“一夜成名”。

2011年4月,汪小菲母亲张兰为了平息“豪门婚礼”铺张浪费的传言,辟谣说和万达董事长王健林关系很好,酒店是免费赞助的。这时候,一个自称万达公子王思聪的年轻人,直接在网上炮轰张兰母子,并且要求对方出示捐款礼金的发票。
一夜之间,王思聪是首富独子的身份,被人熟知。
2013年因为骂自家出品电影《小时代》,彻底巩固了王思聪犀利不羁的富二代形象。这个广为流传的段子是这样的:王思聪发了一条微博:“《小时代》爱好者请主动取消关注。”有粉丝立刻跳起来说:“你以为电影院是你家开的吗?!”然后,左边的转发评论全部是:“还真是他们家开的。”
尝到甜头的王思聪,更加肆无忌惮拿院线电影开刀,一度成为商业院线的口碑风向标。即使万达电影为姜文《一步之遥》保底10亿,也还是没逃过自家公子的“没看过《一步之遥》的童鞋们,恭喜你们……躲过了这一劫。”,姜文因《一步之遥》获得的“票房毒药“名声到现在还没洗刷干净。此外,他还骂了乌尔善的《画皮2》、王家卫的《一代宗师》,陈凯歌的《赵氏孤儿》、张艺谋的《金陵十三钗》......

如果这些还不算,王思聪直呛范冰冰毯星,造词的文学功底让众网友再次惊叹于其“个性和才华“。在私生活上,高调结交十几任网红女友,丝毫不惧怕被狗仔拍摄,更是在公开场合和社交渠道将自己的奢华生活及崇尚奢华生活的态度一览无余展示给吃瓜群众。
不造人设、敢说敢做、洒脱随性……一切的一切,正是一个从小受西式教育、千亿市值唯一接班人该有的真实生活。他过得是亿万人分之一的生活,但不虚伪地接受了这种上天馈赠。
王思聪的红,在于他富得太接地气。
成也娱乐圈,败也娱乐圈
而王思聪的投资事业就是在兼做娱乐圈纪检委的同时,同步推进的。他擅于制造热点,同时也对娱乐产业热点有着高度的嗅觉,热衷于找到文娱领域最热门领域高调入局。
打脸张兰后的四个月,即2011年8月,王思聪收购CCM电竞俱乐部,成立iG电竞俱乐部,表示要“强势进入,整合电竞”。
2015年8月,王思聪成立经纪公司“香蕉计划文化发展有限公司“,同时签约韩国女团T-ara,大力发展女团。9月,王思聪在微博上宣布担任即将上线的视频直播平台熊猫TV的CEO,并启动融资计划。10月24日,王思聪担任中国移动电竞联盟第一届轮值主席。
2016年12月30日,王思聪与好友林更新成为一家名为“上海水晶荔枝娱乐文化有限公司”的企业的自然人股东,注册资金800万。
在娱乐领域,早在《偶像练习生》和《创造101》爆火之前,就已经展现出对男团、女团的投资决心了,这一点是聪明的,以《偶练》中的尤长靖和林彦俊为著名代表“作品”。而早前被王思聪看好的T-are女团则生不逢时,重金打造被王思聪寄予厚望,却遭遇国内“限韩令“冲击,努力付之东流。
而香蕉娱乐生在偶像经济崛起之前,但是与国内其他受限的经纪公司一样,不仅难以上市,还没有稳定的商业变现模式,艺人青黄不接,且流量艺人生命周期越来越短。

熊猫直播,发起于直播刚兴起,也是时间节点最好的时候,鼎盛的时候甚至被外媒报道称王思聪野心在于对抗亚马逊的Twitch。然而破产清算如当时的高调入市一样,来得快去得更快。据小道消息称,熊猫宣布破产清算时,日活仍在百万上下,流水在千万左右。
还有一笔大烂账是乐视体育,被认为是王思聪最重要的一次投资失利,王思聪当年投资1928万,占股比例为3.96%。然而不足一年,乐视体育擅自向其关联方乐视控股出借资金40亿元,引发各大投资金主们联手将乐视体育告上法庭,光普思投资一家就索赔9785.16万,随着今年5月乐视体育被吊销了营业执照,这笔巨款已成为“无头债”。

普思十年的投资偏好明显是随着王思聪个人偏好走的,文体永远是重头戏。事实上,随着被列为“被执行人”,被法院强制勒令还债,企查查显示,王思聪关联的55家公司中,已有10家公司股权被冻结,除了普思投资公司,5家均为香蕉计划的娱乐公司,1家为与好友林更新一起成立的荔枝娱乐。


上市公司少,变现困难,资金难以回收等等问题,让普思资本的问题集中爆发。
这其中王思聪最全情投入的娱乐圈,伤害他最深。
但是说到底,王思聪的命运受控于万达集团,他再怎么在文娱圈蹦跶,对于王健林而言也只是“一个半小目标”。
王思聪最鼎盛的时候是2017年,娱乐圈一线明星、导演即使被怼也不会撕的太过难看,而彼时正是万达市值巅峰时期,一度达到7000亿。2017年上半年,王健林还拥有200多个万达广场、十几个万达城、80家五星酒店、全球1300家影院、两家美国电影公司、一家英国游艇公司、上千幅名画、不断收购,海外扩张......
到了2017年下半年,万达集团被曝出很多问题。银行断贷、股债双杀、负债4000亿,布局多年的海外投资,因为海外投资指导意见出台,而难以继续深入等。王思聪的投资天才人设也随之破碎。
事实上,万达文旅和万达体育是目前万达转型后的最大的两个集团,动辄几千亿的投入,这也解释了王思聪为什么也将主要精力放在文体领域,但其与老爸的生意真是芝麻黄豆般存在。
王健林这样的企业家,只是掏出了一笔小钱给王思聪这位接班人当学费,相比于让其直接继承万达这样的巨无霸企业然后再碰壁而言,简直太划算了,因为万达经不起折腾。
负责4000亿和负债1.5亿一对比,王思聪心里应该放松很多,毕竟“他还年轻,还需要领悟中国社会”,大不了,重新来过,老老实实回家继承千亿家业。
