一直以来,人们都在寻找一种由人力驱动的、稳定,快速和高效节能的交通工具,让我们来看看这一切是如何开始的。
1790年代—开端

最早的由一人操控的两轮车长得像玩具,就是在固定的木框上放两个轮子。骑手要坐在木框上,然后拖动他的双脚才能向前走。
相传,这种两轮车是由法国手工艺人Médé de Sivrac发明的,但确切的发明者已无从得之。
这种工具有几个特点。首先,它缺乏稳定性,如果骑手两脚离地的话,他就会从车上摔下来。其次,它很难转弯。骑手要先下车把前轮抬离地面,然后才能转弯。同时,这样的动作要重复很多次,才能转好一个弯。就算是在地势不怎么崎岖的地方,这样的两轮车也很难前进。
1820年代—Velocifere


在说到这个发明前,我们有必要先了解一件事。1815年,印度尼西亚的坦博拉山(Mount Tambora)发生了火山爆发,于是,那一年的粮食收成很差,很多马因此饿死。
一个叫做巴伦·卡尔·冯·德莱斯(Baron Karl von Drais)的德国公务员希望能找到马的替代物。于是,他开始改进之前的两轮车,然后发明了后来被称作马形道具(Hobbyhorse)的自行车,别称是Draisene和Velocifere。这种自行车的速度可以达到每小时15千米。
它最重要的改进在于,发明者为自行车增加了一些接合处,使得前轮可以活动,后来还随着速度的提升增加了座椅靠背。不过,因为脚还是无法离地,这种工具骑起来依旧很颠簸。
1830年代—真正的自行车诞生

苏格兰铁匠麦克米伦(Kirkpatrik Macmillan)发明了真正意义上的自行车,像现在的自行车一样可以双脚离地行驶。
麦克米伦在自行车两侧放脚的位置边上加了控制杆。当一侧控制杆在车架上的时候,另一侧的控制杆会带动踏板。骑手只要踩踏板,自行车后轮的摇杆就会转动。这种自行车被称作Velocipede.
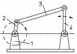
为了更好地了解它的原理,我们来看一下图示:

当4(摇杆)摆动的时候,2(曲柄)会旋转360度。
仔细看实体图你会发现,在中心靠近车轮的地方有一个黑色的部件,它通过线和手把相连接,这其实是第一个自行车刹车装置,因为随着速度提升,用脚来刹车显然变得更加困难。
1840年代—麦克米伦的失败

虽然麦克米伦的Velocipede是第一个真正意义上的自行车——骑手可以让双脚离地,自由穿行。但他在商业推广上却失败了——一辆自行车也没有卖出。大概是因为摆动双脚要比后来的旋转双脚要麻烦得多。
1870年代—米肖的Velocipede

在接下来的四十年中,自行车并没有得到很大的发展,直到一个名叫皮埃尔·米肖(Pierre Michaux)的法国铁匠改进了踏板。他在前轮中加入了踏板—曲柄装置。
米肖的自行车和现在小朋友用的三轮车很像。此外,它还有一个特别的地方——米肖使用的是铁框木轮,非常颠簸,导致用户们把这款自行车称为“ 振骨器”(Bone Shaker)。
在提到下一个发明前需要了解的一些理论:
改进自行车的下一个关键点是速度:
-
速度=行驶距离除以时间
-
行驶距离取决于前轮转动的数量。
-
每转动一圈,行进的距离等于车轮的周长,而周长又取决于轮子的直径。
所以,请读者务必记住,如果要增加行进的距离,可以用两种方法——要么是增加单位时间内的转数,要么是增加车轮的直径。 (很难同时使用两种方法,因为这样会增加很多重量。)
在骑车的时候,我们不只是需要骑得更远,也需要增加扭矩旋转力来增加牵引力,推动车的前进。
来做一个实验:
把你的自行车靠在墙上,用手旋转踏板,然后稳步增加转速。你会发现在一个阈值RPM(每分钟的转数)之后,你需要用到的力气减少了。这是因为在一定转速后,我们的手(或脚)就不用再供给同样的力气,它也能保持转速了。
在你最有力的时候,会产生最大值的RPM。如果是用脚蹬,使车轮旋转的话,RPM大概在50(每分钟转50圈)左右。
不过,将车轮速度保持在每分钟转50圈会让骑手非常不适,因为它造成了非常大的冲击力。
因此,我们只有一个选择,用加大直径的办法来提高速度 !

车轮周长的增加使速度得以增加,但也出现了一些问题。
19世纪70年代到20世纪初是高两轮车的时代。这是一个商业上的成功。高轮车可以达到每小时20英里(约32公里)的速度,比之前所有的设计都要快。但问题也随着车轮大小的增加而产生。由于它很大,重心就非常高,非常接近前轮。踩踏板或者转弯的时候,稳定性就不行。如果遇到了小石子或是突然刹车,骑手就会飞出去。
逐步靠近现代的设计:

一个叫亨利·劳森(Henry J. Lawson)的英国人解决了先前设计中的问题,并发明了新的自行车,名为Bicyclette,这种自行车很快就流行了起来,并被称作“安全自行车”(Safety Bike) 。
正如图中所示,前轮变小。同时,链条和齿轮替代了直接的动力传递。齿轮的速率能产生更高的RPM。
不久,一系列小但重要的改进也被加入到其中:两个轮子变成了大小相等、轮胎变成充气轮胎、车有了铃铛、切向轮辐代替了径向轮辐,以及其他的一些功能,使得自行车更加稳定和强劲。这才有了今天我们熟悉的自行车。

译者:高晟楠
· · · · · · · · · · · · · · · · · · · · · · · · · · · · · · · · · · · · · · · · · · · · · · · · · · · · · · · · · · ·
想要获取更多有意思的内容,请移步界面网站首页(http://www.jiemian.com/),并在微博上和我们互动,调戏萌萌哒歪楼菌→【歪楼-Viral】(请猛戳这里)。
你也可以关注乐趣频道的微信公众号【歪楼】:esay1414

