文|华商韬略 张津京
应收账款奇高的贵州百灵,终于在6月21日回复了深交所对其2018年年报的问询函。
1
贵州百灵2018年的年报粗看起来很美,尤其归属母公司的利润还破天荒过了五亿大关。
但稍微仔细研究,就会发现异常。
年报显示,2018年贵州百灵营业收入达31.37亿元,期末其应收票据及应收账款余额为23.40亿元,同比增长43.31%,占当期营业收入总额的74.61%。
也就是说,应收账款和票据占营业收入的七成还多。
对此深交所特发函询问,要求贵州百灵说明“应收款项余额大幅增加、周转率持续下降的原因及合理性。分析应收款项坏账准备计提的合理性和充分性。”
贵州百灵的回复函中对此解释是,因为随着两票制政策的全面推行,下游一级商业公司的数量增加,应收账款回款次数减少,周转天数增加成为行业共性。
但是,市场对此的看法可不像贵州百灵那么轻松。
中信建投投行部一位不愿透露姓名的投资经理表示,这样的年报数据一般基金都会认为该公司存在年终集中向渠道赊销压货,有人为拉高账面利润的嫌疑。
而北京某药代企业负责人表示,贵州百灵每到年中年底,都会向渠道压货。而为了完成销售指标,各级代理都接受下级药代的赊销。一般预付30%货款就行,甚至有时预付15%就可以提货。
因此有媒体评价,贵州百灵是一个建立在纸面财富上的股票。
究其原因,就是缺钱。
公开数据表明,2010至2018年三季度,公司累计实现归母扣非净利润28.82亿元,而经营活动净现金流累计仅为9.12亿元,尚不足利润的1/3。
如果不看第四季度账面收入情况,2018年前三季度根据财报数据显示,贵州百灵净现金流及经营活动净现金流持续为负,甚至亏损始终徘徊在4亿元左右。
而2017年根据年报数据,贵州百灵当年经营活动净现金流仅为0.80亿元,尚不足净利润4.98亿元的零头。
也就是说,贵州百灵2017年的流动资金结余仅有8000万元,这在一个年销售额超过30亿的大型药企不可想象。
所以,这两年年报发布后,贵州百灵都会收到深交所的问询函。
而广大股民关心的却是,钱去哪里了?
2
2010年之前,贵州百灵并不差钱。2010年上市后几年,其还能保持年平均20%的增长。
一切就从董事长姜伟提出打造年收入百亿的指标开始,慢慢变了味道。
先是2011年贵州百灵出手收购和仁堂药业,两年投入近亿元最终拿到了和仁堂80%的控股权,但截至收购完成时,和仁堂账面净资产只有2656.85万元,按照80%股权计算,这部分权益仅为2125.48万。
蹊跷的是两次收购的资产评估报告完全不同。两年时间,在和仁堂净资产仅增加1482.54万元的基础上,对其总资产的评估结果却从5420.0万元增加至13050.36万元,增长了7630.36万元。
一时引发诸多争议。
之后,贵州百灵这几年痴迷跨界投资。
先后给太子参项目投入资金1个多亿,胶原蛋白饮品项目投入近4个亿,肥料项目和GAP种植基地也投入巨资。
后来贵州百灵又把触角伸向了地产业。贵州百灵董事长姜伟分别持有贵州嘉黔地产和百灵地产各90%和97%的股权,并在贵州安顺投资10亿元打造五星级安顺希尔顿饭店。
甚至贵州百灵还投资了一个飞机制造项目,其主导成立的“祥和飞机公司”已经有了成型的试验产品,引进的还是巴西“阿莫特”机型。
……
但,频繁进行的大笔跨界投资,并没有带来巨额收益。
根据2018年贵州百灵年报显示,除中草药等主业之外,只有肥料和纯净水业务出现在统计表里,而且仅占总经营收入的0.3%。

或许是因为投入巨大却换不来收入的增长,贵州百灵的控股股东开始了频繁股权质押。
3
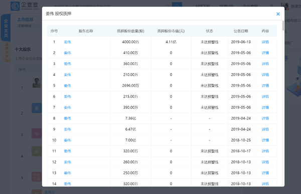
根据企查查数据,仅在2018年,贵州百灵的控股股东姜伟就发生了100次的股权质押,其中不乏有6亿股、7亿股这样超过自身持有80-90%股权的重磅质押行为。
而在2019年4月,姜伟超过7亿股的质押还曾爆出延期赎回,差点触碰到强制平仓的标准。

不光是贵州百灵的实控人姜伟,其排名二、三位的个人股东姜勇和张锦芬,也在同一时间段对股权进行质押,可以看作是核心控制人团队的整体行为。
根据企查查数据显示,截至2018年12月31日,贵州百灵的实控人姜伟及其一致行动人姜勇、张锦芬的未解除质押股权数量曾一度高达到其所持股份数的约97.5%,三位大股东的质押股权合计约占公司总股本的64.1%。
大股东偶尔股权质押,是上市企业正常操作。
但贵州百灵的大股东频繁股权质押,却是因为经营现金流出现问题需要资金周转,而为了赎回质押股权又必须挪用回归的现金流。
这样的事实重复发生,或许造成了每年到第四季度,为了财报好看,贵州百灵不得不向渠道压货,赊销产品,拉升账面收入和利润。
但年报数据好看了,必然会挤占第二年上半年的渠道销售金额和收入回款;而销售回款不及时,现金流还会出问题;为了维护企业正常生产经营,实控人不得不继续抵押股票。
这就是贵州百灵的资金怪圈。
这个曾经寄托贵州中草药产业发展期望的“苗药第一股”,现在看在接受政府方面的资金扶持后仍未能彻底纾困。
甚至2019年4月,旗下的和仁堂药业还因违反《药品生产质量管理规范》规定被收回了GMP证书,停止了部分药品生产。
毫不夸张,缺钱的贵州百灵已经到了异常紧急的地步。
——END——
图片均来自网络
版权所有,禁止私自转载!
