中诚信投资集团有限公司跃升为安心财险的第一大股东。作为保监会首批四家互联网保险公司之一,安心财险跟红红火火的众安保险相比,发展一直“不温不火”,此次增资能否给安心财险带来扩张的“生机”?
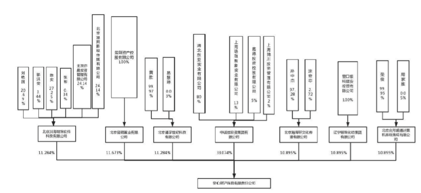
安心财险称,此次增资基于公司2018年发展战略,拟增资2.85亿元人民币。经股东会同意,中诚信投资集团有限公司向公司增资2.85亿元,公司注册资本金将由人民币10亿元变更为人民币12.85亿元。增资完成后,中诚信投资集团有限公司的持股比例由14%变更为33.074%,成为第一大股东。新的股东结构如下图所示:

据界面新闻了解,作为第一大股东的中诚信投资集团有限公司,旗下除了安心财险外,还有一张地方保险代理牌照。但相比其他几家互联网保险公司的股东优势,安心财险优势并不显著。
据接近安心财险人士分析,安心财险的此次增资一是为业务发展,二是为日后引入战略股东做铺垫,都是为了让安心财险摆脱偿付能力“掣肘”而加速发展。
据银保监会近日公布的2018年1-9月保险业统计数据显示,前三季度四家专业互联网保险公司实现原保险保费收入64.64亿元,同比增长133.77%。其中,安心保险增速最高,达229.1%。虽然整体增速领先但发展势头仍然和众安保险、泰康在线有很大差距。
成立于2015年年末的安心财险拿下了四张互联网保险牌照之一,经营范围包括了与互联网交易直接相关的企业、家庭财产保险、货运保险、责任保险、信用保证保险、工程保险(仅限家庭装修工程保险)、短期健康保险、意外伤害保险;机动车保险,包括机动车交通事故责任强制保险和机动车商业保险;上述业务的再保险分出和再保险分入业务(仅限临时分保分入);国家法律、法规允许的保险资金运用业务等。

2016年其保费收入居前五位的险种分别是家庭财产险、意外伤害险、保证险、责任险、健康险;自2017年1月1日至2017年12月31日期间,保费收入(不含分保费收入)居前五位的险种分别是机动车辆保险(含交强险)、保证险、意外伤害险、健康险、责任险。
安心财险前三季度的数据显示,其保险业务收入为6.29亿元,净利润为负的8019.2万元。截至三季度末,安心财险的综合偿付能力充足率和核心偿付能力充足率均为139.78%。
此前,安心财险曾因延迟披露偿付能力信息而备受关注。

据界面新闻了解,安心财险主要布局健康险和车险两条业务线,作为新型的中小互联网保险公司,安心财险一边意欲和巨头合作打造创新型产品、另一边则积极布局车险业务拉升保费,“两条腿”驱动向前。而“两条腿”中,明显车险是安心财险的主要布局方向。一获批车险经营资格的安心保险即首先在北京、广东、深圳三地试点铺开,产品上线、用户体验、自建理赔服务中心,安心财险最开始火速推进了其车险的布局公开数据显示,安心互联网车险新增13个省市已全部完成业务系统对接。
但有众安保险在车险并不成功的尝试在前,互联网保险公司究竟如何撬动车险的大蛋糕又能做出何种改变仍值得关注,而车险业务的进程亦直接关乎整个安心财险向前推进的步伐。
