作者:哈麦
今年A股熊市磨底,可能很多人都站在半山腰上不知如何是好了。能消磨时间、平复心绪的,就是往上看看,是不是还有比我站的更高,套的更牢的。这么一想,或许能多一些安慰。
其实啊,在这样的行情中,别说你是普通韭菜,就连一些曾经有条件拿便宜股份的人,如今都套牢了。说大家都认识的一个,最近刚因私生活被曝光火过一波的吴秀波。
他出事儿后,好事者把他扒了个光。很多人才知道,原来波叔不光爱女人,还爱钱,玩资本游戏那是很有一套。名下不少公司,包括持股两家上市公司。看起来很厉害呀。

不过呢,波叔相比其他在资本市场风生水起的明星,还是有点悲催。
就拿入股的这两家上市公司来说。一家幸福蓝海,波叔入股的可是非常早了,还没上市的时候,就已经是股东了,而且是第六大股东。但是因为自己在一年限售解禁前就把股份全部质押出去了,没在高点套现,所以,一直拿到现在,套着。同时,还要背负高息的质押贷款。另一家当代东方,入股的时候正是股市牛市最好的阶段,但是因为有三年限售期,到点了,结果碰上了最差的时候。而且,因为是委托资管公司打理,没法自己自由离场。

按目前的股价算,加上背负贷款的利息,波叔在两家上市公司的亏损合计预估在2300万左右。虽然对明星来说,不算多。但是,那么好的资源,炒股还亏了,说起来也是挺背的。
两次“空手套白狼”,结果把自己套住了
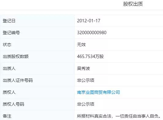
吴秀波早在幸福蓝海2011年底增资扩股时就进入,当起了股东兼签约制作人。根据幸福蓝海2014年5月首次披露的招股书,当时吴秀波以4503.84万元认购了465.7534万股,占总股本的2%。每股股价9.67元。

这4503.84万元种,503.84万元为自有资金,4000万元为借款。
这4000万是吴秀波把他2%的幸福蓝海股份质押给了南京业图商贸有限公司贷来的,签订《股权出质合同》的时间是11月29日。幸福蓝海引进战略投资者获江苏省财政厅批准的时间是12月20日。还没到手的股份马上质押贷款,贷的款来付买股的钱。也就是说,吴秀波其实是玩了个“空手套白狼”的游戏。

2016年8月8日,幸福蓝海上市,每股发行价6.62元。吴秀波仍持有465.7534万股,占总股本的比例被稀释为1.5%,为第六大股东。
2016财年,幸福蓝海就进行了分红,分红后总股本从3.11亿增加到了3.73亿,吴秀波的持股也由原来的465.7534万股增加到了558.9041万股。

按规定,吴秀波的股票限售期是一年,2017年8月8日后就可以卖股票套现了。但吴秀波却没有,一直持股至今,持股数没有丝毫变化。
难道他不缺钱吗?并不是。
其实从幸福蓝海2017年第一季度报告就能看到,吴秀波把全部股份都质押了。
个人股东股权质押,无外乎是贷款用,一般来说,最高能贷到股票票面价值75%的钱。2017年第一季度,幸福蓝海的股价在24元上下浮动,558.9万股价值约1.34亿,如果按最高75%比例贷款,能贷到1亿元。但股票仍在。又是“空手套白狼”的一招。

不过,这只是一个说法,狼哪有白套的。不论是上市前的质押贷款,还是上市后的再次质押贷款,都是要付利息的。至于利率,浮动范围可以很大,可能在5%-15%之间,是双方相互协商的结果,不好猜测。但是一般来说,年利率基本在8%上下。
吴秀波的第一次4000万贷款不知最后贷了几年还清的。如果按三年还清,年利率8%这样粗略算,每年利息320万,三年就要960万。
第二笔贷款,根据幸福蓝海2018年上半年财报,股份至今还在全部质押中。如果是按最高1亿贷款,8%年利率算,每年利率800万。贷款期可能已超过了一年半,利息超过1200万。

而一旦质押,如果没有赎回,股票是不能卖的。如果质押的股票因为股价下跌太多触及平仓线,再不补充质押,质权人是有权进行强制平仓或做其他处理的。
如今幸福蓝海股价9.16元(截止2018年10月23日收盘价),吴秀波558.9万股价值不到5200万元。

而算上他当初4504万元的认购款,两次质押可能产生的利息,按以上计算方法和时间,总投入预计已经有6700万。
而如今股市处在熊市,即使政府喊话救市大盘狂拉了两天,但很难确定就熊转牛了。是反弹还是反转,没人能说得准。吴秀波还要套多久,质押的股票有没有钱赎回,还要背多长时间的利息,是不是会遭遇爆仓危机,都不好说。
曾组团买股票,如今上市公司危机重重
入股当代东方是另外一种方式。
2014年9月,当代东方非公开发行股票,南方资本-当代东方定向增发专项资产管理计划出资5.5亿元认购了5092.6万股,占总股本的12.96%,为第二大股东。认购价是10.8元/股,限售期36个月。当时《公告书》预计的可上市流通时间为2018年6月12日。

而吴秀波和编剧宁财神(原名陈万宁)、时尚界大拿苏芒、导演李少红的荣信达、导演唐季礼等成了这个资管计划的委托人。其中,吴秀波认购出资金额1506.15万元。也就是说,这些影视圈名人出钱,委托南方资本来打理这次入股,而不是自己亲自操作。

吴秀波的1506万元折合139.46万股。占5.5亿总金额的2.738%。
2015财年,当代东方向全体股东每10股转增10股。南方资本-宁波银行-当代东方定向增发专项资产管理计划对当代东方的持股数变更为1.0185亿股。根据2018年上半年的最新财报,其持股占总股本的比例为12.87%。

当代东方今年跟所有影视传媒股一样,都经历了一轮暴跌。从最新的持股比例和解禁时间(有信息显示是8月13日)看,南方资本资管计划仍在持仓。在目前的股价位置,套现出走也不太合逻辑。

截止10月23日收盘,当代东方股价5.07元。南方资本资管计划所持有的1.0185亿股价值约5.16亿,比三年多前入股时的5.5亿缩水了近3400万。

吴秀波1506万元的投资账面价值缩水了93万。这1500多万要是自有资金还好,如果也是通过借贷得来的,背着高息的话,损失又更多了。
更要紧的是,当代东方这家公司今年来不断有负面爆出,比如控股股东股权过度质押、股权被司法冻结、陷入理财纠纷、全资子公司涉及诉讼、重大资产重组案受阻、高管辞职,等等。可以说,有很多雷需要排。这样的公司,在熊市里,股价要起来,让投资人获利离场,真是难上加难。
