马自达转子发动机要复活了。
根据马自达官方透露的消息,这家日本汽车制造商将在2020年推出一台增程式混合动力车,其中,转子发动机的作用是为这台车上的储能电池供能。
马自达“2030规划中”提到,到2030年,增程式混动车和纯电动车在内的新能源车型将占据其销量的5%。而其它车型也将逐渐搭载包括插电式混动在内的电气化系统。
长期以来,马自达始终坚持从优化内燃机效率的角度降低碳排放。但马自达株式会社社长小饲雅道表示,全球各地区越发严苛的法规让他们不得不考虑电动化。
不过,即便要走和其它制造商一样的电动化独木桥,马自达也希望另辟蹊径。
“转子发动机结构紧凑、性能强大并且运转时很安静,它对电动化车型来说十分合适”马自达内部这样认为。


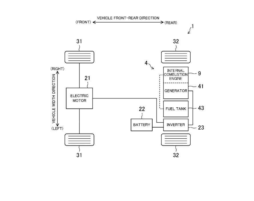
实际上,今年3月份马自达就申报了一项专利,该专利是一款前驱布局的增程式混合动力系统。专利图显示,电动机被布置在了前桥,电池组被布置在底盘中部,而转子内燃机、发电机、油箱及逆变器则被布置在了车身后部。
在电池组电量不足时,这台转子发动机将点火运转、带动发电机发电,电能通过逆变器输入电池组,实现为电池组充电的目的。
虽然奥迪在2011年也推出过搭载转子发动机的A1 e-tron混合动力概念车,不过显然,这有点班门弄斧的味道。
马自达在41年前就推出了转子发动机,并用搭载它的787B赛车赢得了1991年的24小时勒芒赛桂冠。不过由于技术、法规、销量等原因,2012年推出的RX-8是转子发动机的绝唱。
虽然眼下转子发动机“复活”了,但在马自达社长小饲雅道看来,这有点主角变配角的味道。“希望有一天我们能够将转子发动机再次作为一款车的主要动力来源而不是作为附属能量补给站”他说。
