记者:张韵 实习记者:张潇尹 编辑:王嘉琦
今天,中国的芯片行业迎来了好消息。
首先,美国商务部发布公告,暂时、部分解除对中兴通讯公司的出口禁售令。
但同时,美国的芯片行业却得到了一个坏消息。
周二(7月3日),福州市中级法院裁定对美国芯片巨头美光科技(Micron)发出“诉中禁令”,其部分闪存SSD和内存条DRAM将暂时禁止在中国销售。
美光科技的实力有多强大?你也许还不熟悉。但去年内存条价格疯涨,你应该有所耳闻。

有人认为,这一波涨价就是三星、美光科技以及海力士三家新品公司主导的。因为,这三家公司占据了全球DRAM内存芯片市场96%的份额,其中,美光科技一家就占了23%左右。
福州中院:美光立即停止销售部分产品
7月3日晚间,福建省晋华集成电路有限公司(以下简称“福建晋华”)在其官网发布消息称:
福州市中级人民法院今日(2018年7月3日)裁定,美光半导体销售(上海)有限公司立即停止销售、进口十余款Crucial英睿达固态硬盘、内存条及相关芯片,并删除其网站中关于上述产品的宣传广告、购买链接等信息。
同时裁定,美光半导体(西安)有限责任公司立即停止制造、销售、进口数款内存条产品。


公开消息显示,今年1月19日,福建晋华对美光科技侵权行为提起诉讼,请求赔偿金额达人民币1.96亿元。昨天,福建晋华表示:
晋华的专利已于2009年及2012年获得授权并向外界公布,而美光在未经合法有效授权也从未知会下使用涉案专利;
其次,明知此前热销的MX 300固态硬盘存在侵权疑虑,仍继续在目前热销的主流产品MX 500系列固态硬盘上延续使用侵犯晋华专利的技术方案。
再者,美光对晋华造成不可弥补的伤害:美光公司在2017年年报中披露,其中国区的销售额高达104亿美元(约合人民币689亿元),因本案侵权产品具有使用的广泛性与长期性,晋华无法禁止已售侵权产品在千家万户的继续使用,对晋华已造成持续且巨大的损害乃至伤害。
基于美光的侵权行为在案件审理过程仍在进行,对晋华造成不可弥补的伤害也在持续,因此晋华向法院提出申请,要求美光立即先行停止侵犯涉案专利权行为。
每日经济新闻(微信号:nbdnews)记者致电福建晋华,福建晋华方面称,公司领导均在外出差,相关诉讼情况及后续进展将在公司官网及时发布。
法院要求美光“先行停止”侵权,也叫“诉中禁令”。
诉中禁令,又称为诉中行为保全。指在提起诉讼但并未宣判的过程中,法院责令侵权人停止有关行为的措施。法院有权依照一方当事人请求,采取及时有效的临时措施,以防止迟误可能给权利人造成不可弥补的损害或者证据被销毁的危险。
同一时间,半导体晶圆企业台湾联华电子也在其官网发布了该消息:

福州市中级人民法院发布先行禁令,美光半导体销售(上海)有限公司和美光半导体(西安)有限责任公司立即停止在中国销售包括固态硬盘在内的PRC 26 DRAM和NAND相关产品。
台湾联华电子的联合总裁表示:
台湾联华电子对法院的裁定表示欢迎。台湾联华电子在知识产权方面投入巨大,对损害知识产权的公司,台湾联华电子会全力追责。
2018年1月,台湾联华电子起诉美光侵权。
去年12月,美光起诉福建晋华和台湾联华电子
据路透社报道,美光方面表示,“美光尚未收到台联电和福建晋华在7月3日声明中提到的初步禁令。”
美光表示,在评估来自福州中级人民法院的文件之前,公司不会对此置评。
7月4日,每日经济新闻(微信号:nbdnews)记者试图联系美光方面询问其态度,美光半导体销售(上海)有限公司接线的工作人员在听取记者的采访请求后表示,“这个星期公司法务在休假,所以没有人可以回应这个问题。”而美光半导体(西安)有限责任公司工作人员向记者表示:“西安公司没有对外的业务,不接受采访,这里只主要负责生产制造。”

福建晋华、台湾联华电子与美光围绕专利问题的纠葛为时已久:
2017年12月,美光在美国加州指控台湾联华电子和福建晋华盗用了自己的内存芯片技术。
美光指控称,美光的两位前员工通过闪存盘盗取了公司的技术资料,然后交给了新东家联华电子公司的高管,而联华电子也计划和福建晋华集成电路公司分享这些技术。
联华电子否认了美光科技的指控,表示并未侵犯第三方公司的知识产权。
值得注意的是,2016年5月,台湾联华电子与福建晋华签约合作,台湾联华电子将接受福建晋华委托,开发随机存取记忆体(DRAM)相关制程技术。由晋华公司提供DRAM特用设备,并依开发进度由晋华公司支付联电技术报酬金作为开发费用,开发成果将由双方共同拥有。
美光布局中国
美光科技和中国市场渊源颇深。
2015年7月,清华紫光曾向美光科技发出了价值230亿美元的收购要约,如果收购成功,将创下中资对美国企业最大收购案。但随后,美光驳回了收购提议,据报道,这可能是由于美国外国投资委员会认为,外来投资公司收购敏感企业会影响美国国家安全。

尽管没能被中国企业收购,但美光在中国的布局并没停止。
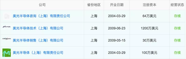
每日经济新闻(微信号:nbdnews)记者查询天眼查发现,目前,美光科技在上海有4家公司,在西安有一家公司。


而且,早在1997年,美光科技就在台北建厂。目前,在桃园和台中,美光科技都有晶圆制造厂。
2013年7月,美光科技以2000亿日元,完成了100%收购日本尔必达公司,以及尔必达持有的台湾瑞晶电子65%的股份。在此之前,美光已经跟力晶电子(Power Chip)达成协议收购24%的瑞晶股份,这样美光合计控股了瑞晶电子89%的股份。
2015年12月,美光科技还宣布,以32亿美元收购其尚未持有的台湾华亚科技剩余67%股份。至此,华亚科技成为美光科技全资子公司。
扩展后的美光科技,成为了芯片巨头,其力量已经足以影响市场。目前,三星、美光以及海力士总共占据全球DRAM芯片市场份额的96%。其中,美光科技就占了23%。

去年以来,全球内存条价格大涨,给下游的手机和电脑厂商造成了巨大的压力。今年4月底,三星电子、海力士公司以及美光科技被美国消费者告上法庭,起诉理由是,这三家公司串谋起来,限制DRAM内存芯片供应,以抬升内存价格。
几大寡头之间形成价格联盟,在2000年期间曾经出现。2000年,三星、海力士、英飞凌、美光等企业刚刚经历过扩产,DRAM价格跳水。但其后,DRAM价格在市场并未起色的情况下又迅速反弹,半年时间价格涨幅超过300%。这一情况引起美国司法部注意,2002年美国司法部向美光、三星、海力士、英飞凌等公司发出传票,控告其价格垄断行为,并于随后启动调查。
最终,美国司法部对相关企业处以7.31亿美元罚款,是当时美国历史上第二大反垄断罚款。
目前,作为全球三大内存供应商之一的美光科技有接近50%的营收来自中国市场。因此,一旦其部分产品在中国禁止销售,或将对公司业绩构成重大打击。
受此负面消息影响,美光科技股价当日大跌,盘中跌幅逾6.3%,收盘跌5.51%,领跌美国科技板块。恩智浦收跌1.77%,高通收跌1.51%,英特尔收跌1.41%,博通收跌1.14%,AMD收跌1.06%,微软收跌0.96%。
