文:张超
在重新搭建VIE结构后,喜马拉雅FM的上市日程也终于公开了。
5月25日,在私享桥主办的中国新时代企业家论坛上,证大集团创始人、董事长戴志康在演讲时表示:“2011年,我们投资了喜马拉雅FM,(是)我们投资孵化互联网的独角兽,今年已经估值200亿,明年希望能够进入国家A股上市,正在做这样的准备。”
针对此消息,喜马拉雅FM联合创始人兼联席CEO余建军向全天候科技回应称:“(消息)不属实,没有任何IPO安排。”
此前,喜马拉雅FM还被曝融资40亿美元。根据青岛城市传媒股份有限公司(以下称“城市传媒”)5月10日发布的公告显示,城市传媒将以不超过4000万美元的公司自有资金认购Grand Everlasting Limited Partnership(以下称“美元基金”)。
该美元基金将投资国内某移动互联网音频行业企业(以下称“标的公司 ”),预计间接占据标的公司1%左右的股权。据此计算,喜马拉雅FM的估值或将达到40亿美元(约合254.64亿元)。

有业内人士向全天候科技透露,该标的公司确为喜马拉雅FM,此举是喜马拉雅FM想重新搭建VIE架构,把前海兴旺等国内老股东“翻出去”,然后在香港上市。但当时喜马拉雅FM公关人员表示:“不知情。”
企查查信息显示,上海证大投资发展有限公司(即“证大集团”)为上海证大喜马拉雅网络科技有限公司(喜马拉雅FM运营主体)第二大股东,持有后者10.36%的股份。

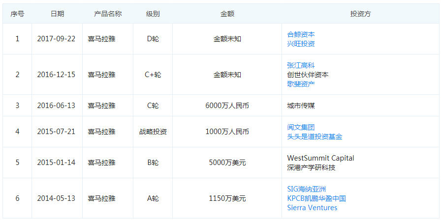
公开资料显示,喜马拉雅FM是国内音频分享平台,2013年3月上线手机客户端。目前,喜马拉雅FM已完成6轮,最近一次发生在2017年9月。

据喜马拉雅FM副总裁李海波透露,截止2017年9月,喜马拉雅FM的用户量已经突破4亿。它也成为国内发展最快、规模最大的在线移动音频分享平台。
今年4月,数据挖掘和分析机构iiMedia Research(艾媒咨询)发布的《2017-2018中国在线音频市场研究报告》显示,2018年1月中国在线音频渗透率(App活跃用户数/全网用户规模)排行榜中,喜马拉雅FM以5.12%的渗透率排名第一,继续领跑中国在线音频行业。

演讲中,戴志康还表示:
“喜马拉雅FM平台已经成为了一家最大的音像出版、最大的咨询教育平台,今后也是最大的互联网企业,因为我们的终端不只是手机终端,我们希望是万物有声,所有的玩具家具车子都是我们的终端。”
